GM Service Manual Online
For 1990-2009 cars only
Makes
🢒
Oldsmobile
🢒
1998
🢒
LSS
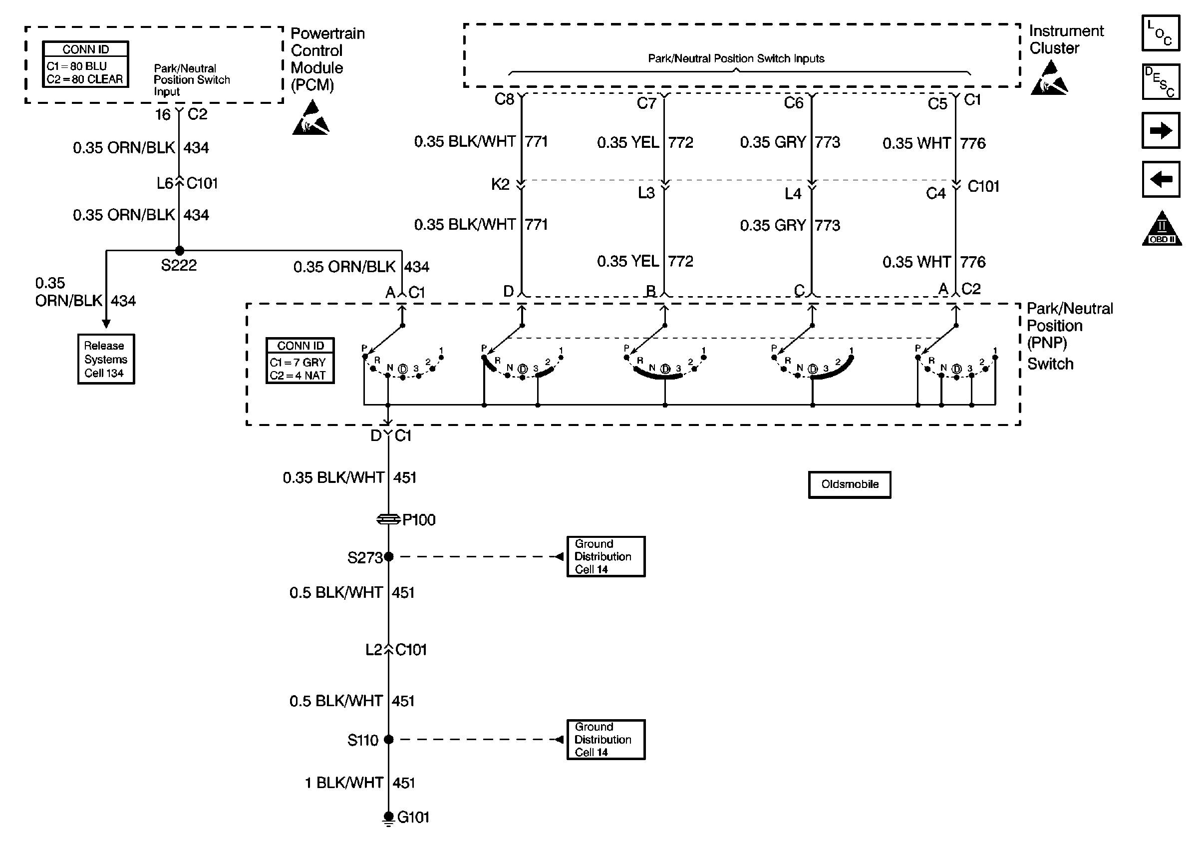
🢒 Cell 20: PNP Switch (Trans Range)
Cell 20: PNP Switch (Trans Range)
Cell 20: PNP Switch (Trans Range)
Engine Controls Components
Powertrain Control Module Description
Cell 20: Transaxle - Solenoids
Cell 20: Cooling Fans
OBD II Symbol Description Notice
Handling ESD Sensitive Parts Notice
Handling ESD Sensitive Parts Notice
Engine Controls Schematic References
Engine Controls Schematic References
Engine Controls Schematic References
Powertrain Control Module Connector End Views