GM Service Manual Online
For 1990-2009 cars only
Makes
🢒
Oldsmobile
🢒
1998
🢒
LSS
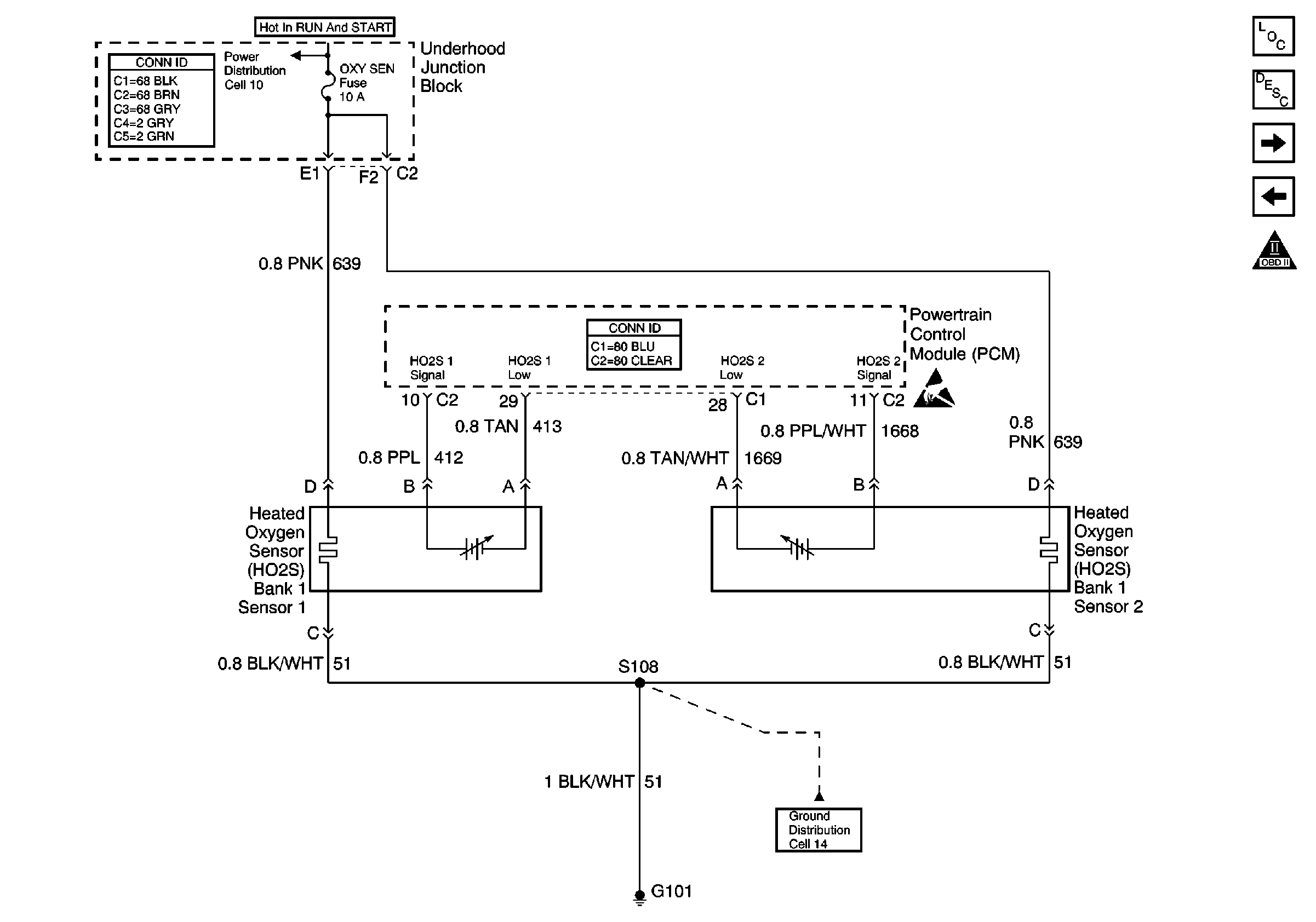
🢒 Cell 20: Engine Controls - PCM HO2S 1 and 2 Control
Cell 20: Engine Controls - PCM HO2S 1 and 2 Control
Cell 20: Engine Controls -- PCM HO2S 1 and 2 Control
Ground Distribution Schematics
Power Distribution Schematics
Engine Controls Components
Powertrain Control Module Description
Cell 20: Engine Controls - PCM Cruise Control Module and VSS Control
Cell 20: Engine Controls - PCM MAF, IAC and KS Control
OBD II Symbol Description Notice
Handling ESD Sensitive Parts Notice
Powertrain Control Module Connector End Views
Power and Grounding Connector End Views