GM Service Manual Online
For 1990-2009 cars only
Makes
🢒
Oldsmobile
🢒
1998
🢒
LSS
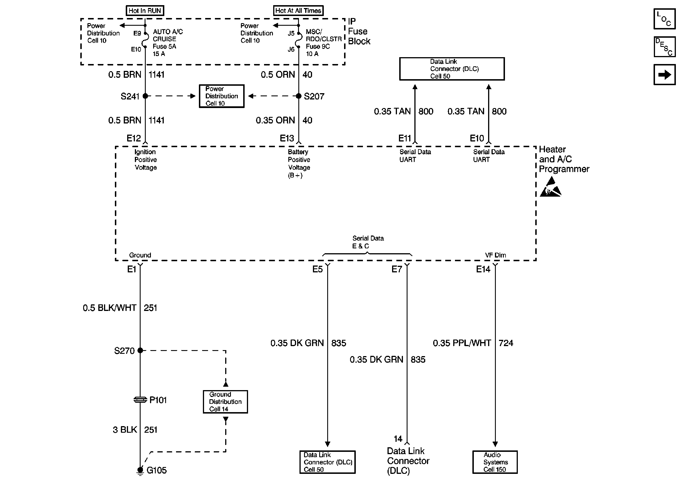
🢒 Cell 68: IP Fuse Block, DLC - Oldsmobile
Cell 68: IP Fuse Block, DLC - Oldsmobile
Cell 68: IP Fuse Block, DLC -- Oldsmobile
HVAC Components
HVAC Temperature Controls Circuit Description C68
Cell 68: Heater and A/C Programmer - Oldsmobile
Data Link Connector Schematics
Power Distribution Schematics
Power Distribution Schematics
Power Distribution Schematics
Ground Distribution Schematics
Data Link Connector Schematics
Radio/Audio System Schematics
Handling ESD Sensitive Parts Notice