GM Service Manual Online
For 1990-2009 cars only
Makes
🢒
Oldsmobile
🢒
1998
🢒
LSS
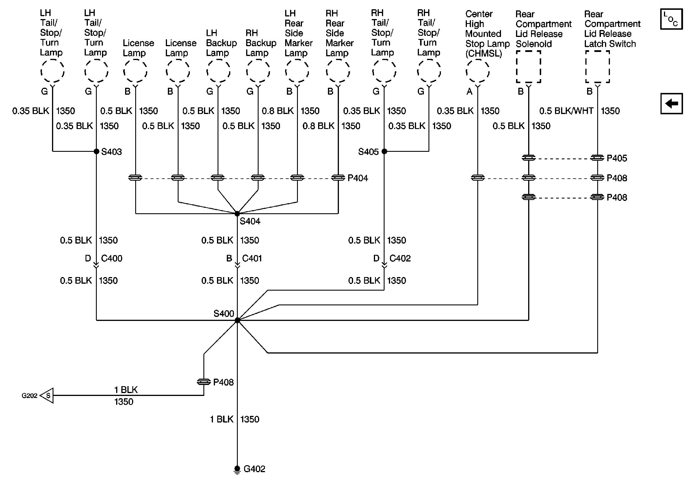
🢒 Cell 14: G402 - Oldsmobile
Cell 14: G402 - Oldsmobile
Cell 14: G402 - Oldsmobile
Power and Grounding Components
Cell 14: G402 - Pontiac
Cell 14: G202