GM Service Manual Online
For 1990-2009 cars only
Makes
🢒
Oldsmobile
🢒
1998
🢒
LSS
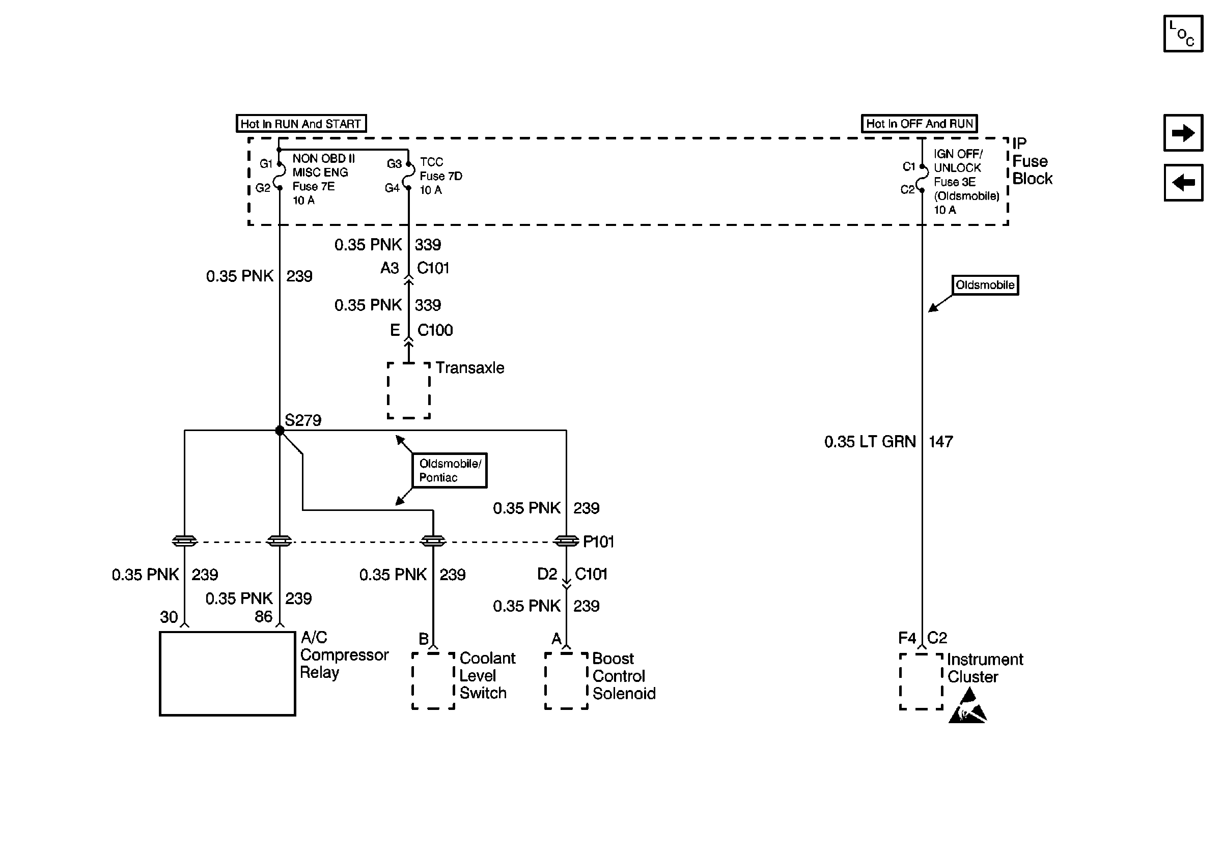
🢒 Cell 11: NON OBDII MISC ENG, TCC, and IGN OFF/UNLOCK Fuses
Cell 11: NON OBDII MISC ENG, TCC, and IGN OFF/UNLOCK Fuses
Cell 11: NON OBDII MISC ENG, TCC, and IGN OFF/UNLOCK Fuses
Power and Grounding Components
Cell 10: VATS, T/SIG/BO LP, AIRBAG, IP AUX OUTLET, AIRBAG/VATS Fuses
Cell 10: ABS/CCR and CLG FAN/TCC Fuses
Handling ESD Sensitive Parts Notice