GM Service Manual Online
For 1990-2009 cars only

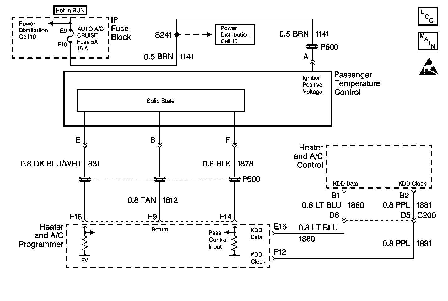
Object Number: 499562  Size: MF
HVAC Components
Cell 68: Passenger Temperature Control - Buick
Handling ESD Sensitive Parts Notice
Power Distribution Schematics
Power Distribution Schematics

Circuit Description

The passenger temperature control assembly receives voltage signals from the HVAC programmer. The signal voltage will vary from 5 volts (open circuit) to 0 volts (short circuit).

Conditions for Setting the DTC

    • The ignition is on.
    • The circuit is open or shorted.

Action Taken When the DTC Sets

Code 034 is set.

Conditions for Clearing the DTC

    • Using a Scan Tool .
    • A history DTC will clear after 40 consecutive IGN cycles have occurred without a malfunction.
    • HVAC programmer battery voltage is interrupted.

Test Description

  1. Determines if the passenger control assembly is operating properly.

  2. Determines if the passenger control assembly is operating properly.

Step

Action

Value(s)

Yes

No

1

  1. Turn the ignition switch to the OFF position.
  2. Disconnect the passenger temperature control assembly .
  3. Turn the ignition switch to the RUN position.
  4. Measure the voltage between passenger control assembly harness connector terminal B and terminal E.
  5. Refer to Measuring Voltage in Wiring Systems.

Does the voltage equal the specified value?

5 V

Go to Step 12

Go to Step 2

2

Does the voltage measure greater than the specified value?

5 V

Go to Step 3

Go to Step 4

3

Repair the short to the battery in CKT 831.

Refer to Wiring Repairs in Wiring Systems.

Is the repair complete?

--

System OK

--

4

Measure the voltage between passenger temperature control assembly harness connector terminal E and DLC terminal 4.

Refer to Measuring Voltage in Wiring Systems.

Does the voltage equal the specified value?

5 V

Go to Step 5

Go to Step 8

5

Measure the voltage between HVAC programmer terminal E12 and terminal F9.

Refer to Measuring Voltage in Wiring Systems.

Does the voltage equal the specified value?

12 V

Go to Step 6

Go to Step 7

6

Repair the open in CKT 1812.

Refer to Wiring Repairs in Wiring Systems.

Is the repair complete?

--

System OK

--

7

  1. Inspect the HVAC programmer for proper terminal contact.
  2. Refer to Intermittents and Poor Connections Diagnosis in Wiring Systems.

  3. If the terminal contact is OK, replace the HVAC programmer. Refer to Programmer Replacement .

Is the repair complete?

--

System OK

--

8

Measure the voltage between HVAC programmer terminal F9 and terminal F16.

Refer to Measuring Voltage in Wiring Systems.

Does the voltage equal the specified value?

5 V

Go to Step 9

Go to Step 7

9

Measure the voltage between passenger temperature control assembly harness connector terminal A and terminal E.

Refer to Measuring Voltage in Wiring Systems.

Does the voltage equal the specified value?

12 V

Go to Step 10

Go to Step 11

10

Repair the short to ground in CKT 831.

Refer to Wiring Repairs in Wiring Systems.

Is the repair complete?

--

System OK

--

11

Repair the open in CKT 831.

Refer to Wiring Repairs in Wiring Systems.

Is the repair complete?

--

System OK

--

12

  1. Turn the ignition switch to the OFF position.
  2. Reconnect the passenger temperature control assembly.
  3. Disconnect the HVAC programmer.
  4. Turn the ignition switch to the RUN position.
  5. Measure the voltage between HVAC programmer terminal F14 and terminal E1.
  6. Refer to Measuring Voltage in Wiring Systems.

Does the voltage measure within the specified range?

10-11 V

Go to Step 13

Go to Step 14

13

Replace the passenger temperature control assembly. Refer to Control Assembly Replacement - Passenger .

Is the repair complete?

--

System OK

--

14

Does the voltage equal the specified value?

12 V

Go to Step 15

Go to Step 16

15

Repair the short to the battery in CKT 1878.

Refer to Wiring Repairs in Wiring Systems.

Is the repair complete?

--

System OK

--

16

  1. Turn the ignition switch to the OFF position.
  2. Reconnect the HVAC programmer.
  3. Turn the ignition switch to the RUN position.
  4. Measure the voltage between HVAC programmer terminal F14 and terminal F9.
  5. Refer to Measuring Voltage in Wiring Systems.

Does the voltage measure within the specified range?

10-11 V

Go to Step 17

Go to Step 7

17

Repair the open in CKT 1878.

Refer to Wiring Repairs in Wiring Systems.

Is the repair complete?

--

System OK

--