GM Service Manual Online
For 1990-2009 cars only

WHIST/VIB/NOISE FULL HEAT POS. PROC. TO MODIFY TEMP DOOR

SUBJECT: WHISTLE/FLUTTER/VIBRATION NOISE WHEN COMING OFF FULL HEAT POSITION PROCEDURE TO MODIFY TEMP. DOOR

MODELS/YEARS: 1991-92 NINETY EIGHT 1992 EIGHTY EIGHT

This bulletin has been updated to include 1991-92 Toronado and 1993 Eighty Eight and Ninety Eight.

CONDITION: On some 1991-92 Ninety Eight and 1992 Eighty Eight models (without dual zone A/C), a whistle/flutter/vibration noise may occur as the temperature valve moves off maximum heat position. It may also sound like an intermittent noisy blower motor. The temperature valve may be unevenly unseating from the full heat position, in which case the sound will cease as the valve travels toward the cold position.

To Verify The Condition: On automatic A/C systems, drive the system to maximum heat position. When the maximum heat position is reached, slowly decrease the temperature setting. If the noise occurs and then ceases as the temperature valve moves from maximum heat, the vehicle has this condition.

On manual systems, drive the temperature valve to maximum heat position and on high blower. Slowly move the temperature setting to cold. If the noise occurs and then ceases as the valve is moved toward cold, the vehicle has this condition.

CAUSE: There are two items which may cause this to happen:

1. The rubber seal between the two valve halves of the temperature valve may not be rigid enough allowing the top part of the valve to come off the full heat position before the bottom causing flutter/vibration noise.

2. The temperature valve shaft may not be tightly secured allowing the valve to tilt on its axis creating a gap and whistle/flutter/vibration noise.

CORRECTION FOR VEHICLES EQUIPPED WITH DRIVERS SIDE SIR ONLY:

CAUTION:

This vehicle is equipped with Supplemental Inflatable Restraint (SIR). Refer to the Supplemental Inflatable Restraint (SIR) section for cautions under "on-vehicle service" and SIR component and wiring location views before performing service on or around SIR components or wiring. Failure to follow cautions could result in possible air bag deployment, personal injury, or otherwise unneeded SIR system repairs.

CAUTION:

Before removing or installing any electrical components, disconnect the negative battery cable to help prevent personal injury and/or damage to the vehicle or its components.

1. Using Tool J 37097, clamp off heater hoses and remove hoses from heater core.

2. Remove hush panel and glove box.

3. Remove the programmer (C68) or A/C solenoid switch assembly (C67), and heater core case cover.

4. Remove the heater core.

5. With a hack saw blade, remove the plastic case separator rib (Figure 2).

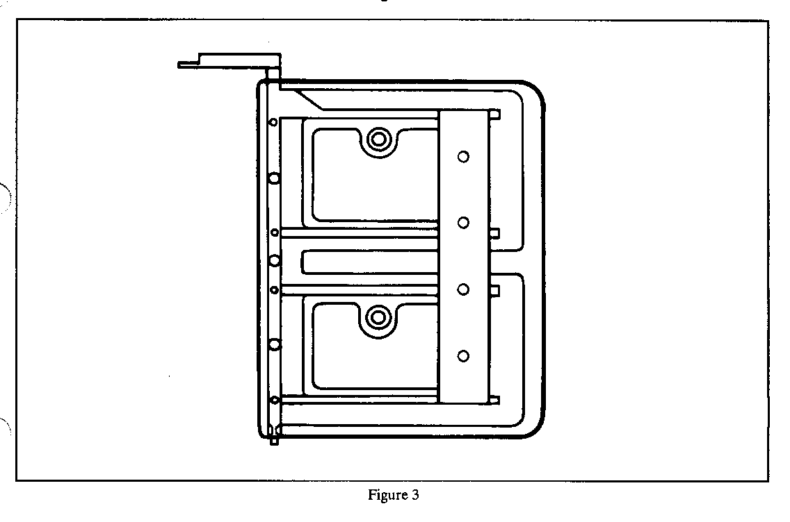
6. Fabricate a 1" X 6" X .048" (18 gauge) steel bracket (Figure 4) with (4) 7/32" holes. Place bracket over the temperature valve as shown in Figure 3. Mark hole location on temperature valve and drill holes with 7/32" drill. Use (4) blind rivets P/N 9442361 available from GMSPO.

7. Reach in case and lift the temperature valve upward dislodging the temperature valve shaft from the pivot position. Attach a 1/4" rubber plumber's washer (Figure 5) at the bottom of the shaft to take-up slack in the shaft mounting. (This washer is available at hardware or plumbing supply stores.)

8. Verify temperature valve operation by moving the lever prior to reconnection of the linkage.

9. Reassemble the HVAC and dash assembly as per the service manual.

Parts are currently available from GMSPO.

WARRANTY INFORMATION:

Labor Operation No.: T5322

Labor Time: 1.0 hour

Trouble Code: 92


Object Number: 79970  Size: FS


Object Number: 77914  Size: FS


Object Number: 78865  Size: FS


Object Number: 78864  Size: FS


Object Number: 90923  Size: SF

General Motors bulletins are intended for use by professional technicians, not a "do-it-yourselfer". They are written to inform those technicians of conditions that may occur on some vehicles, or to provide information that could assist in the proper service of a vehicle. Properly trained technicians have the equipment, tools, safety instructions and know-how to do a job properly and safely. If a condition is described, do not assume that the bulletin applies to your vehicle, or that your vehicle will have that condition. See a General Motors dealer servicing your brand of General Motors vehicle for information on whether your vehicle may benefit from the information.