GM Service Manual Online
For 1990-2009 cars only

3X Reference PCM Input

From the ignition control module, the PCM uses this signal to calculate engine RPM and crankshaft position at engine speeds above 1200 RPM. The PCM also uses the pulses on this circuit to initiate injector pulses. If the PCM receives no pulses on this circuit, DTC P1374 will set and the PCM will use the 18X reference signal circuit for fuel and ignition control. The engine will continue to start and run using the 18X reference signal only.

Refer to Electronic Ignition System for further information.

18X Reference PCM Input

From the ignition control module, the PCM uses this signal to calculate engine RPM and crankshaft position at engine speeds below 1200 RPM. The PCM also uses the pulses on this circuit to initiate injector pulses. If the PCM receives no pulses on this circuit, DTC P0336 will set and the PCM will use the 3X reference signal circuit at all times for fuel and ignition control. The engine will continue to start and run using the 3X reference signal only.

Refer to Electronic Ignition System for further information.

A/C Refrigerant Pressure Sensor

The A/C refrigerant pressure sensor signal indicates high side refrigerant pressure to the PCM. The PCM uses this information to adjust the idle air control valve to compensate for the higher engine loads present with high A/C refrigerant pressures and to control the cooling fans. A fault in the A/C refrigerant pressure sensor signal will cause DTC P0530 to set. Refer to Heater, Ventilation, and Air Conditioning for a complete description and on-vehicle service.

A/C Request PCM Input

The A/C request signal indicates to the PCM that an A/C mode is selected at the A/C control head. The PCM uses this information to adjust the idle speed before turning ON the A/C clutch. If this signal is not available to the PCM, the A/C compressor will be inoperative.

Crankshaft Position (CKP) Sensor

The crankshaft position sensor provides a signal used by the ignition control module to calculate ignition sequence. The ignition control module also uses the crankshaft position sensor signals to initiate 18X and 3X reference pulses which the PCM uses as reference to calculate RPM and crankshaft position.

Camshaft Position (CMP) Sensor and CAM Signal

The camshaft position sensor sends a cam signal to the PCM which uses it as a sync pulse to trigger the injectors in proper sequence. The CAM signal is passed through the ignition control module. It is filtered and buffered by the ignition control module, but the signal is not processed in any other way. The PCM uses the CAM signal to indicate the position of the #1 piston during its power stroke. This allows the PCM to calculate true Sequential Fuel Injection (SFI) mode of operation. If the PCM detects an incorrect CAM signal while the engine is running, DTC P0341 will set.

If the CAM signal is lost while the engine is running, the fuel injection system will shift to a calculated sequential fuel injection mode based on the last fuel injection pulse, and the engine will continue to run. The engine can be restarted and will run in the calculated sequential mode as long as the fault is present with a 1 in 6 chance of injector sequence being correct.

Refer to DTC P0341 for further information.

Traction Control Delivered Torque Circuit

The PCM sends a PWM signal to the Electronic Brake and Traction Control Module (EBTCM) on the delivered torque circuit informing the EBTCM of response made to the desired torque signal. A problem with the delivered torque circuit should cause an ABS/TCS DTC to set and traction control to be disabled. Refer to ABS/TCS section 5A2 for information regarding ABS/TCS operation.

Traction Control Desired Torque Circuit

The Electronic Brake and Traction Control Module (EBTCM) controls the PWM signal on the Desired Torque circuit while monitoring the wheel speed sensors to detect slippage. The PCM monitors the PWM signal and reduces engine torque as needed by retarding ignition timing, decreasing boost duty cycle, increasing air/fuel ratio, or, in severe cases, shutting OFF up to three fuel injectors. A problem with the Desired Torque circuit should cause PCM DTC P1571 and an ABS/TCS DTC to set and traction control to be disabled. Refer to ABS/TCS Section 5A2 for information regarding ABS/TCS operation.

Electronic Brake and Traction Control Module (EBTCM) / Electronic Brake Control Module (EBCM) - PCM Serial Data (CKT 800)

The PCM uses the serial data line (CKT 800) to communicate with various other components and systems within the vehicle. If the PCM does not receive data from the Electronic Brake and Traction Control Module (EBTCM), the PCM will store DTC P1573 indicating loss of communication with the ABS/TCS system.

The PCM also receives rough road information from the EBTCM / EBCM on the serial data circuit (CKT 800). The PCM uses the rough road information to enhance the misfire diagnostic by detecting crankshaft speed variations caused by driving on rough road surfaces. This allows false misfire information to be rejected. The EBTCM / EBCM calculates rough road information by monitoring the ABS wheel speed sensors. If a fault occurs which causes the PCM to not receive rough road information while a misfire DTC is requesting the MIL, DTC P1381 will set.

Under certain conditions, the PCM has the ability to request the EBTCM to shut OFF traction control via serial data (CKT 800). The following DTCs will cause traction control to be disabled, an ABS/TCS DTC to be set, and the Traction OFF lamp to be illuminated:

    • DTC P0101 - Mass Air Flow System Performance
    • DTC P0102 - Mass Air Flow Sensor Circuit Low Frequency
    • DTC P0103 - Mass Air Flow Sensor Circuit High Frequency
    • DTC P0171 - Fuel Trim System Lean
    • DTC P0172 - Fuel Trim System Rich
    • DTC P0300 - Engine Misfire Detected
    • DTC P0336 - 18x Reference Signal Circuit
    • DTC P0341 - Camshaft Position Sensor Performance
    • DTC P1200 - Injector Control Circuit
    • DTC P1374 - 3X Reference Circuit

Refer to ABS/TCS in Antilock Brake System and Traction System for information regarding ABS/TCS operation.

Engine Coolant Temperature (ECT) Sensor


Object Number: 42212  Size: SH

The engine coolant temperature sensor is a thermistor (a resistor which changes value based on temperature) mounted in the engine coolant stream. Low coolant temperature produces a high resistance (100,000 ohms at -40°C/-40°F) while high temperature causes low resistance (70 ohms at 130°C/266°F).

The PCM supplies a 5 volt signal to the engine coolant temperature sensor through a resistor in the PCM and measures the voltage. The voltage will be high when the engine is cold, and low when the engine is hot. By measuring the voltage, the PCM calculates the engine coolant temperature. The scan tool displays engine coolant temperature in degrees. After engine startup, the temperature should rise steadily to about 90°C (194°F) then stabilize when thermostat opens. If the engine has not been run for several hours (overnight), the engine coolant temperature and intake air temperature displays should be close to each other.

Engine coolant temperature affects most systems the PCM controls. A hard fault in the engine coolant sensor circuit should set DTC P0117 or DTC P0118; an intermittent fault should set a DTC P1114 or P1115. This section also contains a specification table to check for sensor resistance values relative to temperature.

EGR Pintle Position Sensor

The PCM monitors the EGR valve pintle position input to ensure that the valve responds properly to commands from the PCM and to detect a fault if the pintle position sensor and control circuits are open or shorted. If the PCM detects a pintle position signal voltage outside the normal range of the pintle position sensor, or a signal voltage that is not within a tolerance considered acceptable for proper EGR system operation, the PCM will set DTC P1406. Refer to EGR System for a complete description of the EGR system.

Engine Oil Level Sensor

The oil level is determined by an optical sensor which detects oil level immediately upon powerup. While the engine oil level sensor is determining oil level, the sensor holds the state of the engine oil level signal at ignition voltage. The amount of time the engine oil level sensor requires to determine oil level is about 1.5 seconds. After the engine oil level has been determined, the engine oil level sensor will ground the engine oil level signal for 1 to 2 seconds if oil level is OK or 6 to 10 seconds if oil level is low. The PCM determines oil level based on the engine oil level signal duration. The PCM also monitors the engine oil level signal to determine whether the engine oil level PCM input circuit is open or shorted.

The Low Oil Level Lamp will be illuminated for about a minute after the ignition has been turned ON when the PCM tests for low oil level and the engine oil level sensor indicates that a low oil level condition exists. The PCM determines whether or not to test for low oil level based on the difference between engine coolant temperature at the last shutdown and engine coolant temperature at startup. This is to ensure that the oil has drained back into the sump before testing. When the ignition is first turned ON, the PCM commands the Low Oil Level lamp ON for a brief period of time to test the bulb.

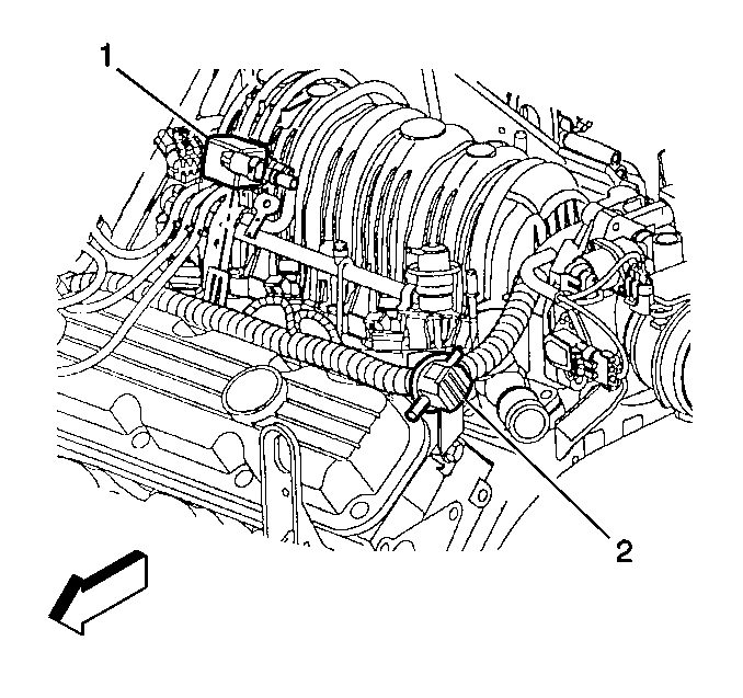
EVAP Vacuum Switch


Object Number: 12674  Size: SH
(1)EVAP Purge Solenoid
(2)EVAP Vacuum Switch

The EVAP Vacuum Switch is used by the PCM to monitor EVAP purge valve operation and purge system integrity. The EVAP Vacuum Switch should be closed with no vacuum present (0% EVAP Canister Purge PWM). With EVAP Canister Purge PWM at 25% or greater, the EVAP Vacuum Switch should open.

An incorrect EVAP Purge system flow should set a DTC P0441. A continuous purge condition with no purge commanded by the PCM should set a DTC P1441.

Refer to EVAP Control System (G Car, C Car, and H Car VIN 1) for a complete description of the EVAP system.

Fuel Level Sensor PCM Input (H-Car With VIN K Only)

The fuel level sensor input to the PCM is used to determine if the fuel level in the tank is correct to run the EVAP diagnostic tests. To ensure sufficient volume in the tank to begin the various diagnostic tests, the fuel level must be between 15% and 85%. Refer to Evaporative Emission Control System for a complete description of the EVAP system.

Fuel Tank Pressure Sensor (H-Car With VIN K Only)

The fuel tank pressure sensor is used to detect vacuum decay and excess vacuum during the enhanced EVAP diagnostic routine. Refer to Evaporative Emission Control System for a complete description of the EVAP system.

Heated Oxygen Sensors


Object Number: 14490  Size: SH

The fuel control Heated Oxygen Sensor (HO2S 1) is mounted in the exhaust manifolds where it can monitor the oxygen content of the exhaust gas stream. The oxygen present in the exhaust gas reacts with the sensor to produce a voltage output. This voltage should constantly fluctuate from approximately 100 mV (high oxygen content - lean mixture) to 900 mV (low oxygen content - rich mixture). The heated oxygen sensor voltage can be monitored with a scan tool. By monitoring the voltage output of the oxygen sensor, the PCM calculates what fuel mixture command to give to the injectors (lean mixture-low HO2S voltage = rich command, rich mixture-high HO2S voltage = lean command).

The HO2S 1 circuit, if open, should set a DTC P0134 and the scan tool will display a constant voltage between 400 - 500 mV. A constant voltage below 300 mV in the sensor circuit (circuit grounded) should set DTC P0131, while a constant voltage above 800 mV in the circuit should set DTC P0132. A fault in the HO2S 1 heater circuit should cause DTC P0135 to set. The PCM can also detect HO2S response problems. If the response time of an HO2S is determined to be too slow, the PCM will store a DTC that indicates degraded HO2S performance.

To control emissions of Hydrocarbons (HC), Carbon Monoxide (CO), and Oxides of Nitrogen (NOx), a three-way catalytic converter is used. The catalyst within the converter promotes a chemical reaction which oxidizes the HC and CO present in the exhaust gas, converting them into harmless water vapor and carbon dioxide. The catalyst also reduces NOx, converting it to nitrogen. The PCM has the ability to monitor this process using the HO2S 1 and the HO2S 2 heated oxygen sensors.

The HO2S 1 sensor produces an output signal which indicates the amount of oxygen present in the exhaust gas entering the three-way catalytic converter. The HO2S 2 sensor produces an output signal which indicates the oxygen storage capacity of the catalyst; this in turn indicates the catalyst's ability to convert exhaust gases efficiently. If the catalyst is operating efficiently, the HO2S 1 signal will be far more active than that produced by the HO2S 2 sensor. The catalyst monitor sensors operate the same as the fuel control sensors.

Although the HO2S 2 sensors' main function is catalyst monitoring, it also plays a limited role in fuel control. If the sensor output indicates a voltage either above or below the 450 millivolt bias voltage for an extended period of time, the PCM will make a slight adjustment to fuel trim to ensure that fuel delivery is correct for catalyst monitoring.

A problem with the HO2S 2 signal circuit should set DTC P0137, P0138 or P0140, depending on the specific condition. A fault in the heated oxygen sensor heater element or its ignition feed or ground will result in slower oxygen sensor response. This may cause erroneous Catalyst monitor diagnostic results. A fault in the HO2S 2 heater circuit should cause DTC P0141 to set.

Intake Air Temperature Sensor


Object Number: 12347  Size: SH

The Intake Air Temperature (IAT) sensor is a thermistor which changes value based on the temperature of air entering the engine. Low temperature produces a high resistance (100,000 ohms at -40°C/-40°F), while high temperature causes low resistance (70 ohms at 130°C/266°F). The PCM supplies a 5 volt signal to the sensor through a resistor in the PCM and measures the voltage. The voltage will be high when the incoming air is cold, and low when the air is hot. By measuring the voltage, the PCM calculates the incoming air temperature.

The IAT sensor signal is used to adjust spark timing according to incoming air density. The scan tool displays temperature of the air entering the engine, which should read close to ambient air temperature when engine is cold, and rise as underhood temperature increases. If the engine has not been run for several hours (overnight) the IAT sensor temperature and engine coolant temperature should read close to each other. A failure in the IAT sensor circuit should set DTC P0112 or DTC P0113.

Oil Life Monitor Reset Switch Input

To determine the engine oil life remaining, the PCM monitors engine coolant temperature, the number of crankshaft revolutions, vehicle speed, engine speed, and calculated oil temperature. When the PCM determines that the engine oil is near the end of its useful life, it will command the cluster via serial data (CKT 800) to illuminate the Change Oil Soon indicator or Change Oil Soon/Now message after startup. The PCM will command the Change Oil Soon indicator or Change Oil Soon/Now message ON after each startup until the engine oil life monitor is reset by grounding the Oil Life Monitor reset circuit through the oil life monitor reset switch for longer than 5 seconds.

Reference Low

This is a ground circuit for the digital RPM counter inside the PCM, but the wire is connected to engine ground only through the ignition control module. Although this circuit is electrically connected to the PCM, it is not connected to ground at the PCM. The PCM compares voltage pulses on the 18X and 3X reference input circuits to any on this circuit, ignoring pulses that appear on both. If the circuit is open, or connected to ground at the PCM, it may cause poor engine performance and possibly a MIL with no DTC set.

Knock Sensors

The knock sensors detect abnormal vibration (spark knocking) in the engine. The sensors are mounted in the engine block near the cylinders. The sensors produce an AC output voltage which increases with the severity of the knock. This signal voltage is input to the PCM. The PCM then adjusts the Ignition Control (IC) timing to reduce spark knock.

The PCM contains a replaceable Knock Sensor (KS) module. The KS module contains the circuitry that allows the PCM to utilize the KS signal and diagnose the KS sensors and circuitry. If the PCM is replaced, the KS module needs to be transferred from the original PCM. If the KS module is missing or faulty causing a continuous knock condition to be indicated, the PCM will set DTC P0325.

DTCs P0325, P0326, and P0327 are designed to diagnose the KS module, the knock sensors, and related wiring, so problems encountered with the KS system should set a DTC.

Refer to Knock Sensor (KS) System for a complete description of the knock sensor system.

Mass Air Flow Sensor


Object Number: 15006  Size: MH

The Mass Air Flow (MAF) sensor measures the amount of air which passes through the throttle body. The PCM uses this information to determine the operating condition of the engine, to control fuel delivery. A large quantity of air indicates acceleration, while a small quantity indicates deceleration or idle.

The scan tool displays the MAF value in grams per second (gm/s). At idle, MAF should read between 4 gm/s -7 gm/s on a fully warmed up engine. Values should change rather quickly on acceleration, but values should remain fairly stable at any given RPM. A MAF sensor malfuction or MAF signal circuit problem should set DTC P0101, DTC P0102, or DTC P0103.

Manifold Absolute Pressure Sensor

The Manifold Absolute Pressure (MAP) sensor responds to changes in intake manifold pressure (vacuum). The MAP sensor signal voltage to the PCM varies from below 2 volts at idle (high vacuum) to above 4 volts with the key ON, engine not running or at wide-open throttle (low vacuum). The MAP sensor is used to determine manifold pressure changes while the linear EGR flow test diagnostic is being run (refer to DTC P0401), to determine engine vacuum level for other diagnostics and to determine barometric pressure (BARO).

If the PCM detects a voltage that is lower than the possible range of the MAP sensor, DTC P0107 will be set. A signal voltage higher than the possible range of the sensor will set DTC P0108. An intermittent low or high voltage will set DTC P1107 or P1106 respectively.

TCC Brake Switch

The TCC brake switch signal indicates when the brake pedal is applied. The TCC brake switch information is used by the PCM mainly to control the Transaxle torque converter clutch. Refer to Automatic Transaxle Diagnosis for a complete description, diagnosis, and on-vehicle service.

Transaxle Temperature Sensor

The transaxle fluid temperature sensor is a thermistor which changes value based on the temperature of the Transaxle fluid. A high transaxle fluid temperature may cause the vehicle to operate in Hot Mode. While in Hot Mode, shift points may be altered, 4th gear disabled, and TCC forced ON in 2nd gear.

A failure in the TFT sensor or associated wiring should cause DTC P0712 or P0713 to set. In this case, a value based on engine coolant temperature will be substituted for the TFT sensor value, and the Transaxle will operate normally. Refer to Automatic Transaxle Diagnosis for a complete description, diagnosis, and on-vehicle service.

Throttle Position Sensor


Object Number: 14476  Size: SH

The Throttle Position (TP) sensor is a potentiometer connected to the throttle shaft on the throttle body. By monitoring the voltage on the signal line, the PCM calculates throttle position. As the throttle valve angle is changed (accelerator pedal moved), the TP sensor signal also changes. At a closed throttle position, the output of the TP sensor is low. As the throttle valve opens the TP sensor voltage increases so that at Wide Open Throttle (WOT), the TP sensor voltage should be above 4 volts. The PCM calculates fuel delivery based on throttle valve angle (driver demand).

A broken or loose TP sensor may cause intermittent bursts of fuel from an injector and unstable idle because the PCM thinks the throttle is moving. A hard failure in the TP sensor 5 volts reference or signal circuits should set either a DTC P0122 or DTC P0123. A hard failure with the TP sensor ground circuit may set DTCs P0123 and P0117. Once a DTC is set, the PCM will use an artificial default value based on engine RPM and mass air flow for throttle position and some vehicle performance will return. A high idle may result when either DTC P0122 or DTC P0123 is set.

The PCM can detect intermittent TP sensor faults. DTC P1121 or DTC P1122 will set if an intermittent high or low circuit failure is being detected. The PCM can also detect a shifted TP sensor. The PCM monitors throttle position and compares the actual TP sensor reading to a predicted TP value calculated from engine speed. If the PCM detects an out of range condition, DTC P0121 will be set.

Transaxle Range Switch


Object Number: 12351  Size: MH

The Transaxle Range Switch is part of the Transaxle Park/Neutral Position (PNP) switch mounted on the transaxle manual shaft. The 4 inputs from the transaxle range switch indicate to the PCM which position is selected by the Transaxle selector lever. This information is used for transmission shift control, ignition timing, EVAP canister purge, EGR and IAC valve operation. The combination of the four transaxle range input states determine the PCM commanded shift pattern. The input voltage level at the PCM is high (B+) when the transaxle range switch is open and low when the switch is closed to ground. The state of each input is represented on the scan tool as X=high voltage level, 0=low voltage level. The four parameters represent trasaxle range switch Parity, A, B, and C inputs respectively. Refer to Transaxle Range Switch Valid Combinations Table.

Transaxle Range Switch Valid Input Combinations

Gear Selector Position

Scan Tool Trans Range PABC Display

X=High

0=Low

P

A

B

C

Park (P)

0

0

X

X

Reverse (R)

X

0

0

X

Neutral (N)

0

X

0

X

Drive4 (OD)

X

X

0

0

Drive3 (3)

0

0

0

0

Drive2 (2)

X

0

X

0

Drive 1 (1)

0

X

X

0