GM Service Manual Online
For 1990-2009 cars only

Fuel System Diagnosis


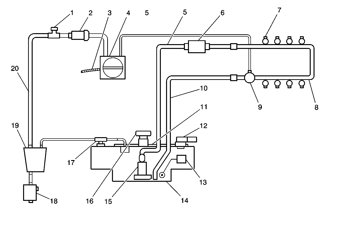
Object Number: 626192  Size: MF
(1)EVAP Test Port
(2)EVAP Purge Solenoid
(3)Brake Booster Vacuum
(4)Throttle Body
(5)Fuel Feed Hose
(6)Fuel Filter
(7)Fuel Injectors
(8)Fuel Rail
(9)Fuel Pressure Regulator
(10)Fuel Return Hose
(11)Fuel Sender Assembly
(12)Fuel Tank Pressure Sensor
(13)Fuel Level Sensor
(14)Fuel Tank
(15)Fuel Pump
(16)Fuel Tank Filler Cap
(17)Fuel Tank Purge Hose
(18)EVAP Vent Solenoid
(19)EVAP Canister
(20)EVAP Purge Hose

Circuit Description

When you turn ON the ignition switch, the powertrain control module (PCM) turns ON the in-tank fuel pump. The in-tank fuel pump remains ON as long as the engine is cranking or running and the PCM receives reference pulses. If there are no reference pulses, the PCM turns the in-tank fuel pump OFF 2 seconds after the ignition switch is turned ON or 2 seconds after the engine stops running.

The electric fuel pump attaches to the fuel sender assembly inside the fuel tank . The in-tank fuel pump supplies fuel through an in-pipe fuel filter to the fuel rail assembly. The fuel pump provides fuel at a pressure above the pressure needed by the fuel injectors. A fuel pressure regulator, attached to the fuel rail, keeps the fuel available to the fuel injectors at a regulated pressure. Unused fuel returns to the fuel tank by a separate fuel return pipe.

Test Description

The numbers below refer to the step numbers on the diagnostic table.

  1. When the ignition switch is ON and the fuel pump is running, the fuel pressure indicated by the fuel pressure gauge should read 333-376 kPa (48-55 psi). The spring pressure inside the fuel pressure regulator controls the fuel pressure.

  2. A fuel system that drops more than 34 kPa (5 psi) in 10 minutes has a leak in one or more of the following areas:

  3. • The fuel pump check valve
    • The fuel pump
    • The valve or valve seat within the fuel pressure regulator
    • The fuel injectors
  4. A fuel system that drops more than 14 kPa (2 psi) in 10 minutes after being relieved to 69 kPa (10 psi) indicates a leaking fuel pump check valve.

  5. Fuel pressure that drops-off during acceleration, cruise or hard cornering may cause a lean condition. A lean condition can cause a loss of power, surging, or misfire. You can diagnose a lean condition using a scan tool. If an extremely lean condition occurs, the heated oxygen sensors (HO2S) will stop toggling. The HO2S output voltages will drop below 300 mV. The fuel injector pulse width will increase.

Important: Make sure the fuel system is not operating in the Fuel Cut-Off Mode. This can cause false indications by the scan tool.

  1. When the engine is at idle, the manifold pressure is low (high vacuum). This low pressure (high vacuum) is applied to the fuel pressure regulator diaphragm. The low pressure (high vacuum) will offset the pressure being applied to the fuel pressure regulator diaphragm by the spring inside the fuel pressure regulator. When this happens, the result is lower fuel pressure. The fuel pressure at idle will vary slightly as the barometric pressure changes, but the fuel pressure at idle should always be less than the fuel pressure noted in step 2 with the engine OFF.

  2. A rich condition may result from the fuel pressure being above 376 kPa (55 psi). A rich condition may cause DTC P0132, DTC P0152, DTC P0172 or DTC P0175 to set. Driveability conditions associated with rich conditions can include hard starting followed by black smoke and a strong sulfur smell in the exhaust.

  3. This test determines if the high fuel pressure is due to a restricted fuel return pipe or if the high fuel pressure is due to a faulty fuel pressure regulator.

  4. A lean condition may result from the fuel pressure being below 333 kPa (48 psi). A lean condition may cause DTC P0131, DTC P0151, DTC P0171 or DTC P0174 to set. Driveability conditions associated with lean conditions can include hard starting when the engine is cold), hesitation, poor driveability, lack of power, surging, and misfiring.

  5. Restricting the fuel return pipe with the J 37287 fuel pipe shut-off adapter causes the fuel pressure to rise above the regulated fuel pressure. Using a scan tool to pressurize the fuel system, the fuel pressure should rise above 376 kPa (55 psi) as the valve on the fuel pipe shut-off adapter connected to the fuel return pipe becomes partially closed.

  6. Check the spark plug associated with a particular fuel injector for fouling or saturation in order to determine if that particular fuel injector is leaking. If checking the spark plug associated with a particular fuel injector for fouling or saturation does not determine that a particular fuel injector is leaking, use the following procedure:

  7. 1. Remove the fuel rail. Refer to Fuel Injection Fuel Rail Assembly Replacement .
    2. Connect the fuel feed pipe and the fuel return pipe to the fuel rail. Refer to Fuel Injection Fuel Rail Assembly Replacement .
    3. Lift the fuel rail just enough to leave the fuel injector nozzles in the fuel injector ports.

            Caution: In order to reduce the risk of fire and personal injury that may result from fuel spraying on the engine, verify that the fuel rail is positioned over the fuel injector ports. Also verify that the fuel injector retaining clips are intact.

    4. Pressurize the fuel system by using the scan tool fuel pump enable.
    5. Visually and physically inspect the fuel injector nozzles for leaks.

Step

Action

Value(s)

Yes

No

1

Did you perform the Powertrain On-Board Diagnostic (OBD) System Check?

--

Go to Step 2

Go to Powertrain On Board Diagnostic (OBD) System Check

2

  1. Turn the ignition OFF.
  2. Turn the air conditioning system OFF.
  3. Caution: Wrap a shop towel around the fuel pressure connection in order to reduce the risk of fire and personal injury. The towel will absorb any fuel leakage that occurs during the connection of the fuel pressure gage. Place the towel in an approved container when the connection of the fuel pressure gage is complete.

  4. Install the J 34730-1A fuel pressure gauge.
  5. Place the bleed hose of the fuel pressure gauge into an approved gasoline container.
  6. Turn the ignition ON.
  7. Bleed the air out of the fuel pressure gauge.
  8. Turn the ignition OFF for 10 seconds.
  9. Turn the ignition ON.
  10. Important:: The fuel pump will run for approximately 2 seconds. Cycle the ignition as necessary in order to achieve the highest possible fuel pressure.

  11. Observe the fuel pressure with the fuel pump running.

Is the fuel pressure within the specified limits?

333-376 kPa (48-55 psi)

Go to Step 3

Go to Step 12

3

Important:: The fuel pressure may vary slightly when the fuel pump stops running. After the fuel pump stops running the fuel pressure should stabilize and remain constant.

Does the fuel pressure drop more than the specified value in 10 minutes?

34 kPa (5 psi)

Go to Step 10

Go to Step 4

4

Relieve the fuel pressure to the first specified value.

Does the fuel pressure drop more than the second specified value in 10 minutes?

69 kPa (10 psi) 14 kPa (2 psi)

Go to Step 19

Go to Step 5

5

Do you suspect the fuel pressure of dropping-off during acceleration, cruise, or hard cornering?

--

Go to Step 6

Go to Step 8

6

Visually and physically inspect the following items for a restriction:

    • The fuel filter
    • The fuel feed pipe

Did you find a restriction?

--

Go to Step 24

Go to Step 7

7

  1. Remove the fuel sender assembly. Refer to Fuel Sender Assembly Replacement .
  2. Visually and physically inspect the following items:
  3. • The fuel strainer for a restriction
    • The fuel pump pulsator for leaks
    • Verify the fuel pump is the correct fuel pump for this vehicle.

Did you find a problem in any of these areas?

--

Go to Step 24

Go to Step 19

8

  1. Start the engine.
  2. Allow the engine to idle at normal operating temperature.

Does the fuel pressure drop by the amount specified?

21-69 kPa (3-10 psi)

Go to Symptoms

Go to Step 9

9

  1. Disconnect the vacuum hose from the fuel pressure regulator.
  2. With the engine idling, apply 12-14 inches of vacuum to the fuel pressure regulator manifold vacuum hose connection.

Does the fuel pressure drop by the amount specified?

21-69 kPa (3-10 psi)

Go to Step 20

Go to Step 21

10

  1. Relieve the fuel pressure. Refer to the Fuel Pressure Relief .
  2. Disconnect the fuel feed pipe and the fuel return pipe from the fuel rail.
  3. Install the J 37287 fuel pipe shut-off adapters between the fuel feed pipe and the fuel return pipe and the fuel rail.
  4. Open the valves on the fuel pipe shut-off adapters.
  5. Turn the ignition OFF.
  6. Pressurize the fuel system using a scan tool.
  7. Place the bleed hose of the fuel pressure gauge into an approved gasoline container.
  8. Bleed the air out of the fuel pressure gauge.
  9. Wait for the fuel pressure to build.
  10. Close the valve in the fuel pipe shut-off adapter that is connected to the fuel feed pipe.

Does the fuel pressure remain constant?

--

Go to Step 19

Go to Step 11

11

  1. Open the valve in the fuel pipe shut-off adapter that is connected to the fuel feed pipe.
  2. Pressurize the fuel system using a scan tool.
  3. Wait for the fuel pressure to build.
  4. Close the valve in the fuel pipe shut-off adapter that is connected to the fuel return pipe.

Does the fuel pressure remain constant?

--

Go to Step 21

Go to Step 22

12

Is the fuel pressure above the specified limit?

376 kPa (55 psi)

Go to Step 13

Go to Step 15

13

  1. Relieve the fuel pressure. Refer to the Fuel Pressure Relief .
  2. Disconnect the fuel return pipe from the fuel rail.
  3. Attach a length of flexible fuel hose to the fuel rail outlet passage.
  4. Place the open end of the flexible fuel hose into an approved gasoline container.
  5. Turn the ignition OFF for 10 seconds.
  6. Turn the ignition ON.
  7. Observe the fuel pressure with the fuel pump running.

Is the fuel pressure within the specified limits?

333-376 kPa (48-55 psi)

Go to Step 23

Go to step 14

14

Visually and physically inspect the fuel rail outlet passages for a restriction.

Was a restriction found?

--

Go to Step 24

Go to Step 21

15

Is the fuel pressure above the specified value?

0 kPa (0 psi)

Go to Step 16

Go to Step 17

16

  1. Relieve the fuel pressure. Refer to the Fuel Pressure Relief .
  2. Disconnect the fuel return pipe from the fuel rail.
  3. Install the J 37287 fuel pipe shut-off adapter between the fuel return pipe and the fuel rail.
  4. Open the valve on the fuel pipe shut-off adapter.
  5. Turn the ignition OFF.
  6. Pressurize the fuel system using a scan tool.
  7. Place the bleed hose of the fuel pressure gauge into an approved gasoline container.
  8. Bleed the air out of the fuel pressure gauge.
  9. Notice: Do not allow the fuel pressure to exceed 500 kPa (72 psi). Excessive pressure may damage the fuel pressure regulator.

  10. Slowly close the valve in the fuel pipe shut-off adapter that is connected to the fuel return pipe.

Does the fuel pressure rise above the specified value?

376 kPa (55 psi)

Go to Step 21

Go to Step 7

17

Turn ON the fuel pump using a scan tool.

Does the fuel pump run?

--

Go to Step 18

Go to Fuel Pump Electrical Circuit Diagnosis

18

Visually and physically inspect the following items:

    • The fuel filter for obstructions
    • The fuel feed pipe for a restriction
    • The fuel strainer for obstructions
    • The fuel pump pulsator for leaks

Did you find a problem in any of these areas?

--

Go to Step 24

Go to Step 19

19

Replace the fuel pump. Refer to Fuel Sender Assembly Service .

Is the action complete?

--

System OK

--

20

Locate and repair the loss of vacuum to the fuel pressure regulator.

Is the action complete?

--

System OK

--

21

Replace the fuel pressure regulator. Refer to Fuel Pressure Regulator Replacement .

Is the action complete?

--

System OK

--

22

Locate and replace any leaking fuel injectors.

Is the action complete?

--

System OK

--

23

Locate and correct the restriction in the fuel return pipe.

Is the action complete?

--

System OK

--

24

Repair the problem as necessary.

Is the action complete?

--

System OK

--