GM Service Manual Online
For 1990-2009 cars only

Notice: Turn the ignition OFF when installing or removing the PCM connectors and disconnecting or reconnecting the power to the PCM (battery cable, PCM pigtail, PCM fuse, jumper cables, etc.) in order to prevent internal PCM damage.

Service of the powertrain control module (PCM) should normally consist of either replacement of the PCM or electrically erasable programmable read only memory (EEPROM) programming. If the diagnostic procedures call for the PCM to be replaced, the PCM should be checked first to see if it is the correct part. If it is, remove the faulty PCM and install the new service PCM.

THE SERVICE PCM EEPROM WILL NOT BE PROGRAMMED. DTC P0601 and P0602 indicates the EEPROM is not programmed or has malfunctioned.

Important: The following must be performed anytime the PCM is replaced:

  1. Program the PCM
  2. The Idle Learn Procedure
  3. The CKP System Variation Learn Procedure
  4. The Functional Check

    Important: The following must be performed anytime the PCM is disconnected, reprogrammed or loses power:

  1. The Idle Learn Procedure
  2. The Functional Check

Removal Procedure

Important: Remove any debris from the PCM connector surfaces before servicing the PCM. Inspect the PCM module connector gaskets when diagnosing or replacing the PCM. Ensure that the gaskets are installed correctly. The gaskets prevent contaminate intrusion into the PCM.

    Notice: Do not touch the connector pins or soldered components on the circuit board in order to prevent possible electrostatic discharge (ESD) damage to the PCM.

    Notice: In order to prevent internal damage to the PCM, the ignition must be OFF when disconnecting or reconnecting the PCM connector.

    Caution: Unless directed otherwise, the ignition and start switch must be in the OFF or LOCK position, and all electrical loads must be OFF before servicing any electrical component. Disconnect the negative battery cable to prevent an electrical spark should a tool or equipment come in contact with an exposed electrical terminal. Failure to follow these precautions may result in personal injury and/or damage to the vehicle or its components.


    Object Number: 626232  Size: SH
  1. Disconnect the negative battery cable.
  2. Remove the two retaining screws that hold the right dash lower knee bolster, and remove the knee bolster.
  3. Remove the fuse/relay center (1) mounting bracket retaining bolts.
  4. Set the fuse/relay center aside.


    Object Number: 626155  Size: SH
  5. Disconnect the PCM connectors.

  6. Object Number: 626160  Size: SH
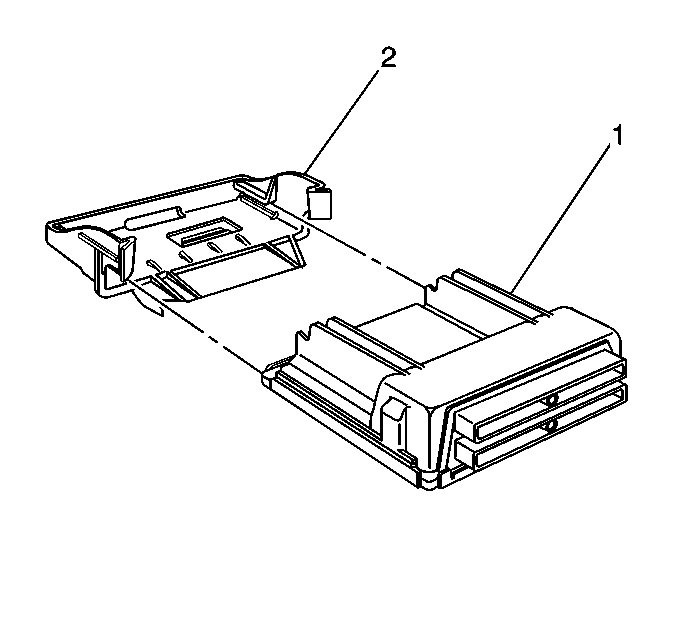
  7. Remove the PCM (1) from the mounting bracket (2).

Installation Procedure

    Notice: Do not touch the connector pins or soldered components on the circuit board in order to prevent possible electrostatic discharge (ESD) damage to the PCM.

    Notice: In order to prevent internal damage to the PCM, the ignition must be OFF when disconnecting or reconnecting the PCM connector.


    Object Number: 626160  Size: SH
  1. Install the PCM (1) to the mounting bracket (2).

  2. Object Number: 626155  Size: SH

    Notice: Use the correct fastener in the correct location. Replacement fasteners must be the correct part number for that application. Fasteners requiring replacement or fasteners requiring the use of thread locking compound or sealant are identified in the service procedure. Do not use paints, lubricants, or corrosion inhibitors on fasteners or fastener joint surfaces unless specified. These coatings affect fastener torque and joint clamping force and may damage the fastener. Use the correct tightening sequence and specifications when installing fasteners in order to avoid damage to parts and systems.

  3. Reconnect the PCM connectors to the PCM.
  4. Tighten
    Tighten the PCM connector end fasteners to 8 N·m (70 lb ft).


    Object Number: 626232  Size: SH
  5. Install the fuse/relay center mounting bracket and retaining bolts.
  6. Install the knee bolster and the two retaining screws.
  7. Reconnect the negative battery cable
  8. If a new PCM is being installed, program the PCM.

PCM Programming

  1. Ensure the following conditions have been met:
  2. • The battery is fully charged.
    • The ignition is ON.
    • The cable connection at the data link connector (DLC) is secure.
  3. Program the PCM using the latest software matching the vehicle. Refer to Techline terminal/equipment users instructions.
  4. 2.1.  If the PCM fails to program, proceed as follows:
       • Ensure that all PCM connections are OK.
       • Check the Techline terminal/equipment for the latest software version.
       • Attempt to program the PCM. If the PCM still cannot be programmed properly, replace the PCM. The replacement PCM must be programmed.
    2.2. Program the replacement PCM.
  5. Perform the CKP System Variation Learn Procedure if a new PCM is installed. Refer to Crankshaft Position System Variation Learn .
  6. Perform the Idle Learn Procedure. Refer to Idle Learn .
  7. Perform the Engine Oil Life Reset procedure if a new PCM is installed.

Functional Check

  1. Clear the diagnostic trouble codes (DTCs).
  2. Perform the Powertrain On Board Diagnostic (OBD) System Check .
  3. Start the engine and idle for one minute.
  4. Scan for DTCs using the scan tool.