GM Service Manual Online
For 1990-2009 cars only

Linear EGR Valve


Object Number: 14441  Size: SH

Purpose

The Exhaust Gas Recirculation (EGR) system is used to lower Oxides of Nitrogen (NOx) emission levels caused by high combustion temperature. It does this by decreasing combustion temperature.

The main element of the system is the linear EGR valve. The EGR valve feeds small amounts of exhaust gas back into the combustion chamber. With the fuel/air mixture diluted by the exhaust gases, combustion temperatures are reduced.

Operation


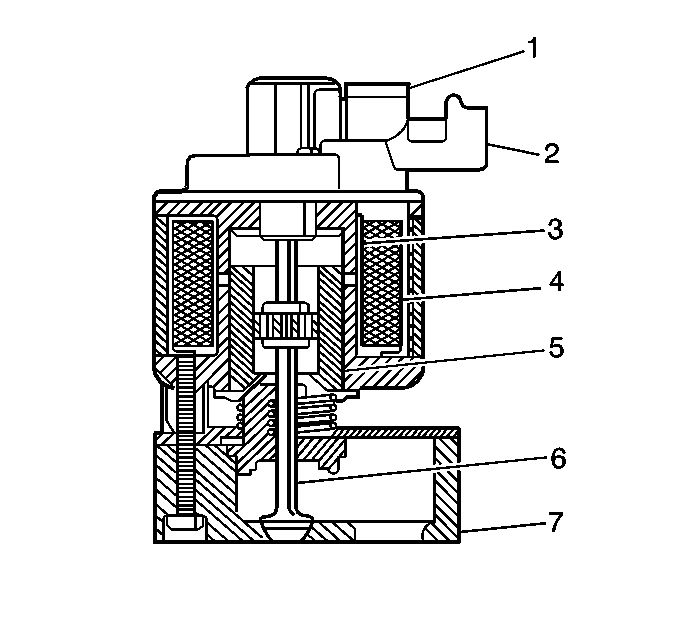
Object Number: 11696  Size: SH
(1)Cap-Sensor
(2)Sensor-EGR Pintle Position
(3)Pole Piece-Primary
(4)Bobbin and Coil Assembly
(5)Sleeve-Armature
(6)Valve-Pintle
(7)Armature and Base Assembly

The linear EGR valve is designed to accurately supply EGR to an engine independent of intake manifold vacuum. The valve controls EGR flow from the exhaust to the intake manifold through an orifice with a PCM controlled pintle. During operation, the PCM controls pintle position by monitoring the pintle position feedback signal. The feedback signal can be monitored with a scan tool as ACTUAL EGR POS. ACTUAL EGR POS should always be near the commanded EGR position ( DESIRED EGR POS). The PCM uses information from the following sensors to control the pintle position:

    • Engine Coolant Temperature (ECT) sensor.
    • Throttle Position (TP) sensor.
    • Mass Air Flow (MAF).

The linear EGR valve is usually activated under the following conditions:

    • Warm engine operation
    • Above idle speed

Diagnosis


Object Number: 11699  Size: SH
(1)Linear EGR Valve
(2)Exhaust Gas
(3)To Cylinders
(4)Pintle

Too much EGR flow at idle, cruise, or cold operation may cause any of the following conditions to occur:

    • Engine stalls after cold start.
    • Engine stalls during closed throttle conditions.
    • Vehicle surges during cruise.
    • Rough idle.
    • DTC P0300 (misfire detected).

Too little or no EGR flow may allow combustion temperatures to get too high. This could cause the following symptoms:

    • Spark knock (detonation).
    • Engine overheating.
    • Emission test failure.
    • DTC P0401.
    • Poor fuel economy.

EGR flow diagnosis is included in the DTC P0401 diagnostic table. Pintle position error diagnosis is covered in DTC P1406. If EGR diagnostic trouble codes P0401 and/or P1406 are encountered, go to the DTC tables for diagnosis.