GM Service Manual Online
For 1990-2009 cars only

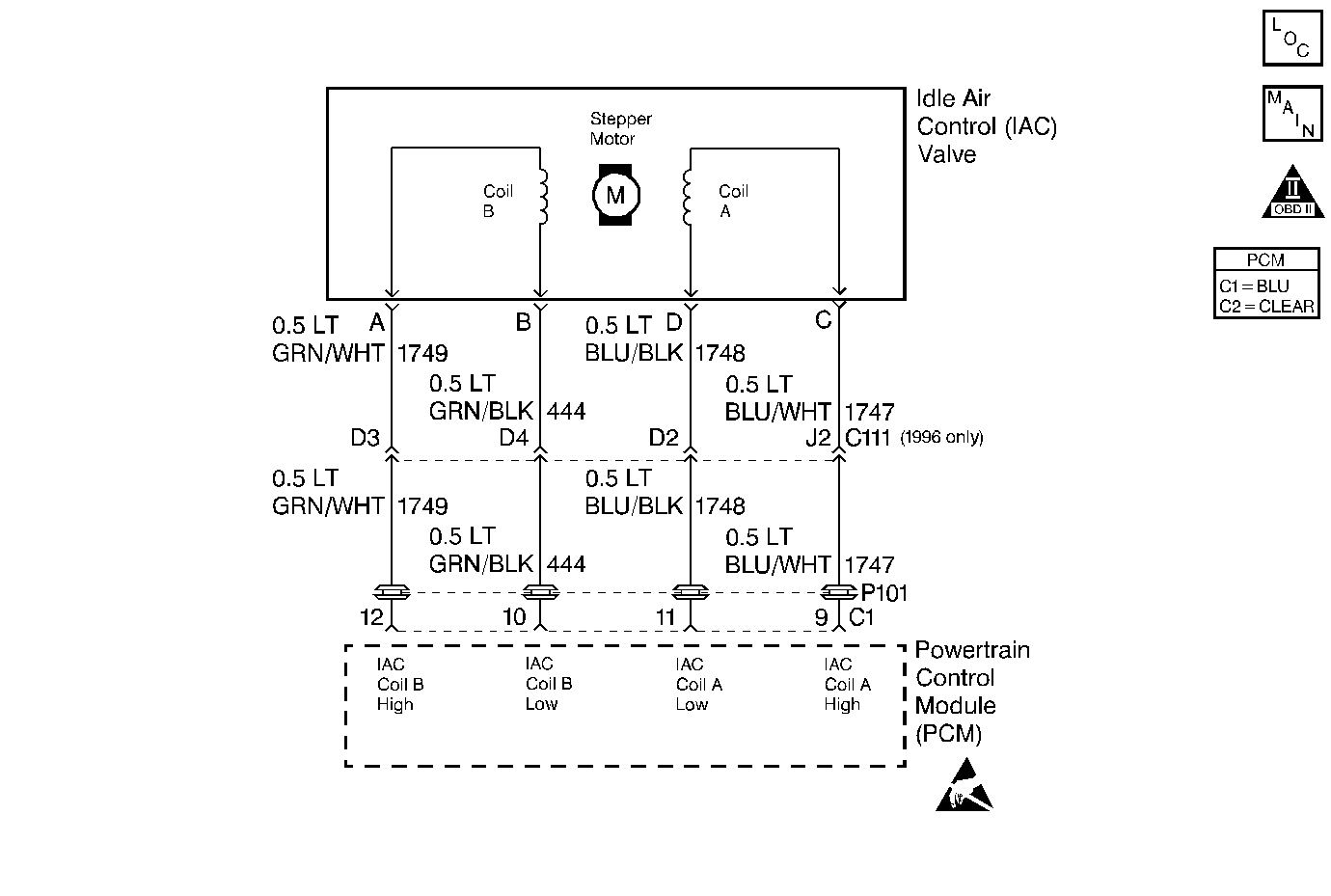
Object Number: 36199  Size: MF
Engine Controls Components
IAC, Gen Control, Trans Range
OBD II Symbol Description Notice
Handling ESD Sensitive Parts Notice

Circuit Description

The PCM controls engine idle speed by adjusting the position of the idle air control (IAC) motor pintle. The IAC is a bi-directional motor driven by two coils. The PCM sends pulses (steps) to the IAC to extend or retract the IAC pintle into a passage in the throttle body to decrease or increase air flow. The commanded IAC position (displayed in counts) can be monitored on the scan tool. A lower number of counts indicates less commanded airflow (pintle extended). This method allows highly accurate control of idle speed and quick response to changes in engine load. If the PCM detects a condition where too high of an idle speed is present and the PCM is unable to adjust idle speed by decreasing the IAC counts, DTC P0507 will set indicating a problem with the idle control system.

Conditions for Setting the DTC

    • No VSS, TP sensor, EVAP system, EVAP solenoid, misfire, IAT sensor, MAP sensor, fuel trim, fuel injector, EGR pintle position, ECT sensor, CKP sensor, or MAF sensor DTCs set.
    • BARO is greater than 65 kPa.
    • System voltage is between 9 and 16 volts.
    • Engine Coolant Temperature is greater than 50°C (122°F).
    • The engine has been running for at least 125 seconds.
    • Vehicle Speed is less than 3 MPH.
    • Intake Air Temperature is greater than -25°C (-13°F).
    • The throttle is closed
    • Engine Speed is more than 180 rpm higher than Desired Idle (positive idle speed error greater than 180 rpm).
    • Above conditions for longer than 15 seconds.

Action Taken When the DTC Sets

    • The PCM will illuminate the malfunction indicator lamp (MIL) during the second consecutive trip in which the diagnostic test has been run and failed.
    • The PCM will store conditions which were present when the DTC set as Freeze Frame and Failure Records data.

Conditions for Clearing the MIL/DTC

    • The PCM will turn OFF the MIL during the third consecutive trip in which the diagnostic has been run and passed.
    • The History DTC will clear after 40 consecutive warm-up cycles have occurred without a malfunction.
    • The DTC can be cleared by using the scan tool.

Diagnostic Aids

Check for the following conditions:

    • Poor connection at PCM or IAC motor. Inspect harness connectors for backed out terminals, improper mating, broken locks, improperly formed or damaged terminals, and poor terminal to wire connection.
    • Damaged harness. Inspect the wiring harness for damage.
    • Vacuum leak. Check for a condition that causes a vacuum leak, such as disconnected or damaged hoses, leaks at EGR valve and EGR pipe to intake manifold, leaks at throttle body, faulty or incorrectly installed PCV valve, leaks at intake manifold, etc. Refer to Emission Hose Routing Diagram and Crankcase Ventilation System .
    • Throttle body. Check for a sticking throttle plate. Also inspect the IAC passage for deposits or objects which will not allow the IAC pintle to fully extend.

Reviewing the Fail Records vehicle mileage since the diagnostic test last failed may help determine how often the condition that caused the DTC to be set occurs. This may assist in diagnosing the condition.

Test Description

Number(s) below refer to the step number(s) on the Diagnostic Table.

  1. This vehicle is equipped with a PCM which utilizes an Electrically Erasable Programmable Read Only Memory (EEPROM). When the PCM is being replaced, the new PCM must be programmed.

DTC P0507 - Idle Air Control System RPM High

Step

Action

Value(s)

Yes

No

1

Was the Powertrain On-Board Diagnostic System Check performed?

--

Go to Step 2

Go to the Powertrain On Board Diagnostic (OBD) System Check

2

Are any other DTC(s) set?

--

Diagnose the other DTC first - Go to Powertrain Control Module Diagnosis

Go to Step 3

3

  1. Start the engine.
  2. Turn OFF all accessories (A/C, Rear defroster etc.).
  3. Using a scan tool, command RPM up to 1500, down to 500, and then up to 1500 while monitoring Engine Speed on the scan tool.

Does Engine Speed remain within the specified value of Desired Idle for each RPM command?

±50 RPM

Refer to Diagnostic Aids

Go to Step 4

4

  1. Disconnect the IAC.
  2. Install a J 37027-A IAC System Monitor.
  3. With the engine running, command RPM up to 1500, down to 500, and then up to 1500 while observing the node light.

Does each node light cycle red and green (never OFF)?

--

Go to Step 6

Go to Step 5

5

  1. Check the following circuits for an open, short to voltage, or short to ground:
  2. • IAC A Low.
    • IAC A High.
    • IAC B Low.
    • IAC B High.
  3. If a problem is found, repair as necessary. Refer to Wiring Repair in Electrical Diagnosis.

Was a problem found?

--

Go to Step 11

Go to Step 9

6

  1. Visually/physically inspect for the following conditions:
  2. • Vacuum leaks.
    • Throttle body tampering (throttle lever stop screw turned).
    • Throttle plate or throttle shaft for binding.
    • Accelerator and cruise control cables for being misadjusted or for binding.
    • Faulty, missing, or incorrectly installed PCV valve.
  3. If a problem is found, repair as necessary.

Was a problem found?

--

Go to Step 11

Go to Step 7

7

  1. Check for a poor connection at the IAC harness connector.
  2. If a problem is found, replace faulty terminals as necessary. Refer to Wiring Repair in Electrical Diagnosis.

Was a problem found?

--

Go to Step 11

Go to Step 8

8

Replace the IAC valve. Go to IAC Valve Repair.

Is action complete?

--

Go to Step 11

--

9

  1. Check for a poor connection at the PCM harness connector.
  2. If a problem is found, replace faulty terminals as necessary. Refer to Wiring Repair in Electrical Diagnosis.

Was a problem found?

--

Go to Step 11

Go to Step 10

10

Replace the PCM.

Important:: The replacement PCM must be programmed. Go to Powertrain Control Module Replacement/Programming .

Is action complete?

--

Go to Step 11

--

11

  1. Start engine.
  2. Turn OFF all accessories (A/C, Rear defroster etc.).
  3. Using a scan tool, command RPM up to 1500, down to 500, and then up to 1500 while monitoring Engine Speed on the scan tool.

Does Engine Speed remain within the specified value of Desired Idle for each RPM command?

±50 RPM

System OK

Go to Step 2