GM Service Manual Online
For 1990-2009 cars only
Table 1: Shift Solenoid State and Gear Ratio
Table 2: DTC P0758 2-3 Shift Solenoid Electrical

Object Number: 29750  Size: MF
Automatic Transmission Components
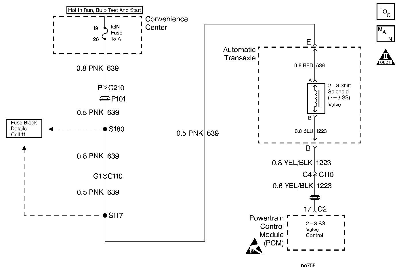
Automatic Transmission Controls Schematics
OBD II Symbol Description Notice
Handling ESD Sensitive Parts Notice

Circuit Description

The 2-3 Shift Solenoid Valve (1-2 SS Valve) controls the transmission fluid pressure on the 2-3 shift valve. The ECM fuse provides ignition voltage to the solenoid. The Output Driver Module (ODM), within the Powertrain Control Module (PCM), provides ground. The PCM monitors voltage levels at the ODM. When you command the 2-3 SS Valve ON, the PCM receives low voltage. When you command the 2-3 SS Valve OFF, the PCM receives high voltage.

DTC P0758 sets if the received voltage is outside the calibration limits. DTC P0758 is a type A DTC.

Conditions for Setting the DTC

    • No System Voltage Malfunction DTC P0560
    • The engine speed is greater than 500 RPM for 5 seconds.
    • Not in fuel shut off
    • No open or short to ground exists for 4.3 seconds.

Action Taken When the DTC Sets

    • The transmission will default to 3rd gear.
    • The PCM inhibits TCC operation.
    • The PCM illuminates the Malfunction Indicator Lamp (MIL).

Conditions for Clearing the MIL/DTC

    • The PCM turns OFF the MIL after three consecutive ignition cycles without a failure reported.
    • A scan tool can clear the DTC from the PCM history. The PCM clears the DTC from the PCM history if the vehicle completes 40 warm-up cycles without a failure reported.
    • The PCM cancels the DTC default actions when the fault no longer exists and the ignition is OFF long enough in order to power down the PCM.

Diagnostic Aids

    • Inspect the wiring for poor electrical connections at the PCM. Inspect the wiring at the transmission 7-way connector. Inspect the wiring at the 2-3 SS Valve connector. Look for the following conditions:
       - A bent terminal
       - A backed out terminal
       - A damaged terminal
       - Poor terminal tension
       - A chafed wire
       - A broken wire inside the insulation
    • When diagnosing for an intermittent short or open condition, massage the wiring harness while watching the test equipment for a change.

Shift Solenoid State and Gear Ratio

Gear

1-2 Shift Solenoid

2-3 Shift Solenoid

Gear Ratio

1st

ON

ON

2.921:1

2nd

OFF

ON

1.568:1

3rd

OFF

OFF

1.000:1

4th

ON

OFF

0.705:1

Reverse

ON

ON

2.385:1

Test Description

The numbers below refer to the step numbers on the diagnostic chart.

  1. This Step isolates the fault between the engine harness and the transmission harness.

  2. This Step verifies that circuit 1223 is not open or shorted to power.

  3. This Step verifies that the 2-3 solenoid is not shorted across its windings nor increased its resistance.

DTC P0758 2-3 Shift Solenoid Electrical

Step

Action

Value(s)

Yes

No

1

Were you sent here from the Powertrain On-Board Diagnostic (OBD) System Check?

--

Go to Step 2

Go to Powertrain On Board Diagnostic (OBD) System Check

2

  1. Install the scan tool (tech 1) ®.
  2. With the engine OFF, turn the ignition switch to the RUN position.
  3. Important: Before clearing the DTCs, use the scan tool in order to record the Freeze Frame and Failure Records for reference. The Clear Info function will erase the data.

  4. Record the DTC Freeze Frame and Failure Records.

Are DTCs P0753, P1860, and P1864 set?

--

Go to Step 3

Go to Step 6

3

  1. Remove the IGN fuse.
  2. Inspect the fuse for an open.

Refer to Troubleshooting Procedures, Section 8.

Did you find and correct a problem?

--

Go to Step 4

Go to Step 5

4

Repair the short to ground in circuit 639. Refer to Troubleshooting Procedures, Section 8.

Did you find and correct a problem?

--

Go to Step 19

--

5

Repair open in circuit 639. Refer to Troubleshooting Procedures, Section 8.

Did you find and correct a problem?

--

Go to Step 19

--

6

  1. Turn the ignition switch OFF.
  2. Disconnect the transmission 7-way connector.
  3. Install the J 38835 Transmission Electrical Jumper to the engine harness connector.
  4. Connect a test lamp from terminal E to terminal B of the jumper.
  5. Important: Additional DTCs will set.

  6. With the engine OFF, turn the ignition switch to the RUN position.

Is the test lamp ON?

--

Go to Step 7

Go to Step 8

7

Inspect circuit 1223 for a short to ground. Refer to Troubleshooting Procedures, Section 8.

Did you find and correct a problem?

--

Go to Step 19

Go to Step 18

8

  1. Select A/T Outputs, 2-3 Solenoid.
  2. Cycle the 2-3 solenoid ON and OFF three times.

Does the test lamp cycle ON and OFF as you commanded?

--

Go to Step 12

Go to Step 9

9

Inspect circuit 1223 for an open. Refer to Troubleshooting Procedures, Section 8.

Did you find and correct a problem?

--

Go to Step 19

Go to Step 10

10

Is the test lamp always OFF?

--

Go to Step 11

--

11

Inspect circuit 1223 for a short to power. Refer to Troubleshooting Procedures, Section 8.

Did you find and correct a problem?

--

Go to Step 19

Go to Step 18

12

  1. Turn the ignition OFF.
  2. Disconnect the Transmission Jumper from the engine harness.
  3. Connect the J 38835 Transmission Electrical Jumper to the transmission harness 7-way connector.
  4. Connect an ohmmeter from terminal E to terminal B of the jumper.

Is the measured resistance within the specified range?

19-31ohms

Go to Step 18

Go to Step 13

13

Is the resistance greater than the specified value?

100ohms

Go to Step 14

Go to Step 15

14

Inspect the RED wire circuit 639 and the YEL wire circuit 1223 for an open. Refer to Troubleshooting Procedures, Section 8.

Did you find and correct a problem?

--

Go to Step 19

Go to Step 17

15

Connect an ohmmeter from terminal B of the jumper to ground.

Is the measured resistance less than the specified value?

100ohms

Go to Step 16

Go to Step 17

16

Inspect the YEL wire circuit 1223 for a short to ground.

Did you find and correct a problem?

--

Go to Step 19

--

17

Replace the 2-3 Shift Solenoid. Refer to Solenoids and Wiring Harness, in On-Vehicle Service.

Is the replacement complete?

--

Go to Step 19

--

18

Replace the PCM. Refer to Powertrain Control Module Replacement/Programming , Section 6

Is the replacement complete?

--

Go to Step 19

--

19

In order to verify your repair, perform the following procedure:

  1. Select DTC.
  2. Select Clear Info.
  3. Operate the vehicle under the following conditions:
  4. • The ignition switch is ON.
    • The engine speed is more than 500 RPM for 5 seconds.
    • The vehicle is not in fuel shut off.
    • Drive the vehicle for a 2-3 shift cycle.
    • No open or short to ground exists for more than 4.3 seconds in each solenoid state.
  5. Select Specific DTC. Enter DTC P0758.

Has the test run and passed?

--

System OK

Begin the diagnosis again. Go to Step 1