GM Service Manual Online
For 1990-2009 cars only
Makes
🢒
Oldsmobile
🢒
2003
🢒
Silhouette
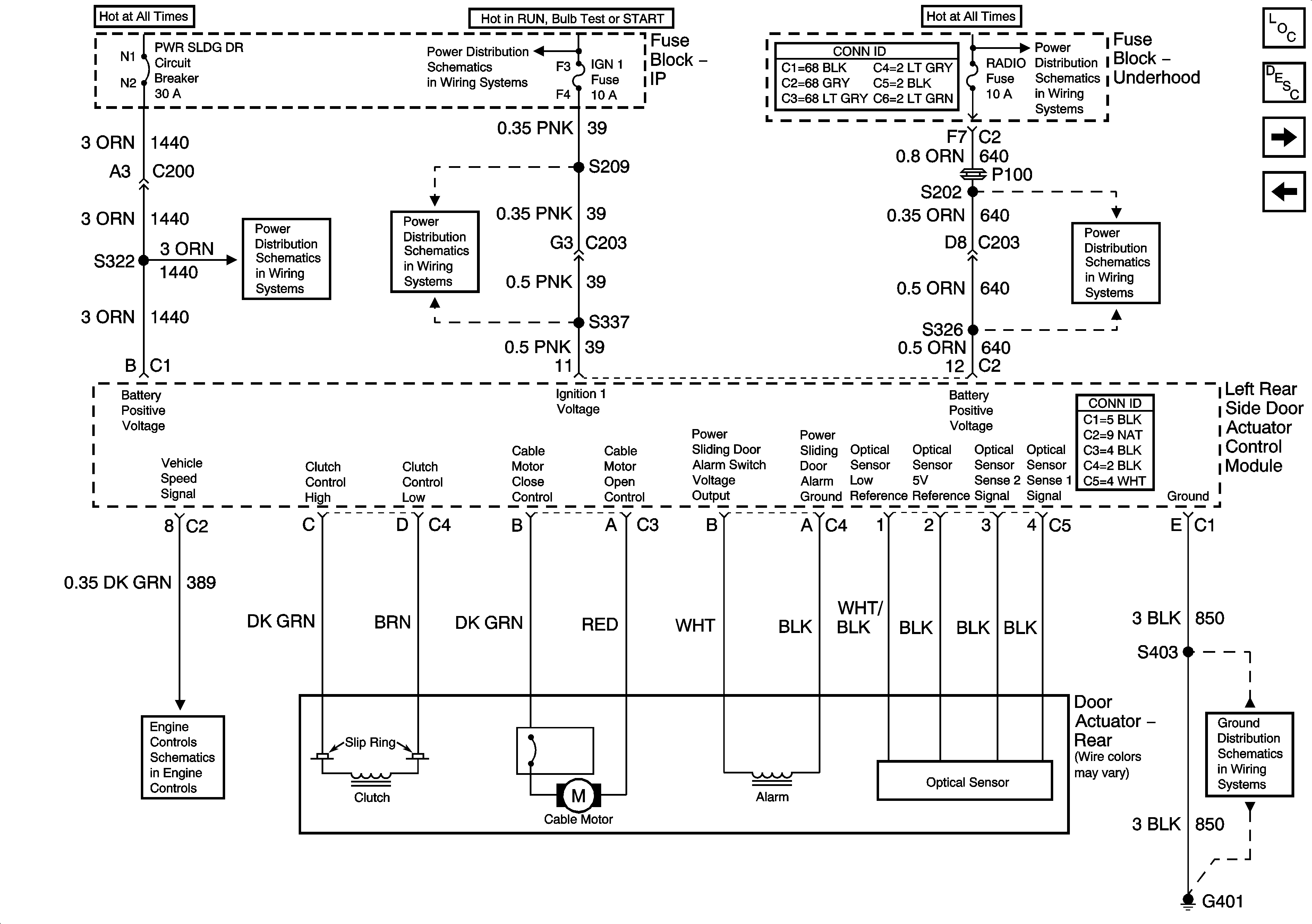
🢒 Left Door Power, Ground and PSD Motor
Left Door Power, Ground and PSD Motor
Left Door Power, Ground and PSD Motor
Master Electrical Component List
Power Sliding Door (PSD) Description and Operation
Left Door PSD Switches, Park/Neutral Switch and RCDLR
Right Door PSD Switches, Park/Neutral Switch and RCDLR
IGN Main 1, SDM, T/SIG, CRUISE and PCM PASS KEY/CLUSTER Fuses
EBCM, BATT Main 1, RADIO and PARK LP Fuses
BATT Main 2, ELC/TRAILER, RR FOG LP Fuses
IGN Main 1, SDM, T/SIG, CRUISE and PCM PASS KEY/CLUSTER Fuses
EBCM, BATT Main 1, RADIO and PARK LP Fuses
Engine Data Sensors - MAF and VSS
G401