GM Service Manual Online
For 1990-2009 cars only
Makes
🢒
Oldsmobile
🢒
2000
🢒
Silhouette Ext.
🢒
Brakes
🢒
Antilock Brake System
🢒 Instrument Cluster: Analog Schematics
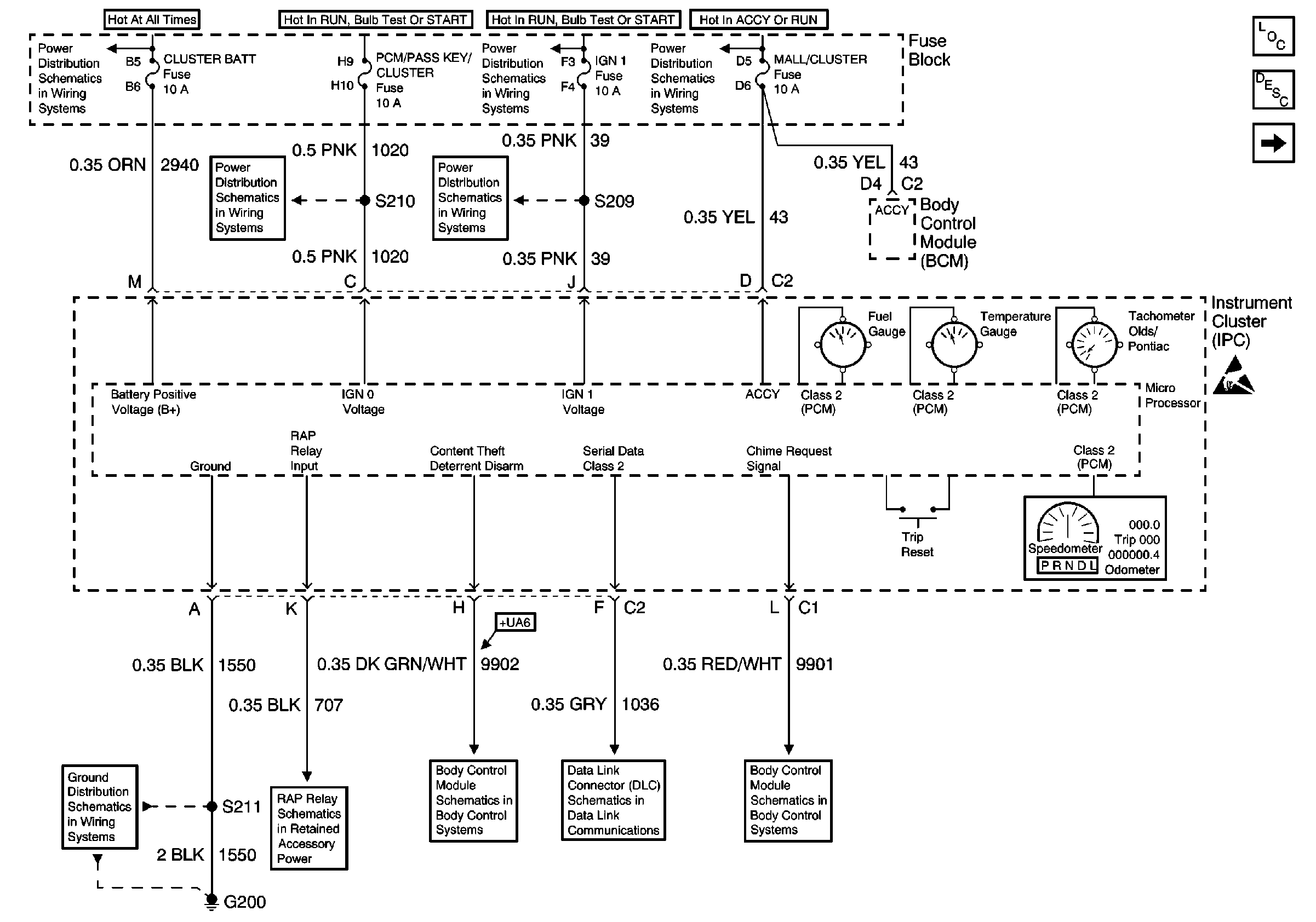
Figure
1:
Power, Ground, Class 2 Data Line, Gauges
Instrument Cluster Components
Instrument Cluster Operation
Hardwire Indicators
Handling ESD Sensitive Parts Notice
Cell 51: BCM: Interior Lights On Request, Horn Control
DLC Schematic
Cell 51: BCM: Interior Lights On Request, Horn Control
2000 U-Van RAP fig sio
Cell 14: G200
Ignition Switch, IGN Main 2, BCM PRORM, RR WPR/WSHR, MALL/Cluster and FRT/WPR/WSHR Fuses
IGN, SIR, T/S/G, Cruise, and PCM/Pass Key 1 Cluster Fuses
IGN, SIR, T/S/G, Cruise, and PCM/Pass Key 1 Cluster Fuses
IGN, SIR, T/S/G, Cruise, and PCM/Pass Key 1 Cluster Fuses
Cluster BATT, RR PWR SCKT, PWR Lock, Rap Relay, CTSY Lamp, FRT PWR SCKT, Cigar/DLC and PWR Mirror Fuses
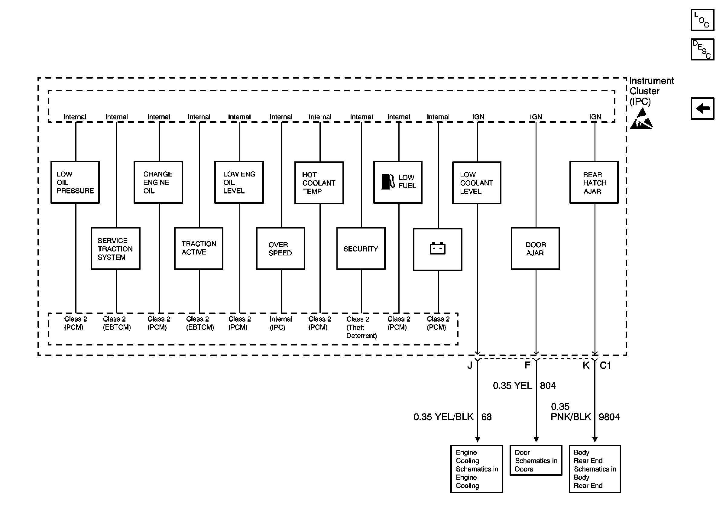
Figure
2:
Hardwire Indicators
Instrument Cluster Components
Instrument Cluster Operation
Class 2 Telltales
Power, Ground, Class 2 Data Line, Gauges
Handling ESD Sensitive Parts Notice
Fog Lights Schematics (Foglights) Cell 103)
Cell 110: Hazard Lamp/Turn Signal Flasher, Turn Signal Switch-Export
Power, Ground, MIL, DLC
00 U-Van Hydraulic Brakes Schematic, Brake Warning Syste
00 U-Van Hydraulic Brakes Schematic, Brake Warning Syste
00 U-Van Seat Belts Schematics
Cell 14: G200
Interior Lights Dimming Schematics (Cell 117: Headlamp and IP Lamp Dimmer Switch, Driver Information Display)
Hazard Lamp/Turn Signal Flasher, Turn Signal Switch
Headlights Schematics (Cell 100: Headlamp and IP Lamp Dimmer Switch)
Hazard Lamp/Turn Signal Flasher, Turn Signal Switch
Figure
3:
Class 2 Telltales
Instrument Cluster Components
Instrument Cluster Operation
Hardwire Indicators
Handling ESD Sensitive Parts Notice
IP REAR HATCH AJAR Telltale
IP DOOR AJAR Telltale
2000 U van Engine Cooling Schematics