GM Service Manual Online
For 1990-2009 cars only
Figure 1:

LH Side of IP, Under IP, Left of HVAC


Object Number: 447394  Size: LF
(1)HVAC
(2)LH Side of I/P
(3)I/P Harness
(4)Cross Car Beam (LH Side of I/P)
(5)Daytime Running Lamps (DRL) Control Module Mounting Bracket
(6)Daytime Running Lamps (DRL) Control Module
(7)Daytime Running Lamps (DRL) Control Module Connector C1
(8)Daytime Running Lamps (DRL) Control Module Connector C2
Figure 2:

RH Side of IP, Above Base of Steering Column


Object Number: 447381  Size: LF
(1)I/P Harness
(2)Hazard Lamp/Turn Signal Flasher
(3)Steering Column Extension Bracket
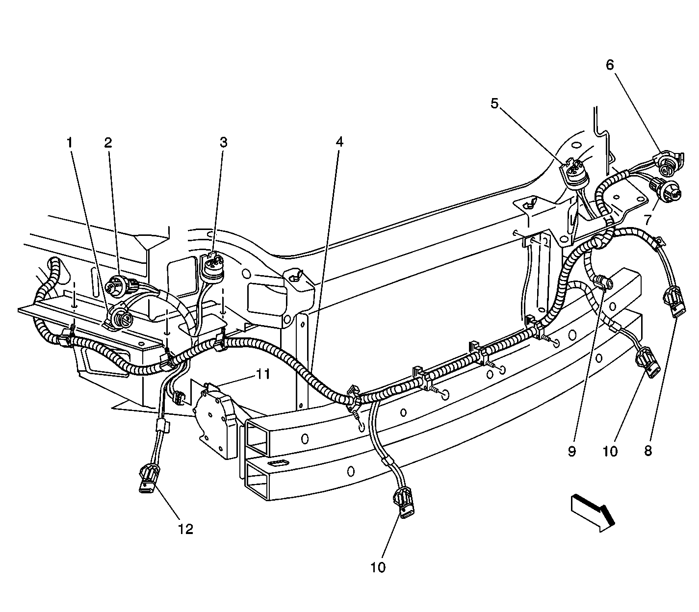
Figure 3:

Front of Vehicle


Object Number: 627120  Size: LF
(1)RF Park/Turn Lamp
(2)RF Side Marker Lamp
(3)RH Headlamp
(4)Forward Lamp Harness
(5)LH Headlamp
(6)LF Park/Turn Lamp
(7)LF Side Marker Lamp
(8)LH Fog Lamp (Pontiac)
(9)LH Horn
(10)LH and RH Fog Lamp (Oldsmobile)
(11)RH Horn
(12)RH Fog Lamp (Pontiac)
Figure 4:

LH Side of IP


Object Number: 447374  Size: LF
(1)I/P Harness
(2)Headlamp and I/P Lamp Dimmer Switch
Figure 5:

Front of Roof Headliner (Roof Console)


Object Number: 589890  Size: LF
(1)Connector to Windshield Header Courtesy/Reading Lamps
(2)Dome Lamp Harness
(3)Interior Lamp and Multi-function Switch Connector C1
(4)Interior Lamp and Multi-function Switch Connector C3
(5)Interior Lamp and Multi-function Switch Connector C4
(6)Interior Lamp and Multi-function Switch
(7)Interior Lamp and Multi-function Switch Connector C4 (Rear Quarter Window Switch)
(8)Interior Lamp and Multi-function Switch Connector C3 (Power Sliding Door Open/Close Switch)
(9)Interior Lamp and Multi-function Switch Connector C3 (Power Sliding Door On/Off Switch)
(10)Interior Lamp and Multi-function Switch Connector C1 (Interior Lamps Override Switch)
(11)Windshield Header Courtesy/Reading Lamps
Figure 6:

Rear Roof Headliner


Object Number: 447289  Size: LF
(1)RF Roof Rail Reading Lamp
(2)RR Roof Rail Reading Lamp
(3)Cargo Lamp
(4)LR Roof Rail Reading Lamp
(5)Dome Lamp
Figure 7:

Top of Liftgate


Object Number: 447256  Size: LF
(1)Center High Mounted Stop lamp (CHMSL)
(2)Connector to CHMSL
(3)Liftgate Harness
(4)Liftgate
(5)Rear Window Washer Nozzle
Figure 8:

LH Taillamp (RH Similar)


Object Number: 447259  Size: LF
(1)Connector to LH Taillamp
(2)Body Harness
(3)Pass Through P401 (P400 Similar)
(4)LH Taillamp
Figure 9:

License Lamps


Object Number: 625750  Size: LF
(1)License Lamps
Figure 10:

IP Compartment Lamp Switch


Object Number: 625812  Size: LF
(1)IP Compartment Lamp Switch
Figure 11:

Ashtray Lamp


Object Number: 625816  Size: LF
(1)Ashtray Lamp
Figure 12:

Turn Signal and Headlamp Dimmer Switch and Windsheild Wiper and Windsheild Washer Switch


Object Number: 626559  Size: LF
(1)Turn Signal and Headlamp Dimmer Switch and Windsheild Wiper and Windsheild Washer Switch
Figure 13:

Rear Fog Lamp Module (Export)


Object Number: 626562  Size: LF
(1)Rear Fog Lamp Module (Export)
Figure 14:

Forward Lamp Assembly


Object Number: 626563  Size: LF
(1)Park Lamp Assembly
(2)Park Lamp Bulb
(3)Side Marker Lamp
(4)Forward Lamp Harness
(5)Headlamp Assembly
(6)Headlamp Position Lamp (Export)