GM Service Manual Online
For 1990-2009 cars only

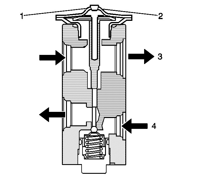
Object Number: 299177  Size: SH

The thermostatic expansion valve regulates the flow of refrigerant through the evaporator in order to optimize the evaporator's cooling performance. This assures that all of the liquid is evaporated before the refrigerant is returned to the compressor. The thermostatic expansion valve accomplishes this by performing the following functions:

  1. Monitoring the refrigerant conditions at the evaporator outlet
  2. Adjusting the inlet flow accordingly

The movement of the shaft pushes a ball. The ball controls the refrigerant flow. As the ball is unseated, more flow is allowed through the evaporator. The power dome controls the shaft movement. The power dome has two separate sides (1,2). The thermal side of the power dome is sealed and charged with refrigerant. The system side of the power dome is exposed to the pressure of the evaporator outlet or lower side. The sealed refrigerant in the thermal side responds to the temperature changes of the refrigerant that is flowing out of the evaporator. As the refrigerant temperature rises, the pressure of the thermal side increases.

If the pressure on the thermal side of the power dome is greater than the pressure on the system side (the evaporator outlet or low-side pressure), the shaft moves down. The shaft then pushes the ball off of the seat. This allows more refrigerant flow through the evaporator. A spring at the bottom of the thermostatic expansion valve is not adjustable. Although the thermostatic expansion valve controls the evaporator refrigerant flow, the PCM controls compressor cycling which manages the air conditioning capacity control. This prevents ice build-up.