GM Service Manual Online
For 1990-2009 cars only
Makes
🢒
Oldsmobile
🢒
2002
🢒
Silhouette Ext.
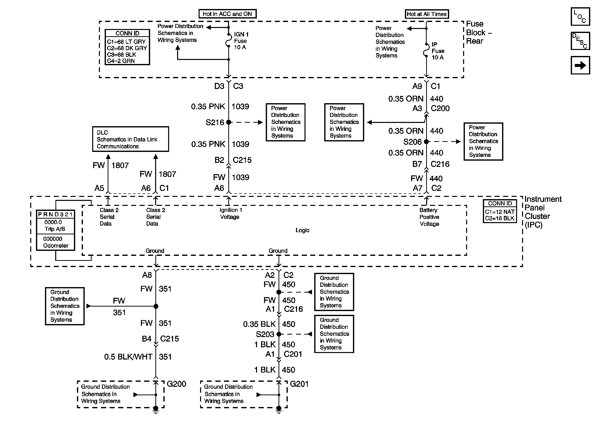
🢒 Power, Ground, and Class 2
Power, Ground, and Class 2
Power, Ground, and Class 2
Master Electrical Component List
IGN 1, VENT SOL, and SIR Fuses (Fuse Block - Rear)
Class 2 Serial Data
G200
G200
IGN 1, VENT SOL, and SIR Fuses (Fuse Block - Rear)
G201 (1 of 2)
G201 (1 of 2)
IP, CIGAR Fuses and the CIGAR Relay (Fuse Block - Rear)
PCM Signals - Speedometer, Tachometer, and Fuel Indicators
IP, CIGAR Fuses and the CIGAR Relay (Fuse Block - Rear)