GM Service Manual Online
For 1990-2009 cars only

Removal Procedure


    Object Number: 630649  Size: SH
  1. Raise and support the vehicle. Refer to Lifting and Jacking the Vehicle in General Information.
  2. Support the front of the differential with a suitable stand.
  3. Loosen, but do not remove, the torque tube-to-bracket through bolt (7) and nut (1).

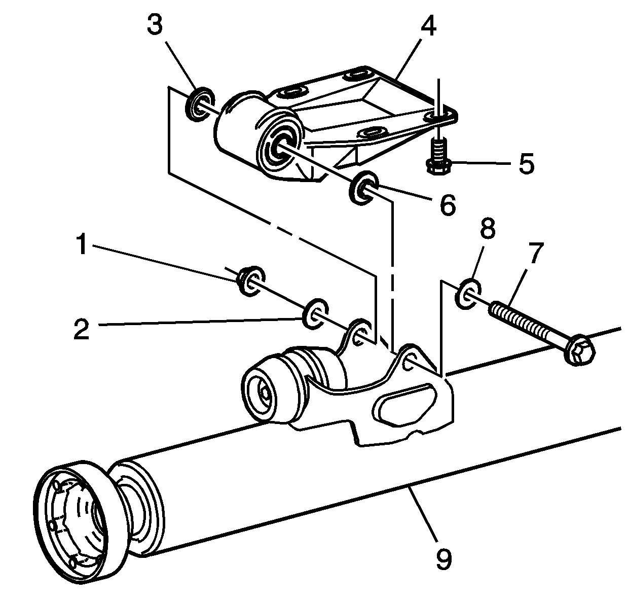
  4. Object Number: 690531  Size: SH
  5. Remove the cradle-to-differential mounting bolts (5), nuts (1), washers (2), and bushings (3) from the differential.
  6. Raise the stand slightly in order to gain access to the differential-to-cradle bushings.
  7. Remove the differential-to-cradle bushings (4).

Installation Procedure


    Object Number: 690531  Size: SH
  1. Install the differential-to-cradle bushings (4).
  2. Lower and remove the jack stand.
  3. Notice: Use the correct fastener in the correct location. Replacement fasteners must be the correct part number for that application. Fasteners requiring replacement or fasteners requiring the use of thread locking compound or sealant are identified in the service procedure. Do not use paints, lubricants, or corrosion inhibitors on fasteners or fastener joint surfaces unless specified. These coatings affect fastener torque and joint clamping force and may damage the fastener. Use the correct tightening sequence and specifications when installing fasteners in order to avoid damage to parts and systems.

  4. Install the cradle-to-differential mounting bolts (5), bushings (3), washers (2), and nuts (1) to the differential.
  5. Tighten
    Tighten the bolts and nuts to 50 N·m (37 lb ft).


    Object Number: 630649  Size: SH
  6. Secure the torque tube-to-bracket through bolt (7) and nut (1).
  7. Tighten
    Tighten the bolt and nut to 64 N·m (47 lb ft).

  8. Lower the vehicle.