GM Service Manual Online
For 1990-2009 cars only
Makes
🢒
Oldsmobile
🢒
2003
🢒
Silhouette Ext.
🢒
Body and Accessories
🢒
Wiring Systems
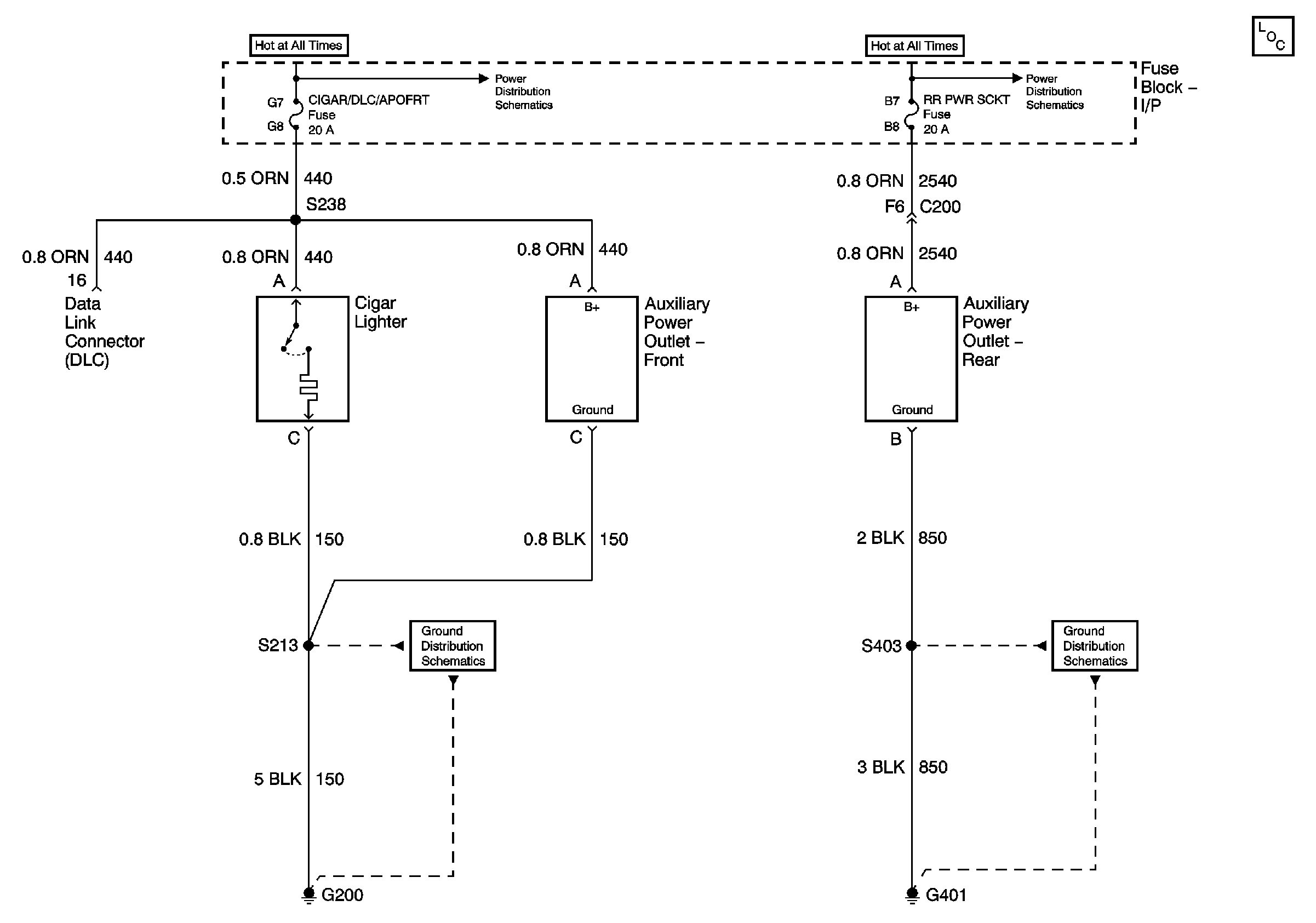
🢒 Cigar Lighter/Power Outlet Schematics
Master Electrical Component List
BATT Main 1 and Fuse Block - I/P Fuses
G200, Page 1 of 3
BATT Main 1 and Fuse Block - I/P Fuses
G402