| Table 1: | Fuse Block-I/P Application Table | 
| Table 2: | Fuse Block-I/P Application Table | 
| Table 3: | Fuse Block-Underhood Maxifuse® Application Table | 
| Table 4: | Fuse Block C1 Underhood | 
| Table 5: | Fuse Block C2 Underhood | 
| Table 6: | Fuse Block C3 Underhood | 
| Table 7: | Fuse Block C4 Underhood | 
| Table 8: | Fuse Block C5 Underhood | 
| Table 9: | Fuse Block C6 Underhood | 
| Table 10: | Relay Block-Domestic | 
| Table 11: | Relay Block-Export | 
Fuse/Circuit Breaker  | Rating  | Description  | 
|---|---|---|
BCM PRGRM  | 10A  | Body Control Module (BCM)  | 
ENHANCED EVAP/AWD  | 15A  | Evaporative Emission (EVAP) Canister Vent Solenoid, Clutch Pump Check Valve  | 
CIGAR/DLC/APO FRT  | 20A  | Auxiliary Power Outlet-Front, Cigar Lighter, Data Link Connector (DLC)  | 
CLUSTER/BATT  | 10A  | Instrument Panel Cluster (IPC)  | 
CRUISE  | 10A  | Cruise Control Module (CCM), Cruise Control Release Switch, Cruise Control ON/OFF Switch  | 
CTSY LAMP  | 10A  | Body Control Module (BCM)  | 
DRL  | 10A  | Daytime Running Lamps (DRL) Control Module  | 
HVAC/DIC/DRL/HEATED SEAT  | 10A  | Air Temperature Actuator-Left, Air Temperature Actuator-Right, Daytime Running Lamps (DRL) Control Module, Driver Information Center (DIC), Mode Actuator, Rear Window Wiper/Washer and Multifunction Switch (Heated Seat Switch), Recirculation Actuator, Relay Block (Rear Window Defogger Relay)  | 
ELC/TRAILER  | 25A  | Auto Level Control (ALC) Air Compressor, Auto Level Control (ALC) Air Inflator Relay, Auto Level Control (ALC) Sensor  | 
FRT HVAC HI BLWR  | 30A  | Blower Motor Resistor Assembly  | 
FRT WPR/WSHR  | 25A  | Windshield Wiper Motor, Windshield Wiper/Washer Switch  | 
HAZARD  | 15A  | Turn Signal/Multifunction Switch  | 
HEADLAMP  | 20A  | Daytime Running Lamps (DRL) Control Module, Headlamp Dimmer Switch, Headlamp Switch  | 
HTD MIRROR  | 10A  | Outside Rearview Mirrors-Left, Right  | 
HVAC/BLOWER  | 25A  | HVAC Control Module  | 
IGN1  | 10A  | Body Control Module (BCM), Instrument Panel Cluster (IPC), Left Rear Side Door Actuator Control Module, Rear Object Sensor Control Module, Right Rear Side Door Actuator Control Module, Stop Lamp Switch  | 
LH HEADLP HIGH  | 10A  | Headlamp High Beam-Left  | 
LH HEADLP LOW  | 10A  | Headlamp Low Beam-Left  | 
LH T/LP  | 10A  | Tail Lamp-Left, Trailer Rear Wiring Harness  | 
MALL/CLUSTER  | 10A  | Body Control Module (BCM), Instrument Panel Cluster (IPC)  | 
ON STAR  | 5A  | Vehicle Interface Unit (VIU)  | 
PASS KEY  | 10A  | Theft Deterrent Control Module  | 
PCM/ABS  | 10A  | Electronic Brake Control Module (EBCM), Fuse Block-Underhood, Powertrain Control Module (PCM), Park/Neutral Position (PNP) Switch  | 
PCM/CRANK  | 10A  | Powertrain Control Module (PCM)  | 
PCM/PASS KEY/CLUSTER  | 10A  | Instrument Panel Cluster (IPC), Powertrain Control Module (PCM), Theft Deterrent Control Module, Instrument Panel Cluster (IPC), Powertrain Control Module (PCM)  | 
PWR LOCK  | 20A  | Body Control Module (BCM)  | 
PWR MIRROR  | 10A  | Outside Rearview Mirror Switch  | 
PWR QTR VENT  | 10A  | Auto Level Control (ALC) Air Compressor, Auto Level Control (ALC) Sensor, Rear Quarter Window Switch  | 
PWR/HEATED SEAT PSD  | 30A  | Driver Seat Assembly, Passenger Seat Assembly  | 
PWR SLDG DR  | 30A  | Left Rear Side Door Actuator Control Module, Right Rear Side Door Actuator Control Module  | 
PWR WDO  | 30A  | Window Switch-Driver, Window Switch-Front Passenger  | 
RAP RELAY  | 10A  | Relay Block (RAP Relay)  | 
RH HEADLP HIGH  | 10A  | Headlamp High Beam-Right  | 
RH HEADLP LOW  | 10A  | Headlamp Low Beam-Right  | 
RR HVAC/TEMP CONT  | 25A  | Air Temperature Actuator-Auxiliary, Blower Motor-Auxiliary, Blower Motor Relay-Auxiliary, HVAC Control Assembly-Auxiliary, Mode Actuator-Auxiliary  | 
RR DEFOG/ HTD MIRROR  | 30A  | Window Defogger Relay-Rear  | 
RR FOG LP  | 10A  | Fog Lamp Relay-Rear  | 
RR PWR SCKT  | 20A  | Auxiliary Power Outlet-Rear  | 
RH T/LP  | 10A  | Tail Lamp-Right, Trailer Rear Wiring Harness  | 
RR WPR/WSHR  | 20A  | Window Wiper Motor-Rear, Rear Window Wiper/Washer and Multifunction Switch  | 
SIR  | 15A  | Inflatable Restraint Sensing and Diagnostic Module (SDM)  | 
STOP LAMP  | 15A  | Stop Lamp Switch  | 
SWC BACKLIGHT  | 2A  | Steering Wheel Controls-Left, Right  | 
T/SIG  | 10A  | Turn Signal Switch and Backup Lamp Relay  | 
Connector Part Information  | 
 
  | ||||||
|---|---|---|---|---|---|---|---|
Pin  | Wire Color  | Circuit No.  | Function  | ||||
A1  | PNK  | 3  | Ignition 1 Voltage  | ||||
A2  | PNK  | 439  | Ignition 1 Voltage  | ||||
A3-A5  | --  | --  | Not Used  | ||||
A6  | PNK  | 1039  | Ignition 1 Voltage  | ||||
A7  | --  | --  | Not Used  | ||||
A8  | PNK  | 1839  | Ignition 1 Voltage  | ||||
A9  | PPL  | 293  | Rear Defog Element Supply Voltage  | ||||
A10  | ORN  | 267  | Heated Mirror/Rear Defog Relay Coil Supply Voltage  | ||||
B1  | LT GRN  | 11  | Headlamp Dimmer Switch Signal  | ||||
B2  | LT GRN/BLK  | 311  | Right Headlamp High Beam Supply Voltage  | ||||
B3  | --  | --  | Not Used  | ||||
B4  | DK GRN/WHT  | 711  | Left Headlamp High Beam Supply Voltage  | ||||
B5  | RED  | 242  | Battery Positive Voltage  | ||||
B6  | ORN  | 2940  | Battery Positive Voltage  | ||||
B7  | --  | --  | Not Used  | ||||
B8  | ORN  | 2540  | Battery Positive Voltage  | ||||
B9  | --  | --  | Not Used  | ||||
B10  | ORN  | 1540  | Battery Positive Voltage  | ||||
C1  | TAN  | 12  | Right Headlamp High Beam Supply Voltage  | ||||
C2  | TAN/WHT  | 312  | Right Headlamp Low Beam Supply Voltage  | ||||
C3  | --  | --  | Not Used  | ||||
C4  | YEL  | 712  | Left Headlamp Low Beam Supply Voltage  | ||||
C5  | RED  | 642  | Battery Positive Voltage  | ||||
C6  | ORN  | 140  | Battery Positive Voltage  | ||||
C7  | --  | --  | Not Used  | ||||
C8  | ORN  | 1840  | Battery Positive Voltage  | ||||
C9  | --  | --  | Not Used  | ||||
C10  | ORN  | 3140  | Battery Positive Voltage  | ||||
D1  | BRN  | 4  | Accessory Voltage  | ||||
D2  | ORN/BLK  | 1445  | BCM Program Enable Signal  | ||||
D3  | --  | --  | Not Used  | ||||
D4  | WHT  | 393  | Rear Window Wiper Motor Control  | ||||
D5  | --  | --  | Not Used  | ||||
D6  | YEL  | 43  | Accessory Voltage  | ||||
YEL  | 43  | Accessory Voltage  | |||||
D7  | --  | --  | Not Used  | ||||
D8  | YEL  | 243  | Accessory Voltage  | ||||
D9  | YEL  | 5  | Crank Voltage  | ||||
D10  | PPL  | 806  | Crank Voltage  | ||||
E1  | ORN  | 300  | Ignition 3 Voltage  | ||||
E2  | BRN  | 241  | Ignition 3 Voltage  | ||||
E3  | --  | --  | Not Used  | ||||
E4  | BRN  | 641  | Ignition 3 Voltage  | ||||
E5  | --  | --  | Not Used  | ||||
E6  | BRN  | 41  | Ignition 3 Voltage  | ||||
E7  | DK BLU  | 75  | RAP Relay Switch Supply Voltage  | ||||
E8  | YEL  | 743  | Accessory Voltage  | ||||
E9-E10  | --  | --  | Not Used  | ||||
F1-F2  | --  | --  | Not Used  | ||||
F3  | PNK  | 3  | Ignition 1 Voltage  | ||||
F4  | PNK  | 39  | Ignition 1 Voltage  | ||||
F5  | --  | --  | Not Used  | ||||
F6  | YEL  | 1139  | Ignition 1 Voltage  | ||||
F7  | --  | --  | Not Used  | ||||
F8  | PNK  | 539  | Ignition 1 Voltage  | ||||
PNK  | 539  | Ignition 1 Voltage  | |||||
F9  | --  | --  | Not Used  | ||||
F10  | PNK  | 739  | Ignition 1 Voltage  | ||||
G1  | RED  | 242  | Battery Positive Voltage  | ||||
G2  | ORN  | 2440  | Battery Positive Voltage  | ||||
ORN  | 2440  | Battery Positive Voltage  | |||||
G3  | --  | --  | Not Used  | ||||
G4  | ORN  | 240  | Battery Positive Voltage  | ||||
G5  | --  | --  | Not Used  | ||||
G6  | ORN  | 1740  | Battery Positive Voltage  | ||||
G7  | --  | --  | Not Used  | ||||
G8  | ORN  | 440  | Battery Positive Voltage  | ||||
G9  | --  | --  | Not Used  | ||||
G10  | ORN  | 1140  | Battery Positive Voltage  | ||||
H1-H2  | --  | --  | Not Used  | ||||
H3  | RED  | 742  | Battery Positive Voltage  | ||||
H4  | ORN  | 1240  | Battery Positive Voltage  | ||||
H5  | --  | --  | Not Used  | ||||
H6  | ORN  | 1040  | Battery Positive Voltage  | ||||
H7  | --  | --  | Not Used  | ||||
H8  | ORN  | 1640  | Battery Positive Voltage  | ||||
H9  | WHT  | 1390  | Off/Run/Crank Voltage  | ||||
H10  | PNK  | 1020  | Off/Run/Crank Voltage  | ||||
J1-J4  | --  | --  | Not Used  | ||||
J5  | BRN  | 9  | Park Lamp Supply Voltage  | ||||
J5  | PPL  | 256  | Park Lamp Supply Voltage (Export)  | ||||
J6  | PPL  | 709  | Left Park Lamp Supply Voltage  | ||||
J7  | --  | --  | Not Used  | ||||
J8  | BRN/WHT  | 309  | Right Park Lamp Supply Voltage  | ||||
J9  | GRY  | 8  | Instrument Panel Lamp Supply Voltage-1  | ||||
J10  | BRN  | 1244  | Instrument Panel Lamp Supply Voltage-2  | ||||
K1  | ORN  | 40  | Battery Positive Voltage  | ||||
K2  | RED  | 642  | Battery Positive Voltage  | ||||
L1  | ORN  | 340  | Battery Positive Voltage  | ||||
L2  | RED  | 742  | Battery Positive Voltage  | ||||
M1  | YEL  | 143  | Accessory Voltage  | ||||
M2  | DK BLU  | 75  | RAP Relay Switch Supply Voltage  | ||||
N1  | RED  | 742  | Battery Positive Voltage  | ||||
N2  | ORN  | 1440  | Battery Positive Voltage  | ||||
P1  | ORN  | 2340  | Battery Positive Voltage  | ||||
P2  | --  | --  | Not Used  | ||||
P3  | RED  | 642  | Battery Positive Voltage  | ||||
Fuse  | Rating  | Description  | ||||||||||||||||||||
|---|---|---|---|---|---|---|---|---|---|---|---|---|---|---|---|---|---|---|---|---|---|---|
1-COOL FAN 2  | 30A  | Coolant Fans  | ||||||||||||||||||||
3-HEADLAMPS  | 60A  | Circuit Breakers: 
 
 Fuses: 
 
 
  | ||||||||||||||||||||
4-BATT MAIN 2  | 60A  | Circuit Breaker: 
 Fuses: 
 
 
 
 
  | ||||||||||||||||||||
5-IGN MAIN 1  | 40A  | Ignition Switch to Fuses: 
 
 
 
 
 
 
 
 
  | ||||||||||||||||||||
6-COOL FAN 1  | 30A  | Coolant Fans  | ||||||||||||||||||||
7-BATT MAIN 1  | 60A  | Fuses: 
 
 
 
 
 
 
 
  | ||||||||||||||||||||
8-IGN MAIN 2  | 60A  | Ignition Switch to Fuses: 
 
 
 
 
 
 
 
 
 
  | ||||||||||||||||||||
18-INJ  | 10A  | Fuel Injectors 1-6  | ||||||||||||||||||||
21-IGNI-UH  | 15A  | 
 
 
 
 
  | ||||||||||||||||||||
25-ELEK IGN  | 15A  | Ignition Control Module (ICM)  | ||||||||||||||||||||
27-B/U LAMP  | 10A  | Park/Neutral Position (PNP) Switch to Backup Lamps  | ||||||||||||||||||||
28-A/C CLU  | 10A  | A/C CLU Relay to A/C Compressor Clutch  | ||||||||||||||||||||
29-RADIO  | 10A  | 
 
 
 
 
 
 
  | ||||||||||||||||||||
30-ALT SENSE  | 10A  | Generator  | ||||||||||||||||||||
31-TCC  | 10A  | 
 
  | ||||||||||||||||||||
32-FUEL PUMP  | 15A  | Fuel Pump Relay  | ||||||||||||||||||||
33-ECM SENSE  | 10A  | Powertrain Control Module (PCM)  | ||||||||||||||||||||
35-FOG LP  | 10A  | Fog Lamp Relay  | ||||||||||||||||||||
36-HORN  | 15A  | Horn Relay  | ||||||||||||||||||||
37-PARK LP  | 20A  | 
 
 
  | ||||||||||||||||||||
39-AIR  | 30A  | Air Pump Relay  | 
 
 | |||||||
|---|---|---|---|---|---|---|---|
Connector Part Information  | 
 
  | ||||||
Pin  | Wire Color  | Circuit No.  | Function  | ||||
A1-A4  | --  | --  | Not Used  | ||||
A5  | DK GRN/WHT  | 465  | Fuel Pump Relay Control  | ||||
A6-A7  | --  | --  | Not Used  | ||||
A8  | ORN  | 840  | Battery Positive Voltage  | ||||
A9  | PNK  | 339  | Ignition 1 Voltage  | ||||
A10  | WHT  | 504  | Cooling Fan Low Reference  | ||||
A11  | --  | --  | Not Used  | ||||
A12  | PNK  | 639  | Ignition 1 Voltage  | ||||
B1-B2  | --  | --  | Not Used  | ||||
B3  | PNK  | 339  | Ignition 1 Voltage  | ||||
B4  | RED  | 490  | Fuel Pump Relay Prime Supply Voltage  | ||||
B5  | BLK/WHT  | 451  | Ground  | ||||
B6  | --  | --  | Not Used  | ||||
B7  | PNK  | 1339  | Ignition 1 Voltage  | ||||
B8  | --  | --  | Not Used  | ||||
B9  | PNK  | 339  | Ignition 1 Voltage  | ||||
B10-B12  | --  | --  | Not Used  | ||||
C1 - C8  | --  | --  | Not Used  | ||||
C9  | PNK  | 339  | Ignition 1 Voltage  | ||||
C10  | DK BLU  | 473  | High Speed Cooling Fan Relay Control  | ||||
C11  | BLK  | 1050  | Ground  | ||||
C12  | --  | --  | Not Used  | ||||
D1-D2  | --  | --  | Not Used  | ||||
D3  | BRN  | 436  | Air Injection Pump Control  | ||||
D4-D8  | --  | --  | Not Used  | ||||
D9  | PNK  | 339  | Ignition 1 Voltage  | ||||
D10  | --  | --  | Not Used  | ||||
D11  | PNK  | 439  | Ignition 1 Voltage  | ||||
D12  | TAN/BLK  | 231  | Oil Pressure Switch Signal  | ||||
TAN/BLK  | 231  | Oil Pressure Switch Signal  | |||||
E1  | --  | --  | Not Used  | ||||
E2  | ORN  | 540  | Battery Positive Voltage  | ||||
E3  | --  | --  | Not Used  | ||||
E4  | LT GRN  | 275  | Park Neutral Position Switch Park Signal  | ||||
E5  | DK GRN  | 389  | Vehicle Speed Signal  | ||||
E6-E11  | --  | --  | Not Used  | ||||
E12  | ORN  | 2740  | Battery Positive Voltage  | ||||
F1  | --  | --  | Not Used  | ||||
F2  | GRY  | 532  | Cooling Fan Motor Supply Voltage  | ||||
F3  | DK GRN  | 335  | Low Speed Cooling Fan Relay Control  | ||||
F4  | LT BLU  | 1296  | Axle Actuator - Control  | ||||
F5  | LT GRN  | 24  | Backup Lamp Supply Voltage  | ||||
F6  | WHT  | 17  | Stop Lamp Signal  | ||||
F7  | DK GRN/WHT  | 459  | A/C Compressor Clutch Relay Control  | ||||
F8  | DK GRN  | 59  | A/C Compressor Clutch Supply Voltage Feed  | ||||
F9  | PNK  | 239  | Ignition 1 Voltage  | ||||
F10  | --  | --  | Not Used  | ||||
F11  | LT BLU  | 409  | Cooling Fan Motor Supply Voltage  | ||||
F12  | --  | --  | Not Used  | ||||
 
 | |||||||
|---|---|---|---|---|---|---|---|
Connector Part Information  | 
 
  | ||||||
Pin  | Wire Color  | Circuit No.  | Function  | ||||
A1-A3  | --  | --  | Not Used  | ||||
A4  | LT BLU  | 1296  | Axle Actuator - Control  | ||||
A5  | LT GRN/BLK  | 24  | Backup Lamp Supply Voltage  | ||||
A6  | WHT  | 17  | Stop Lamp Switch Signal  | ||||
A7-A12  | --  | --  | Not Used  | ||||
B1-B4  | --  | --  | Not Used  | ||||
B5  | GRY  | 120  | Fuel Pump Supply Voltage  | ||||
B6-B12  | --  | --  | Not Used  | ||||
C1-C3  | --  | --  | Not Used  | ||||
C4  | LT GRN  | 275  | Park Neutral Position Switch Park Signal  | ||||
C5  | --  | --  | Not Used  | ||||
C8  | DK GRN  | 389  | Vehicle Speed Signal  | ||||
C9  | --  | --  | Not Used  | ||||
C10  | PNK  | 439  | Ignition 1 Voltage  | ||||
C11-C12  | --  | --  | Not Used  | ||||
D1  | ORN  | 1340  | Battery Positive Voltage  | ||||
ORN  | 1340  | Battery Positive Voltage  | |||||
D2-D3  | --  | --  | Not Used  | ||||
D4  | LT GRN  | 275  | Park Neutral Position Switch Park Signal  | ||||
D5  | PNK  | 1339  | Ignition 1 Voltage  | ||||
D8-D10  | --  | --  | Not Used  | ||||
D11  | TAN/BLK  | 231  | Oil Pressure Switch Signal -- Export  | ||||
D12  | --  | --  | Not Used  | ||||
E1  | ORN  | 1340  | Battery Positive Voltage  | ||||
E2-E4  | --  | --  | Not Used  | ||||
E5  | YEL  | 317  | Fog Lamp Relay Coil Supply Voltage  | ||||
E6  | --  | --  | Not Used  | ||||
E7  | BLK  | 28  | Horn Relay Controll  | ||||
BLK  | 28  | Horn Relay Controll  | |||||
E8  | DK GRN  | 389  | Vehicle Speed Signal  | ||||
DK GRN  | 389  | Vehicle Speed Signal  | |||||
E9-E10  | --  | --  | Not Used  | ||||
E11  | LT GRN/BLK  | 311  | Right Headlamp High Beam Supply Voltage (Export)  | ||||
YEL  | 18  | Left Rear Stop/Turn Lamp Supply Voltage  | |||||
E12  | --  | --  | Not Used  | ||||
F1-F3  | --  | --  | Not Used  | ||||
F4  | DK GRN/WHT  | 711  | High Beam Headlamp Feed (wT90)  | ||||
LT GRN  | 11  | Headlamp High Beam Supply Voltage  | |||||
F5  | PPL  | 34  | Fog Lamps Supply Voltage  | ||||
PPL  | 34  | Fog Lamps Supply Voltage  | |||||
F6  | --  | --  | Not Used  | ||||
F7  | ORN  | 640  | Battery Positive Voltage  | ||||
F8  | YEL  | 712  | Left Headlamp Low Beam Supply Voltage (Export)  | ||||
TAN  | 12  | Headlamp Low Beam Supply Voltage  | |||||
F9  | LT BLU  | 14  | Left Turn Signal Lamps Voltage  | ||||
F10  | DK BLU  | 15  | Right Turn Signal Lamps Supply Voltage  | ||||
F11  | BRN  | 9  | Park Lamp Supply Voltage  | ||||
F12  | TAN/WHT  | 312  | Right Headlamp Low Beam Supply Voltage (Export)  | ||||
F12  | DK GRN  | 19  | Right Rear Stop/Turn Lamp Supply Voltage  | ||||
 
 | |||||||
|---|---|---|---|---|---|---|---|
Connector Part Information  | 
 
  | ||||||
Pin  | Wire Color  | Circuit No.  | Function  | ||||
A1  | ORN  | 3040  | Battery Positive Voltage  | ||||
A2-A3  | --  | --  | Not Used  | ||||
A4  | LT GRN  | 11  | Headlamp High Beam Supply Voltage  | ||||
DK GRN/WHT  | 711  | Left Headlamp High Beam Supply Voltage (Export)  | |||||
A5  | PPL  | 34  | Fog Lamps Supply Voltage  | ||||
A6  | --  | --  | Not Used  | ||||
A7  | DK GRN  | 29  | Horn Control  | ||||
A8  | YEL  | 712  | Left Headlamp Low Beam Supply Voltage (Export)  | ||||
TAN  | 12  | Healamp Low Beam Supply Voltage  | |||||
A9  | LT BLU  | 14  | Left Turn Signal Lamps Supply Voltage  | ||||
LT BLU  | 14  | Left Turn Signal Lamps Supply Voltage  | |||||
A10  | DK BLU  | 15  | Right Turn Signal Lamps Supply Voltage  | ||||
DK BLU  | 15  | Right Turn Signal Lamps Supply Voltage  | |||||
A11  | BRN  | 9  | Park Lamp Supply Voltage  | ||||
A12  | TAN/WHT  | 312  | Right Headlamp Low Beam Supply Voltage  | ||||
DK GRN  | 19  | Right Rear Stop/Turn Lamp Supply Voltage  | |||||
B1-B3  | --  | --  | Not Used  | ||||
B4  | LT GRN  | 11  | Headlamp High Beam Supply Voltage  | ||||
B5  | PPL  | 34  | Fog Lamps Supply Voltage  | ||||
B6  | --  | --  | Not Used  | ||||
B7  | DK GRN  | 29  | Horn Control  | ||||
B8  | TAN  | 12  | Headlamp Low Beam Supply Voltage  | ||||
B9-B10  | --  | --  | Not Used  | ||||
B11  | BRN  | 9  | Park Lamp Supply Voltage  | ||||
B12  | --  | --  | Not Used  | ||||
C1-C10  | --  | --  | Not Used  | ||||
C11  | BRN  | 9  | Park Lamp Supply Voltage  | ||||
C12  | --  | --  | Not Used  | ||||
D1-D10  | --  | --  | Not Used  | ||||
D11  | BRN  | 9  | Park Lamp Supply Voltage  | ||||
D12  | --  | --  | Not Used  | ||||
E1-E8  | --  | --  | Not Used  | ||||
E9  | PNK  | 339  | Ignition 1 Voltage  | ||||
E10  | --  | --  | Not Used  | ||||
E11  | LT GRN/BLK  | 311  | Right Headlamp High Beam Supply Voltage (Export)  | ||||
YEL  | 18  | Left Rear Stop/Turn Lamp Supply Voltage  | |||||
E12  | --  | --  | Not Used  | ||||
F1-F12  | --  | --  | Not Used  | ||||
 
 | |||||||
|---|---|---|---|---|---|---|---|
Connector Part Information  | 
 
  | ||||||
Pin  | Wire Color  | Circuit No.  | Function  | ||||
A  | RED  | 242  | Battery Positive Voltage  | ||||
B  | RED  | 142  | Battery Positive Voltage  | ||||
RED  | 142  | Battery Positive Voltage  | |||||
 
 | |||||||
|---|---|---|---|---|---|---|---|
Connector Part Information  | 
 
  | ||||||
Pin  | Wire Color  | Circuit No.  | Function  | ||||
A  | --  | --  | Not Used  | ||||
B  | RED  | 42  | Battery Positive Voltage  | ||||
 
 | |||||||
|---|---|---|---|---|---|---|---|
Connector Part Information  | 
 
  | ||||||
Pin  | Wire Color  | Circuit No.  | Function  | ||||
A  | RED  | 642  | Battery Positive Voltage  | ||||
B  | RED  | 742  | Battery Positive Voltage  | ||||
 
 | |||||||
|---|---|---|---|---|---|---|---|
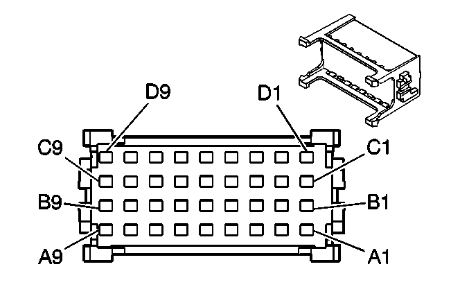
Connector Part Information  | 
 
  | ||||||
Pin  | Wire Color  | Circuit No.  | Function  | ||||
A1-A9  | --  | --  | Not Used  | ||||
B1  | DK BLU  | 75  | RAP Relay Switch Supply Voltage  | ||||
B2  | --  | --  | Not Used  | ||||
B3  | ORN  | 2240  | Battery Positive Voltage  | ||||
B4  | --  | --  | Not Used  | ||||
B5  | PPL  | 293  | Rear Defog Element Supply Voltage  | ||||
B6  | --  | --  | Not Used  | ||||
B7  | BRN  | 241  | Ignition 3 Voltage  | ||||
B8-B9  | --  | --  | Not Used  | ||||
C1  | BLK  | 707  | RAP Relay Coil Supply Voltage  | ||||
BLK  | 707  | RAP Relay Coil Supply Voltage  | |||||
C2  | --  | --  | Not Used  | ||||
C3  | RED  | 142  | Battery Positive Voltage  | ||||
C4  | --  | --  | Not Used  | ||||
C5  | WHT  | 193  | Rear Defog Relay Control  | ||||
C6  | --  | --  | Not Used  | ||||
C7  | ORN  | 1040  | Battery Positive Voltage  | ||||
C8-C9  | --  | --  | Not Used  | ||||
D1-D9  | --  | --  | Not Used  | ||||
 
 | |||||||
|---|---|---|---|---|---|---|---|
Connector Part Information  | 
 
  | ||||||
Pin  | Wire Color  | Circuit No.  | Function  | ||||
A1-A9  | --  | --  | Not Used  | ||||
B1  | ORN  | 1640  | Battery Positive Voltage  | ||||
B2-B9  | --  | --  | Not Used  | ||||
C1  | YEL  | 1870  | Left Rear Fog Lamp Control  | ||||
C2  | --  | --  | Not Used  | ||||
C3  | RED  | 122  | Rear Fog Lamps Supply Voltage  | ||||
C4-C9  | --  | --  | Not Used  | ||||
D1-D9  | --  | --  | Not Used  | ||||