GM Service Manual Online
For 1990-2009 cars only

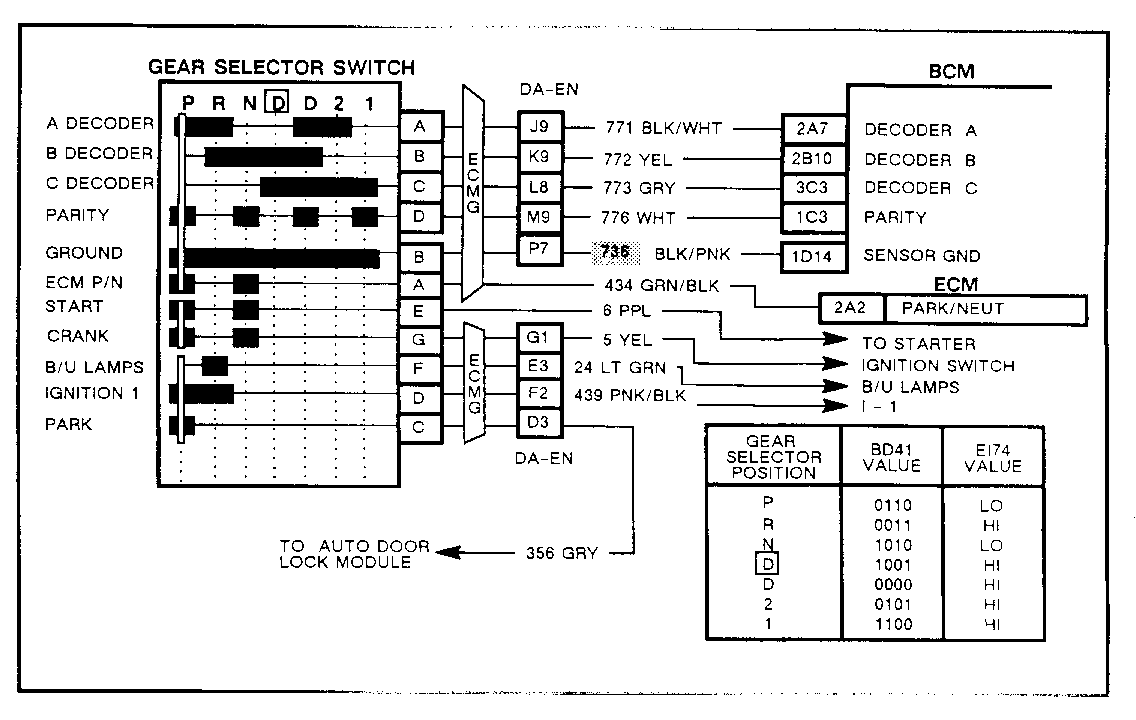
SERVICE MANUAL UPDATE SEC.8D2-CODE B127 DIAGRAM

VEHICLES AFFECTED: 1989 OLDSMOBILE TORONADO

This bulletin serves to update code B127 facing page diagram in Section 8D2 "BCM Trouble Code Diagnosis", changing the circuit at BCM pin 1d14 to circuit 736 Blk/Pnk, in the 1989 Toronado Service Information Manual, pages 8D2-26, 28, and 30. The change has been highlighted with shading. Please note this in your service manual.


Object Number: 79066  Size: FS

General Motors bulletins are intended for use by professional technicians, not a "do-it-yourselfer". They are written to inform those technicians of conditions that may occur on some vehicles, or to provide information that could assist in the proper service of a vehicle. Properly trained technicians have the equipment, tools, safety instructions and know-how to do a job properly and safely. If a condition is described, do not assume that the bulletin applies to your vehicle, or that your vehicle will have that condition. See a General Motors dealer servicing your brand of General Motors vehicle for information on whether your vehicle may benefit from the information.