GM Service Manual Online
For 1990-2009 cars only

Inspection Procedure

Camshaft Visual Inspection


    Object Number: 1797599  Size: SH
  1. Inspect the camshaft oil feed holes (1) to the camshaft position actuator for dirt, debris or blockage.
  2. Inspect the threaded hole (2) for damage.
  3. Inspect the camshaft position actuator locating notch (3) for damage or wear.
  4. Inspect the camshaft sealing grooves (4) for damage.
  5. Inspect the camshaft thrust surface (5) for damage, debris or blockage.
  6. Inspect the camshaft lobes (6) and journals (7) for the following conditions:
  7. • Excessive scoring or pitting
    • Discoloration from overheating
    • Deformation from excessive wear, especially the camshaft lobes
  8. If any of the above conditions exist on the camshaft, replace the camshaft.

Camshaft Measurement


    Object Number: 1797612  Size: SH

    Important: No machining of the camshaft is allowed.

    Important: If the camshaft measures outside the specified range, replace the camshaft.

  1. With the camshaft (1) in a suitable fixture (2), measure the camshaft for wear.

  2. Object Number: 1797614  Size: SH
  3. Measure the camshaft (2) journals for diameter and out-of-round using an outside micrometer (1).

  4. Object Number: 1797615  Size: SH
  5. Measure the camshaft runout using a dial indicator (1).

  6. Object Number: 1797617  Size: SH
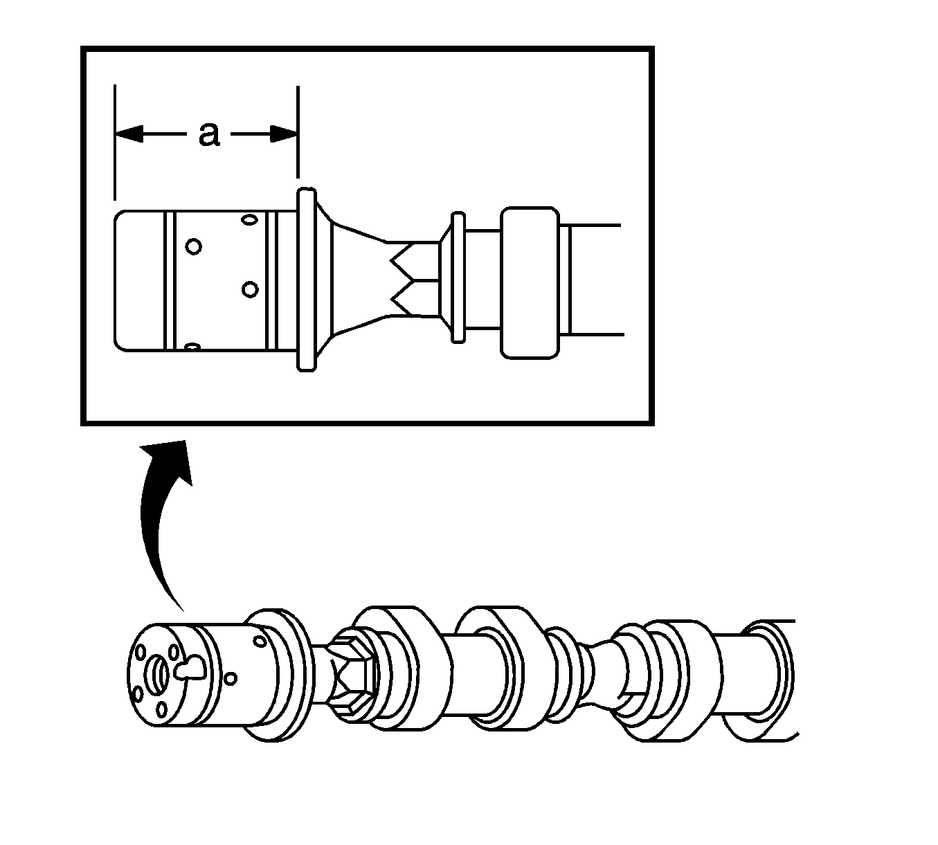
  7. Measure the camshaft thrust width for wear using a depth micrometer (A).

  8. Object Number: 1797625  Size: SH
  9. Measure the camshaft thrust wall surface for runout using a dial indicator (1).

  10. Object Number: 1797626  Size: SH
  11. Measure the camshaft lobes for wear using a dial indicator (1).

  12. Object Number: 1797628  Size: SH
  13. Place the dial indicator tip on the base circle (1) of the camshaft lobe.
  14. Set the dial indicator at zero.
  15. Rotate the camshaft until the indicator tip is at the highest point (2) on the lobe. This reading is the lift of the camshaft lobe.