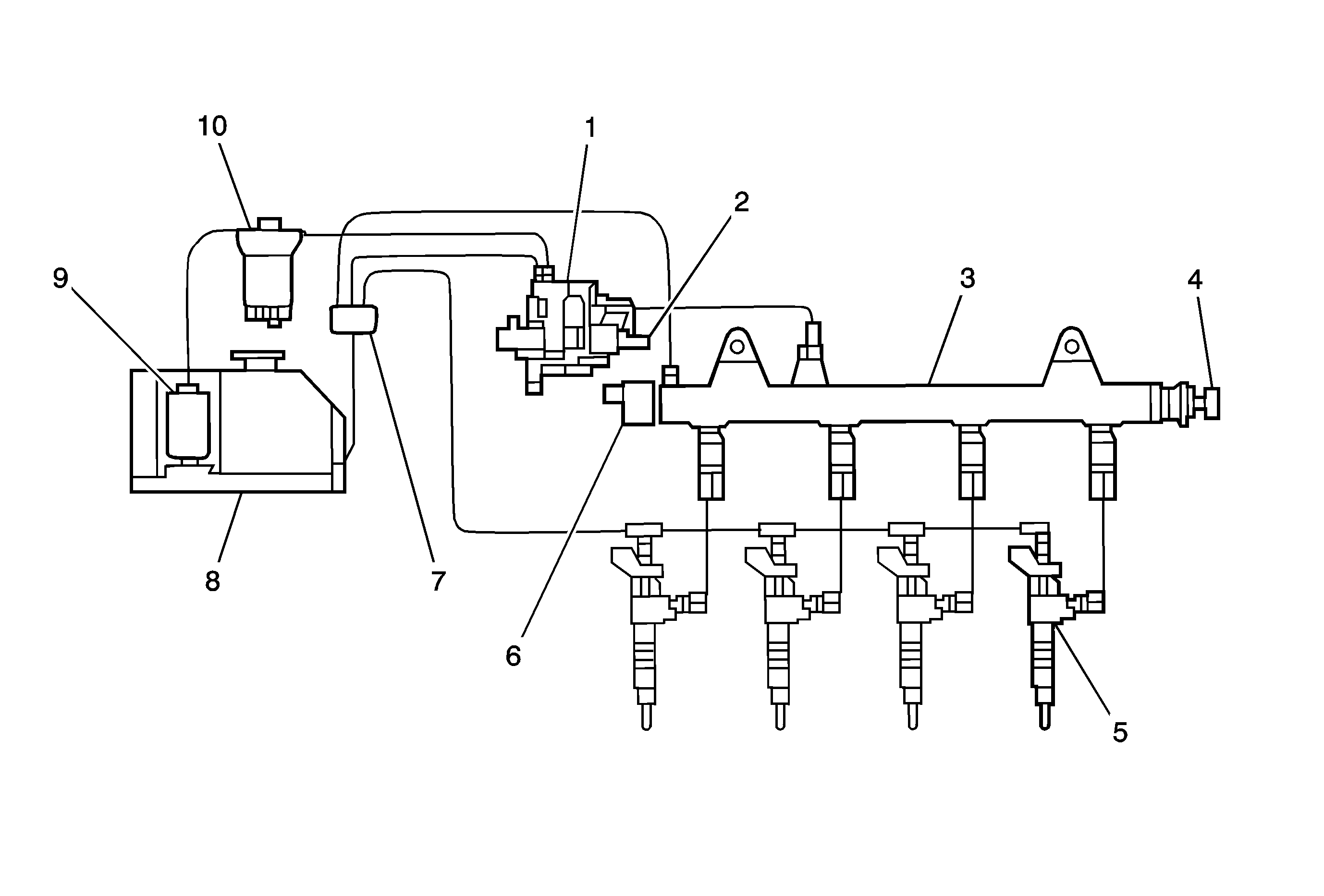
The fuel pump module (9), located in the right side of the fuel tank, supplies fuel through the fuel feed pipe to the high pressure mechanical fuel injection pump (1). The mechanical fuel injection pump (1) is located on the lower left side of the engine. Fuel is drawn through the fuel filter/heater element housing (10), which combines a water separator, a fuel heater element, and a filter element. The mechanical fuel injection pump output is controlled by the engine control module (ECM), and provides fuel at the pressure needed by the fuel injectors (5). The fuel injectors supply fuel directly to the combustion chambers of the engine. A separate pipe returns unused fuel through to the fuel tank. The mechanical fuel injection pump, fuel rail pressure, fuel injection timing, and injection duration are controlled by the ECM.
The fuel tank (8) stores the fuel supply. The fuel pump (9) is an electric pump that is attached to the primary fuel tank module assembly. The fuel pump supplies fuel to the high pressure mechanical fuel injection pump (1). The fuel pump also supplies fuel to the siphon jet pump. The siphon jet pump draws fuel from the secondary side of the fuel tank to the primary side of the fuel tank.
The fuel tank is held in place by 2 metal straps that attach to the frame. The fuel tank is molded from high density polyethylene.
The fuel filler cap has a torque-limiting device that prevents the cap from being over tightened. To install , turn the cap clockwise until you hear audible clicks. This indicates that the cap is fully seated.
The primary fuel tank module (9) is located inside of the right side of the fuel tank. The primary fuel tank module consists of the following major components:
The secondary fuel tank module is located inside of the left side of the fuel tank. The secondary fuel tank module consists of the following major components:
The fuel level sensor consists of a float, a wire float arm, and a ceramic resistor card. The position of the float arm indicates the fuel level. The fuel level sensor contains a variable resistor which changes resistance in correspondence with the amount of fuel in the fuel tank. The engine control module (ECM) sends the fuel level information to the instrument panel cluster (IPC). This information is used for the instrument panel (I/P) fuel gage and the low fuel warning indicator, if applicable. The ECM also monitors the fuel level input for various diagnostics.
The fuel strainer attaches to the lower end of the fuel sender. The fuel strainer is made of woven plastic. The functions of the fuel strainer are to filter contaminants and to wick fuel. The fuel strainer is self-cleaning and normally requires no maintenance. Fuel stoppage at this point indicates that the fuel tank contains an abnormal amount of sediment.
The fuel pump (9) is mounted in the primary fuel tank module reservoir. The fuel pump is an electric pump. Fuel is pumped to the mechanical fuel injection pump at a specified flow and pressure. The control module controls the electric fuel pump operation through a fuel pump relay.
The fuel injection pump (1) is a mechanical high pressure pump. The fuel injection pump is located on the lower left side of the engine. Fuel is pumped to the fuel rails at a specified pressure. Fuel pressure is regulated by the fuel pressure regulator 1 (2) which is located on the inlet side of the fuel injection pump, controlled by the engine control module (ECM). Excess fuel from the fuel injection pump returns to the fuel tank through the fuel return pipe.
The fuel filter assembly (10) is located at the right rear of the engine compartment. The paper filter element traps particles in the fuel that may damage the fuel injection system.
The fuel feed pipe carries fuel from the fuel tank to the fuel filter/heater element housing. The fuel return pipe carries fuel from the fuel rail assemblies back to the fuel tank. The fuel pipes consist of 2 sections:
Quick-connect fittings provide a simplified means of installing and connecting fuel system components. The fittings consist of a unique female connector and a compatible male pipe end. O-rings, located inside the female connector, provide the fuel seal. Integral locking tabs inside the female connector hold the fittings together.
O-rings seal the connections in the fuel system. Fuel system O-ring seals are made of special material. Service the O-ring seals with the correct service part.
The fuel rail assembly (3) attaches to the cylinder head. The fuel rail assembly distributes pressurized fuel to the fuel injectors through the fuel lines.
The fuel rail assembly consists of the following components:
The fuel rail pressure sensor gives the engine control module (ECM) an indication of fuel pressure. The ECM uses this information to regulate fuel pressure, by commanding the fuel pressure regulator open or closed on the inlet of the fuel injection pump.
A fuel injector is a solenoid device, controlled by the ECM, that meters pressurized fuel to a single engine cylinder. Fuel pressure is released from above the fuel injector pintle, and is returned to the fuel tank through the fuel return lines. The difference in fuel pressure above and below the pintle causes the pintle to open. Fuel from the fuel injector tip is sprayed directly into the combustion chamber on the compression stroke of the engine.
The control functions for the fuel injection system are integrated in the engine control module (ECM).