GM Service Manual Online
For 1990-2009 cars only

Special Tools

J 8087 Cylinder Bore Gage


    Object Number: 1801673  Size: SH
  1. Inspect the pistons for the following conditions.
  2. • Eroded areas at the top of the piston (1).
    • Piston pin retainer grooves for butts (2).
    • Worn piston pin bores or worn piston pins (3).
    • Scuffed or damaged skirt coating (4).
    • Ring grooves for cracks, nicks or burrs that may cause binding (5)
    • Warped or worn ring lands
  3. Replace pistons that show any signs of damage or excessive wear.

  4. Object Number: 1758709  Size: SH
  5. Measure the piston width using the following procedure.
  6. • Using an outside micrometer, measure the width of the piston at the thrust surfaces of the piston, perpendicular to the piston pin centerline.
    • Compare the measurement of the piston to its original cylinder by subtracting the piston width from the cylinder diameter.
    • If the clearance obtained through measurement is greater than the provided specifications and the cylinder bores are within specification, replace the piston.

    Object Number: 1758710  Size: SH
  7. Measure the piston pin bore to piston pin (2) clearances using the following procedure.
  8. Piston pin bores and pins must be free of varnish or scuffing.
  9. Use an outside micrometer (1) to measure the piston pin in the piston contact areas.

  10. Object Number: 1801675  Size: SH
  11. Using an inside micrometer, measure the piston pin bore (1). Compare the result with the piston pin diameter and piston pin to piston pin bore clearance. Refer to Engine Mechanical Specifications.
  12. If the clearance is excessive, determine which piece is out of specification and replace as required.
  13. Replace the piston if any of its dimensions are out of specification.
  14. If the new piston does not meet clearance specifications, the cylinder block may need to be oversized to 0.25. There is only one size of oversized pistons and rings available for service.

  15. Object Number: 1801682  Size: SH
  16. Measure the piston ring end gap using the following procedure.
  17. • Piston pin bores and pins must be free of varnish or scuffing.
    • Place the piston ring (1) in the area of the bore where the piston ring will travel, approximately 25 mm below the deck surface. Ensure the ring is square with the cylinder bore by positioning the ring with the piston head.
    • Measure the end gap of the piston ring with feeler gages (2).
    • If the clearance exceeds the provided specifications, the piston rings must be replaced.
    • Repeat the procedure for all piston rings.

    Object Number: 1801684  Size: SH
  18. Measure the piston ring side clearance using the following procedure.
  19. 12.1. Roll the piston ring entirely around the piston ring groove. If any binding is caused by the ring groove, dress the groove with a fine file. If any binding is caused by a distorted piston ring, replace the ring.
    12.2. With the piston ring on the piston, use feeler gages to check clearance at multiple locations.
    12.3. Compare the measurements with piston ring side clearance. Refer to Engine Mechanical Specifications.
    12.4. If the clearance is greater than specifications, replace the piston rings.
    12.5. If the new ring does not reduce the clearance to the correct specification, install a new piston.
    12.6. If the new piston does not meet clearance specifications, the cylinder block may need to be oversized to 0.25 mm. There is only one size of oversized pistons and rings available for service.

    Object Number: 1801687  Size: SH
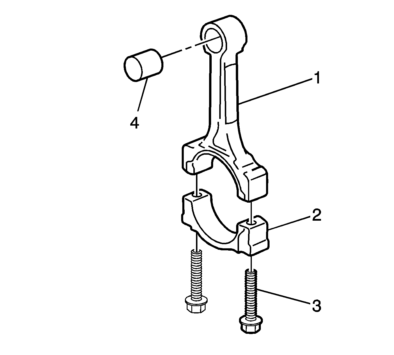
  20. Inspect the connecting rods for the following conditions.
  21. • Inspect the piston pin bushing (4) for scoring or damage.
    • Inspect the connecting rod beam (1) for twisting or bending.
    • Inspect the rod cap (2) for any nicks or damage caused by possible interference.
    • Inspect for scratches or abrasion on the rod bearing seating surface.
    • If the connecting rod bores contain minor scratches or abrasions, clean the bores in a circular direction with a light emery paper.
    • Retain the original bolts (3) for preliminary assembly. They must be replaced for final assembly.

    Object Number: 1758710  Size: SH
  22. Measure the connecting rod piston pin bore to piston pin clearance using the following procedures.
  23. Using an outside micrometer (1), take two measurements of the piston pin (2) in the area of the connecting rod contact.

  24. Object Number: 1758723  Size: SH
  25. Using an inside micrometer, measure the connecting rod piston pin bore (1).
  26. Subtract the piston pin diameter from the piston pin bore.
  27. Compare the clearance measurements. Refer to Engine Mechanical Specifications.
  28. If the clearance is excessive, replace the piston pin. If a new pin does not resolve the clearance problem, replace the connecting rod.

  29. Object Number: 1758725  Size: SH
  30. Measure the connecting rod crankshaft bearing bore (1) using the following procedures.
  31. 20.1. Using an inside micrometer, measure the connecting rod crankshaft bearing bore.
    20.2. Compare the bore measurements. Refer to Engine Mechanical Specifications.
    20.3. Replace the connecting rod if the bore is out of specification. Do not recondition the connecting rod.

    Object Number: 1758726  Size: SH
  32. Inspect the engine block deck surface for flatness using a straight edge and a feeler gage. Refer to Engine Mechanical Specifications.
  33. Inspect the bearing bore for concentricity and alignment using cylinder bore check gage J 8087 . Refer to Engine Mechanical Specifications. If the bearing bore is beyond the specifications, replace the engine block.
  34. Inspect the engine block cylinder bore for wear, runout, ridging and taper using a bore gage. Refer to Engine Mechanical Specifications.
  35. Inspect the engine block cylinder bore for glazing. Lightly hone the cylinder bore as necessary.