GM Service Manual Online
For 1990-2009 cars only

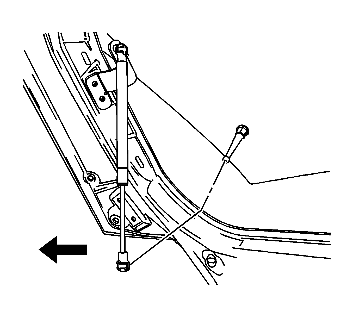
Removal Procedure


    Object Number: 1758261  Size: SH
  1. Raise and support the liftgate window in the open position.
  2. Lift up and partially remove the spring clips on the strut using a small flat-bladed tool.
  3. Remove the upper end of the strut from the ball joint.
  4. Remove the lower end of the strut from the ball joint.
  5. Remove the strut from the liftgate window.

Installation Procedure


    Object Number: 1758261  Size: SH
  1. Position the strut to the liftgate window.
  2. Install the upper end of the strut to the ball joint.
  3. Press in to place until fully seated.

  4. Install the lower end of the strut to the ball joint.
  5. Press in to place until fully seated.

  6. Install the support from the liftgate window.
  7. Close the liftgate window.