GM Service Manual Online
For 1990-2009 cars only

Object Number: 1248327  Size: SF

Vehicle Identification Number (VIN) System - EU Type

Position

Definition

Character

Description

1

Country of Origin

K

Korea

2

Manufacturer

L

General Motors Daewoo Auto and Technology Company

3

Identifier

A

1

3

Daewoo

Chevrolet

Holden

4

Car Line

C

C-100

5

Transmission

F

A

G

D

FWD, MT

FWD, AT

AWD, MT

AWD, AT

6-7

Body Style

26

35

75

4 Door All Purpose Window (Liftgate)

4 Door Station Wagon

4 Door MPV

8

Engine Type

4

0

T

A

7

Y

V

6

H

B

3

W

Z

K

P

F

G

R

U

0.8 SOHC, MPFI, L3

1.0 SOHC, MPFI, L4

1.2 SOHC, MPFI, L4

1.4 SOHC, MPFI, L4

1.4 DOHC, MPFI, L4

1.5 SOHC, MPFI, L4

1.5 DOHC, MPFI, L4

1.6 DOHC, MPFI, L4

1.8 SOHC, MPFI, L4 (F1)

1.8 DOHC, MPFI, L4 (F1)

1.8 DOHC, MPFI, L4 (FII)

2.0 SOHC, MPFI, L4 (FII

2.0 DOHC, MPFI, L4

2.0 DOHC, MPFI, L6

2.0 DOHC, L6 (LPG)

2.4 DOHC, MPFI, L4

3.2 DOHC, MPFI, HFV6

2.0 Diesel, 150PS

2.0 Diesel, 120PS

9

Purpose

J

Euro 2005 (Euro-4)

I

Euro 2000 (Euro-3

E

Euro 1996 (Euro-2)

L

Leaded

10

Model Year

6

7

8

9

A

2006

2007

2008

2009

2010

11

Plant Location

B

C

K

Bupyung, South Korea

Changwon, South Korea

Kunsan, South Korea

12-17

Production Sequence Number

--

Production Sequence Number

VIN Plate Location


Object Number: 1758963  Size: SH

The vehicle identification number (VIN) plate is attached to the front panel support.

VIN Plate Type A


Object Number: 1758979  Size: SH
(1)Manufacturer's Name
(2)EC Whole Vehicle Type Approval No. or Built Date
(3)Vehicle Identification Number (VIN)
(4)Gross Vehicle Weight (GVW)
(5)Combination Weight (GVW + Braked Trailer Weight)
(6)Maximum Permissible Axle Weight - Front
(7)Maximum Permissible Axle Weight - Rear

VIN Plate Type B


Object Number: 1758981  Size: SH
(1)Manufacturer's Name
(2)Vehicle Identification Number (VIN)
(3)Model
(4)Engine Type
(5)Body Color

Engraved VIN Location


Object Number: 1758983  Size: SH

The vehicle identification number (VIN) is engraved in the top right side of the bulkhead.

Body Identification Number Plate Location


Object Number: 1758995  Size: SH

The body identification number plate is attached to the top of the front panel support.

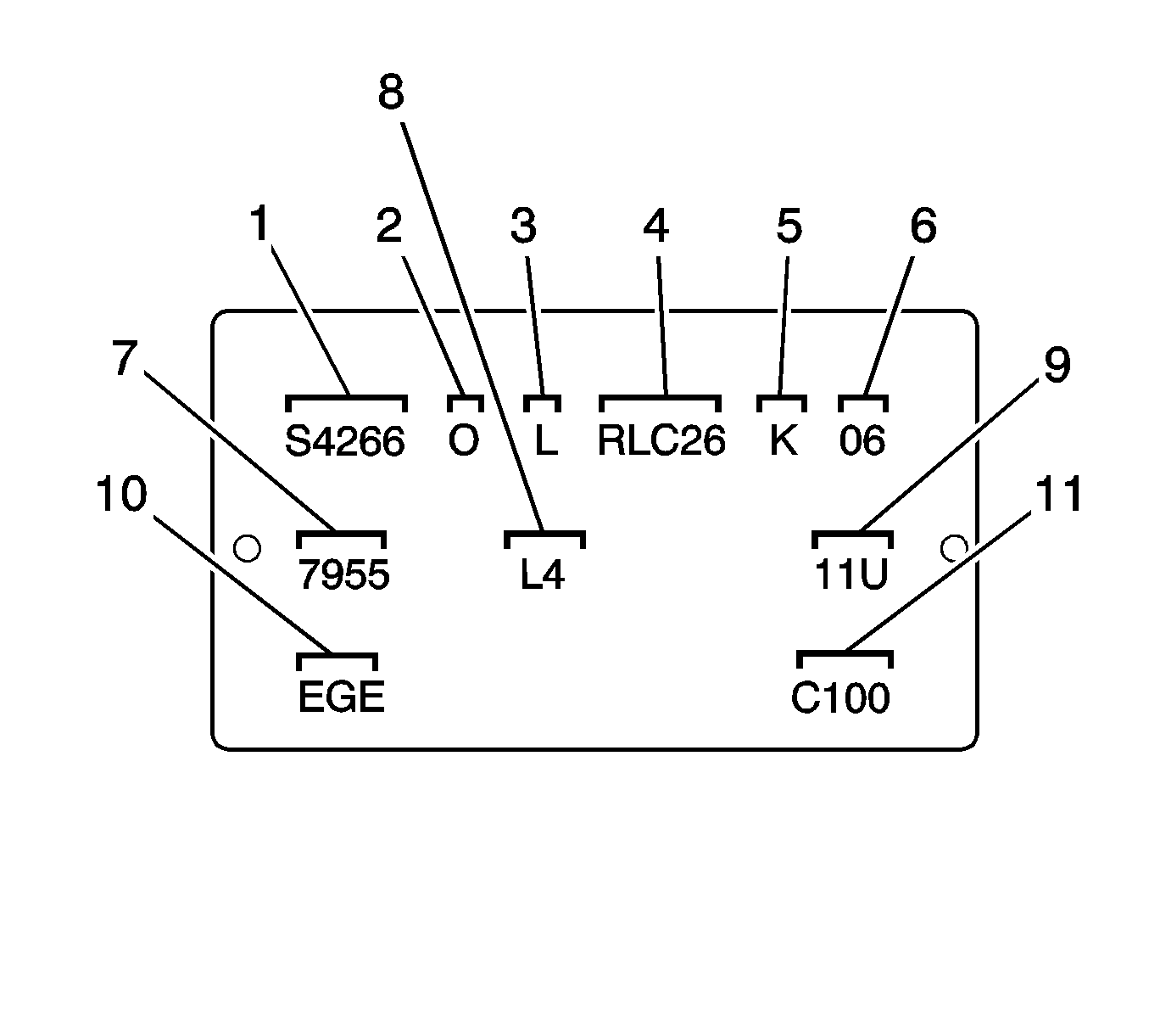
Body Identification Number Plate


Object Number: 1758992  Size: SH
(1)P/O Number
(2)Check Digit
(3)Drive
(4)Body Type
(5)Production Month
(6)Production Date
(7)Sequential Number
(8)Trunk Lid
(9)Exterior Color
(10)Export Country
(11)Car Type