GM Service Manual Online
For 1990-2009 cars only

Removal Procedure


    Object Number: 1873280  Size: SH
  1. Remove the auxiliary power outlet fuse from the fuse block.
  2. Remove the front side door ashtray assembly (1).
  3. Remove the front side door trim panel cover (2). Refer to Door Trim Panel Replacement.

  4. Object Number: 1120988  Size: SH
  5. Remove the cigar lighter assembly from the receptacle, use a small grinding tool with a cutoff wheel to cut the cigar lighter receptacle retainer.

  6. Object Number: 1873282  Size: SH
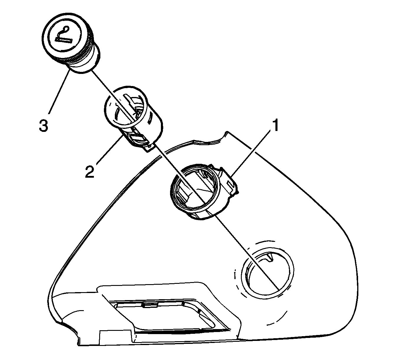
  7. Remove the cigar lighter receptacle and retainer assembly (1).

Installation Procedure


    Object Number: 1873284  Size: SH
  1. Install the cigar lighter receptacle retainer (1) to the front side door trim panel cover.
  2. Install the cigar lighter receptacle assembly (2) by pressing into place the cigar lighter receptacle retainer fully seated.
  3. Install the cigar lighter assembly into the cigar lighter receptacle.

  4. Object Number: 1873280  Size: SH
  5. Install the front side door trim panel cover (2). Refer to Door Trim Panel Replacement.
  6. Install the front side door ashtray assembly (1) .
  7. Install the accessory power receptacle fuse.