GM Service Manual Online
For 1990-2009 cars only

Object Number: 2018838  Size: MF

Callout

Component Name

Preliminary Procedure

  1. Disconnect the Battery Negative Terminal. Refer to Battery Negative Cable Disconnection and Connection
  2. Disconnect the electrical connectors.

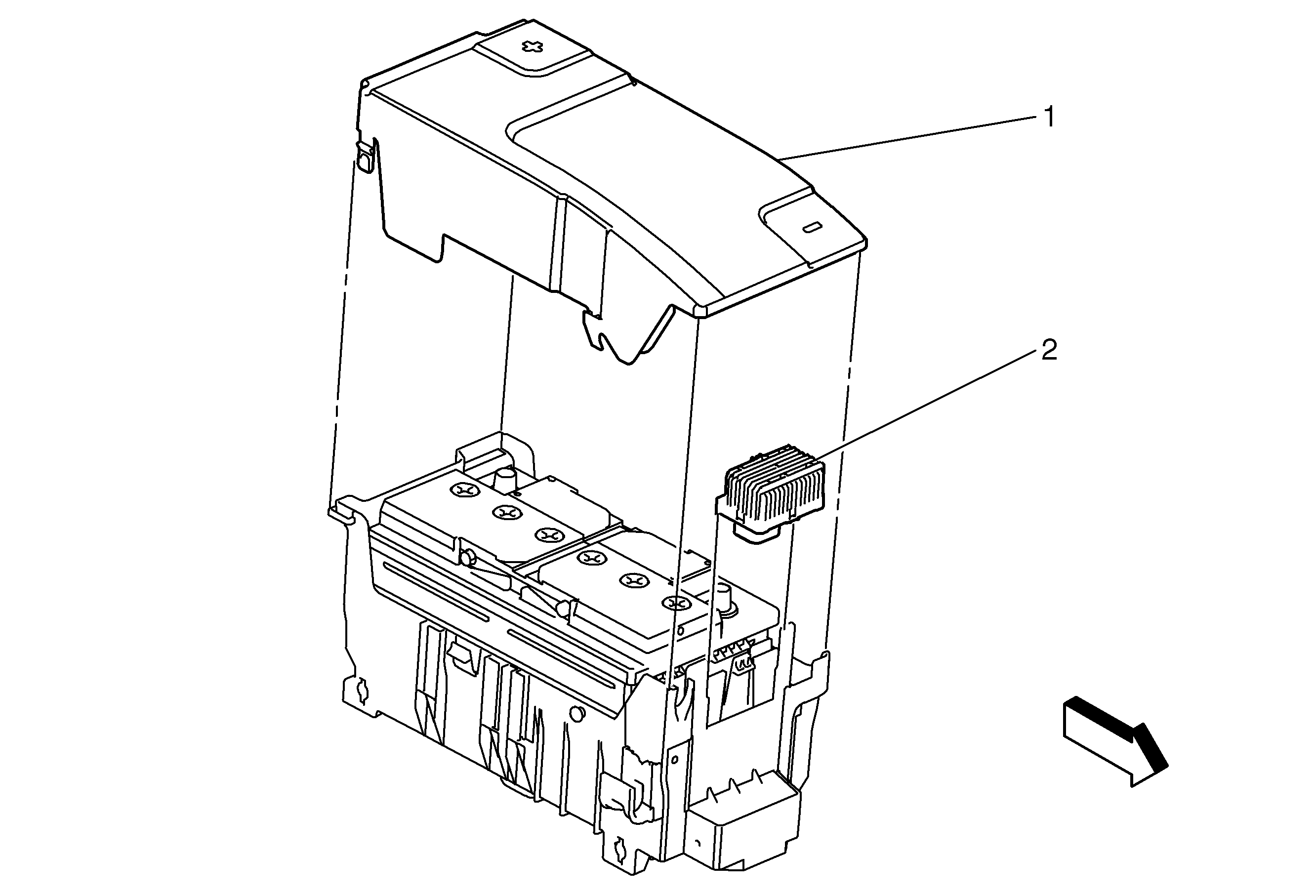
1

Battery Cover

Procedure

  1. Release Battery cover rear retainers
  2. Lift upwards to release the battery cover front retainers.

2

Glow Plug Control Module

Procedure

Release the Glow Plug Control Module Retainer and lift upwards.