GM Service Manual Online
For 1990-2009 cars only

Disassembled Views 2H0

Figure 1:

Intake Manifold Assembly - LDE


Object Number: 2026876  Size: LF
(1)Spring Clip
(2)Fuel Injection Fuel Rail
(3)Fuel Evaporation Control
(4)Fuel Evaporation Control Bracket Bolt
(5)Fuel Evaporation Control Bracket Clip
(6)Fuel Evaporation Control Bracket
(7)ECM Wiring Harness Bracket Bolt
(8)ECM Wiring Harness Bracket
(9)MAP Sensor Bolt
(10)MAP Sensor Intake Manifold
(11)Fuel Injection Fuel Rail Bolt
(12)ECM Wiring Harness Bracket
(13)ECM Wiring Harness Bracket Bolt
(14)Throttle Body Seal
(15)Intake Manifold
(16)Throttle Body Heater Inlet Hose Clamp
(17)Intake Manifold Mount
(18)Intake Manifold Runner Control Valve
(19)Intake Manifold Tuning Valve Actuator
(20) Intake Manifold Tuning Valve Actuator Bolt
(21)Intake Manifold Bolt
(22)ECM Wiring Harness Bracket Bolt
(23)ECM Wiring Harness Bracket
(24)Manifold to Cylinder Head Gasket
(25)Fuel Injector Seal
(26)Fuel Injector
Figure 2:

Camshaft Timing Component Assembly


Object Number: 2026874  Size: LF
(1)Camshaft Adjuster Closure Plug
(2)Timing Belt
(3)Intake Camshaft Adjuster Bolt
(4)Intake Camshaft Adjuster
(5)Intake Camshaft Adjuster Threaded Plug
(6)Timing Belt Upper Front Cover Bolt
(7)Timing Belt Rear Cover
(8)Exhaust Camshaft Adjuster Threaded Plug
(9)Exhaust Camshaft Adjuster
(10)Exhaust Camshaft Adjuster Bolt
(11)Timing Belt Tensioner Bolt
(12)Timing Belt Tensioner
(13)Timing Belt Idler Pulley
(14)Timing Belt Idler Pulley Bolt
(15)Crankshaft Adjuster
(16)Crankshaft Balancer
(17)Crankshaft Pressure Washer
(18)Crankshaft Balancer Bolt
(19)Timing Belt Lower Front Cover Bolt
(20)Timing Belt Lower Front Cover
(21)Timing Belt Center Front Cover
(22)Timing Belt Upper Front Cover Bolt
(23)Timing Belt Upper Front Cover
Figure 3:

Cylinder Head Assembly


Object Number: 2026872  Size: LF
(1)DIS Ignition Module Cover
(2)Camshaft Cover Bolt
(3)Camshaft Cover
(4)Plug
(5)Oil Fill in Cover
(6)Oil Fill in Cover Gasket
(7)Camshaft Cover Bolt
(8)Camshaft Cover Gasket
(9)Camshaft Front Bearing Cap
(10)Plug
(11)Camshaft Bearing Cap Bolt
(12)Camshaft Position Sensor Exciter
(13)Cylinder Head Bolt
(14)Engine Lift Bracket Rear Right
(15)Engine Lift Bracket Rear Right Bolt
(16)Engine Lift Bracket Front Right Stud
(17)Engine Lift Bracket Front Right
(18)Exhaust Manifold Stud
(19)Cylinder Head Gasket
(20)Plug
(21)Camshaft Front Oil Seal
(22)Exhaust Valve
(23)Intake Valve
(24)Valve Guide
(25)Valve Retainer
(26)Valve Ring
(27)Valve Retainer
(28)Valve Stem Oil Seal
(29)Tappet
(30)Engine Lift Bracket Rear Left
(31)Engine Lift Bracket Rear Left Bolt
(32)Camshaft Position Actuator
(33)Camshaft Position Actuator Screw
(34)Positive Crankcase Ventilation Pipe
Figure 4:

Engine Block Assembly


Object Number: 2026873  Size: LF
(1)Piston Pin Retainer
(2)Piston
(3)Piston Rings
(4)Connecting Rod
(5)Connecting Rod Bolt
(6)Cylinder Head Locating Pin
(7)Engine Block
(8)Oil Plug
(9)Transmission Locating Pin
(10)Water Passage Plug
(11)Transmission Locating Pin
(12)Flywheel
(13)Flywheel Bolt
(14)Crankshaft Rear Oil Seal
(15)Position Sensor Reluctor Ring
(16)Piston Oil Nozzle
(17)Crankshaft Main Bearing Cap
(18)Crankshaft Bearing Cap Cover Bolt
(19)Crankshaft Bearing Cap Cover
(20)Crankshaft
(21)Crankshaft Bearing Cap
(22)Oil Flow Check Valve
(23)Oil Flow Check Valve Plug
(24)Connecting Rod Bearing Cap
Figure 5:

Engine Front Cover Assembly


Object Number: 2026875  Size: LF
(1)Engine Front Cover Bolt
(2)Engine Front Cover Bolt
(3)Engine Front Cover (Oil Pump Housing)
(4)Oil Pump Cover Bolt
(5)Oil Pump Cover
(6)Oil Pump Outer Gear
(7)Oil Pump Inner Gear
(8)Oil Flow Check Valve Plug
(9)Oil Flow Check Valve
(10)Oil Pressure Relief Valve
(11)Oil Pressure Relief Valve Spring
(12)Oil Pressure Relief Valve Bore Plug
(13)Oil Pressure Relief Valve Bore Plug
(14)Oil Pressure Relief Valve Spring
(15)Oil Pressure Relief Valve
(16)Front Oil Seal
(17)Crankshaft Pressure Washer
(18)Water pump pulley
(19)Water pump pulley Bolt
(20)Water Pump Impeller Bearing
(21)Water Pump
Figure 6:

Intake Manifold Assembly - 2HO


Object Number: 2026877  Size: LF
(1)Fuel Injection Fuel Rail
(2)Pipe Assembly Fuel Evaporation Control
(3)Intake Manifold Bolt
(4)Fuel Injection Fuel Rail Bolt
(5)Fuel Evaporation Control Bracket
(6)Fuel Evaporation Control Bracket Bolt
(7)Throttle Body Seal
(8)MAP Sensor
(9)MAP Sensor Bolt
(10)Intake Manifold
(11)Intake Manifold Mount
(12)Intake Manifold Bracket
(13)Intake Manifold Bracket Bolt
(14)Intake Manifold Runner Control Valve
(15)Non Return Valve
(16)Non Return Valve Hose
(17)Manifold to Cylinder Head Gasket
(18)Fuel Injector Seal
(19)Spring Clip
(20)Fuel Injector

Disassembled Views LLU

Figure 1:

Camshaft Timing Component Assembly LLU


Object Number: 2028382  Size: LH
(1)Timing Belt
(2)Camshaft Intake Sprocket
(3)Camshaft Exhaust Sprocket
(4)Crankshaft Sprocket
(5)Timing Belt Tensioner
(6)Timing Belt Idler Pulley
(7)Camshaft Sprocket Washer
(8)Camshaft Sprocket Bolt
(9)Timing Belt Idler Pulley Bolt
(10)Timing Belt Tensioner Bolt
(11)Crankshaft Balancer
(12)Crankshaft Balancer Bolt
(13)Crankshaft Balancer Washer
(14)Timing Belt Upper Front Cover
(15)Timing Belt Lower Front Cover
(16)Timing Belt Rear Cover
(17)Timing Belt Rear Cover Bolt
(18)Timing Belt Lower Front Cover Bolt
(19)Timing Belt Upper Front Cover Bolt
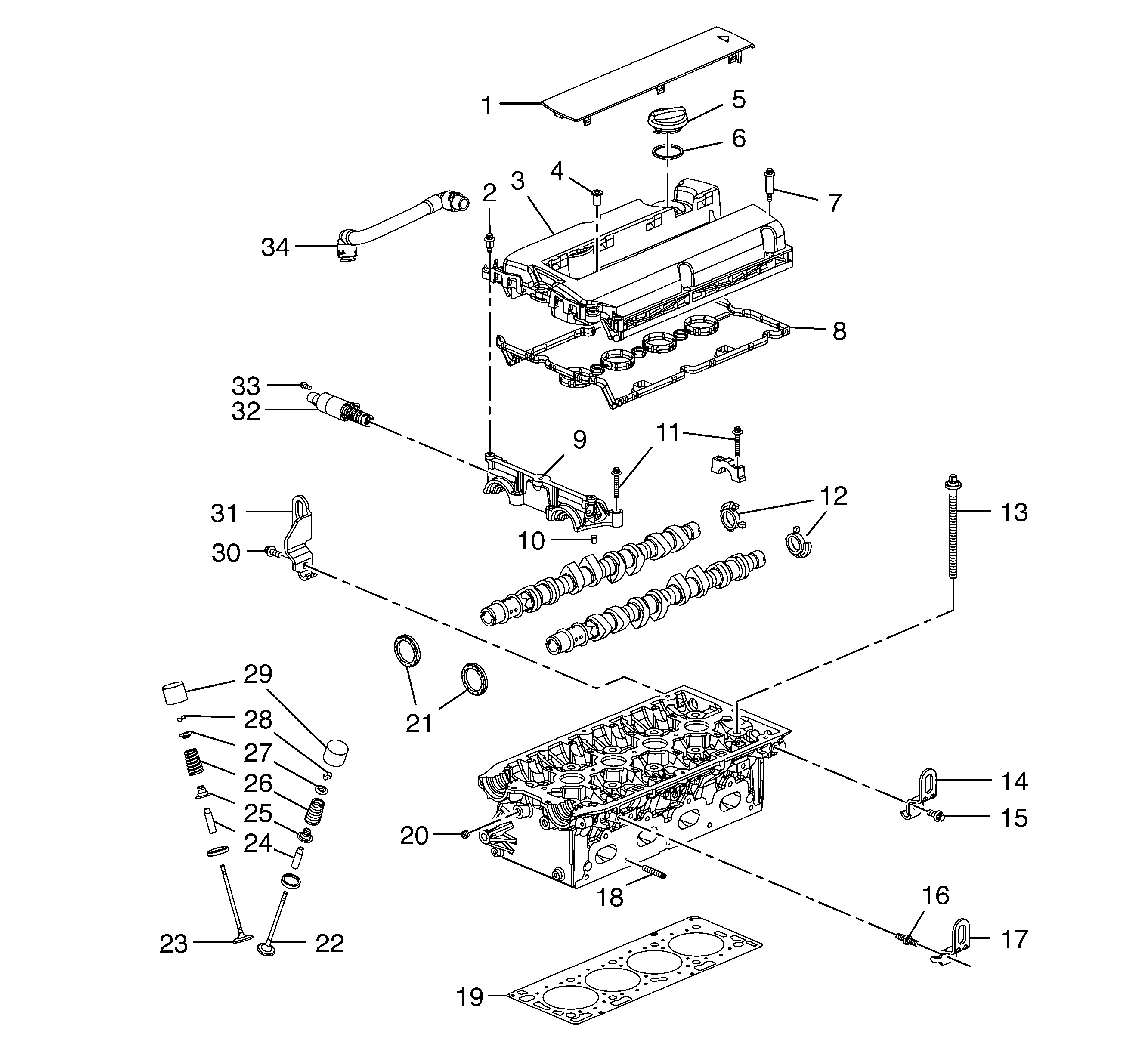
Figure 2:

Cylinder Head Assembly LLU


Object Number: 2028383  Size: LH
(1)Oil Filler Cap
(2)Oil Filler Cap Seal Ring
(3)Camshaft Cover Spacer
(4)Camshaft Cover Bolt - long
(5)Camshaft Cover Bolt - short
(6)Positive Crankcase Ventilation Tube
(7)Camshaft Cover
(8)Camshaft Cover Gasket
(9)Intake Camshaft
(10)Camshaft Position Sensor Exciter Wheel
(11)Exhaust Camshaft
(12)Intake Camshaft Front Oil Seal
(13)Exhaust Camshaft Front Oil Seal
(14)Engine Lift Bracket Bolt - Intake Side
(15)Pin
(16)Engine Lift Bracket - Intake Side
(17)Cylinder Head
(18)Engine Lift Bracket - Exhaust Side
(19)Engine Lift Bracket Bolt - Exhaust Side
(20)Pin
(21)Engine Lift Bracket Bolt - Camshaft Sprocket Side
(22)Engine Lift Bracket - Camshaft Sprocket Side
(23)Cylinder Head Gasket
(24)Bolt
(25)Threaded Plug
(26)Exhaust Valve
(27)Intake Valve
(28)Valve Guide
(29)Valve Spring
(30)Valve Retainer
(31)Valve Retainer
(32)Valve Stem Oil Seal
(33)Tappet
(34)Bolt
(35)Camshaft Bearing Bolt
(36)Positive Crankcase Ventilation Tube Bolt
(37)Positive Crankcase Ventilation Tube
(38)Cylinder Head with included Camshafts
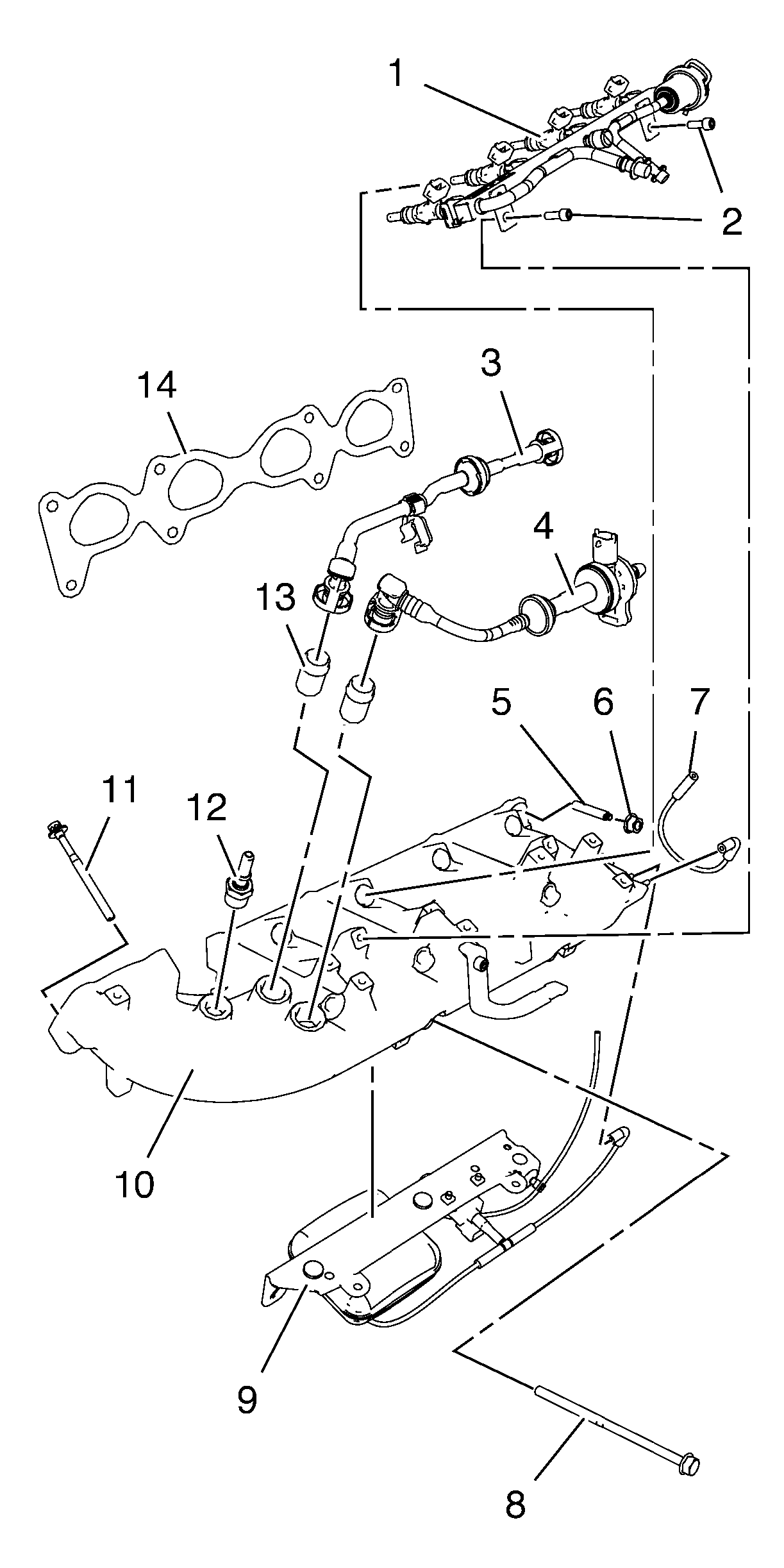
Figure 3:

Intake Manifold Assembly LLU


Object Number: 2028384  Size: LH
(1)Intake Manifold
(2)Threaded Vacuum Connector
(3)Evaporative Emission Hose Connector
(4)Evaporative Emission Pipe
(5)Evaporative Emission Canister Purge Solenoid Valve
(6)Intake Manifold Stud
(7)Intake Manifold Nut
(8)Fuel Pressure Regulator Vacuum Tube
(9)Fuel Injector
(10)Fuel Injection Fuel Rail Bolts
(11)Intake Manifold Bolt
(12)Charge Air Bypass Valve Vacuum Tank Tube
(13)Throttle Body Bolt
(14)Intake Manifold Gasket