GM Service Manual Online
For 1990-2009 cars only

Cleaning Procedure

  1. Clean the oil filter adapter components with non-corrosive solvent.
  2. Warning: Wear safety glasses when using compressed air, as flying dirt particles may cause eye injury.

  3. Dry the oil filter adapter components with compressed air.

Inspection Procedure


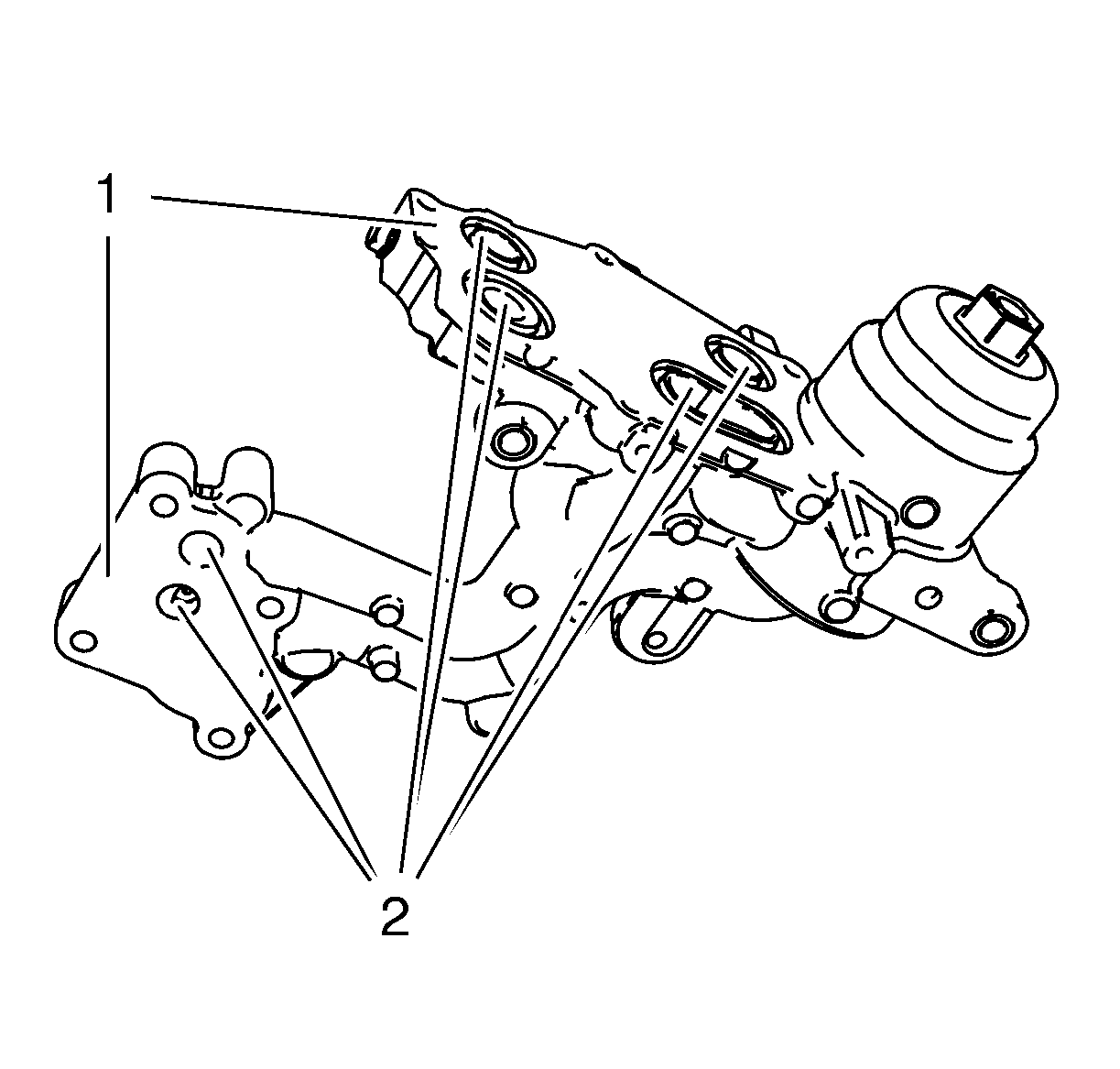
    Object Number: 2026983  Size: SH

    Note: The internal parts of the oil filter adapter housing are not serviced separately. If wear or damage is noted, replace the entire oil filter adapter assembly.

  1. Inspect the oil filter adapter housing for cracks, casting imperfections or damage (5).
  2. Inspect the threads for the oil pressure sender (4) or bracket (2) for damage.
  3. Inspect the oil filter sealing surface for damage.
  4. Inspect the threads for the oil filter fitting (1) for damage.
  5. Inspect the mounting holes (3) for damage.

  6. Object Number: 2026982  Size: SH
  7. Inspect the oil filter adapter housing gasket sealing surface (1) for damage.
  8. Inspect the oil filter adapter housing passages (2) for damage or blockage.
  9. Repair or replace the oil filter adapter housing as necessary.