GM Service Manual Online
For 1990-2009 cars only

Upper to Lower Intake Manifold Disassemble Procedure


    Object Number: 2026707  Size: SH

    Note: Do not reuse the upper-to-lower intake manifold gasket and the intake manifold-to-cylinder head sealing gaskets.

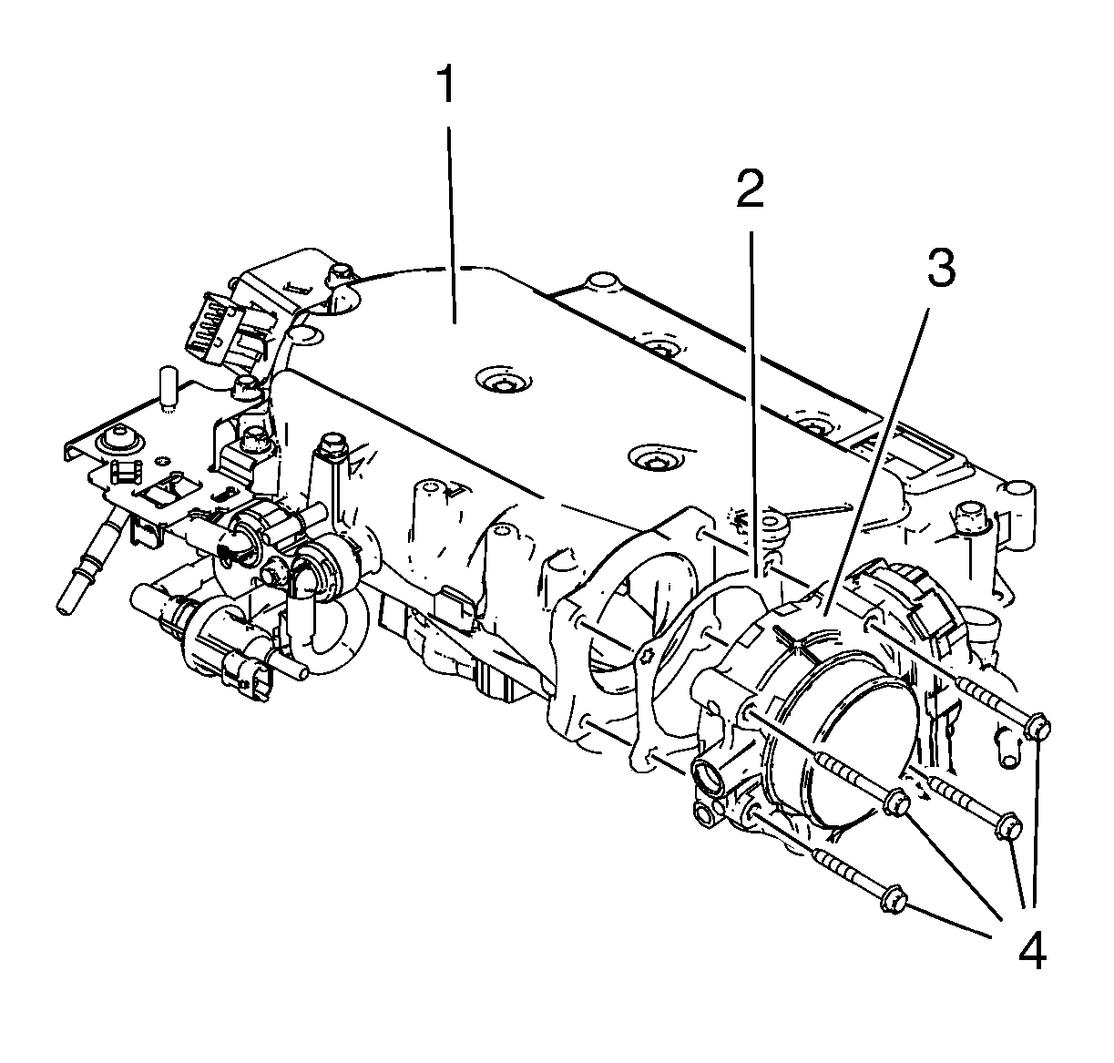
  1. Remove the upper-to-lower intake manifold bolts (2).

  2. Object Number: 2026705  Size: SH
  3. Remove the fuel rail feed hose bracket bolt (3) from the upper intake manifold (2).

  4. Object Number: 2026708  Size: SH
  5. Remove the fuel rail feed hose (1).
  6. Remove the fuel injector wiring harness bracket bolt (2) from the upper intake manifold (1).

  7. Object Number: 2026707  Size: SH
  8. Remove the upper intake manifold (1) from the lower intake manifold (4).
  9. Remove and discard the upper-to-lower intake manifold gaskets (3, 5).

Upper Intake Manifold Disassemble Procedure


    Object Number: 2026706  Size: SH
  1. Remove the throttle body bolts (4).
  2. Remove the throttle body (3).
  3. Remove and discard the throttle body gasket (2) from the upper intake manifold (1).

Lower Intake Manifold Disassemble Procedure


    Object Number: 1849041  Size: SH
  1. Remove the fuel injector wiring harness.

  2. Object Number: 1849033  Size: SH
  3. Remove the fuel injector rail bolts.

  4. Object Number: 1849037  Size: SH
  5. Remove the fuel injector rail.

  6. Object Number: 1832176  Size: SH
  7. Remove the upper-to-lower intake manifold alignment pins.