GM Service Manual Online
For 1990-2009 cars only

Gearbox functions can be divided into three parts:

Mechanical

Hydraulic

Control System

Mechanical

    • Torque converter with lock-up clutch
    • 2 planetary gear units, of which the rear is double.
    • 3 disc clutches
    • 1 band type brake
    • 1 multi-disc brake
    • 1 free wheel
    • Final drive with differential

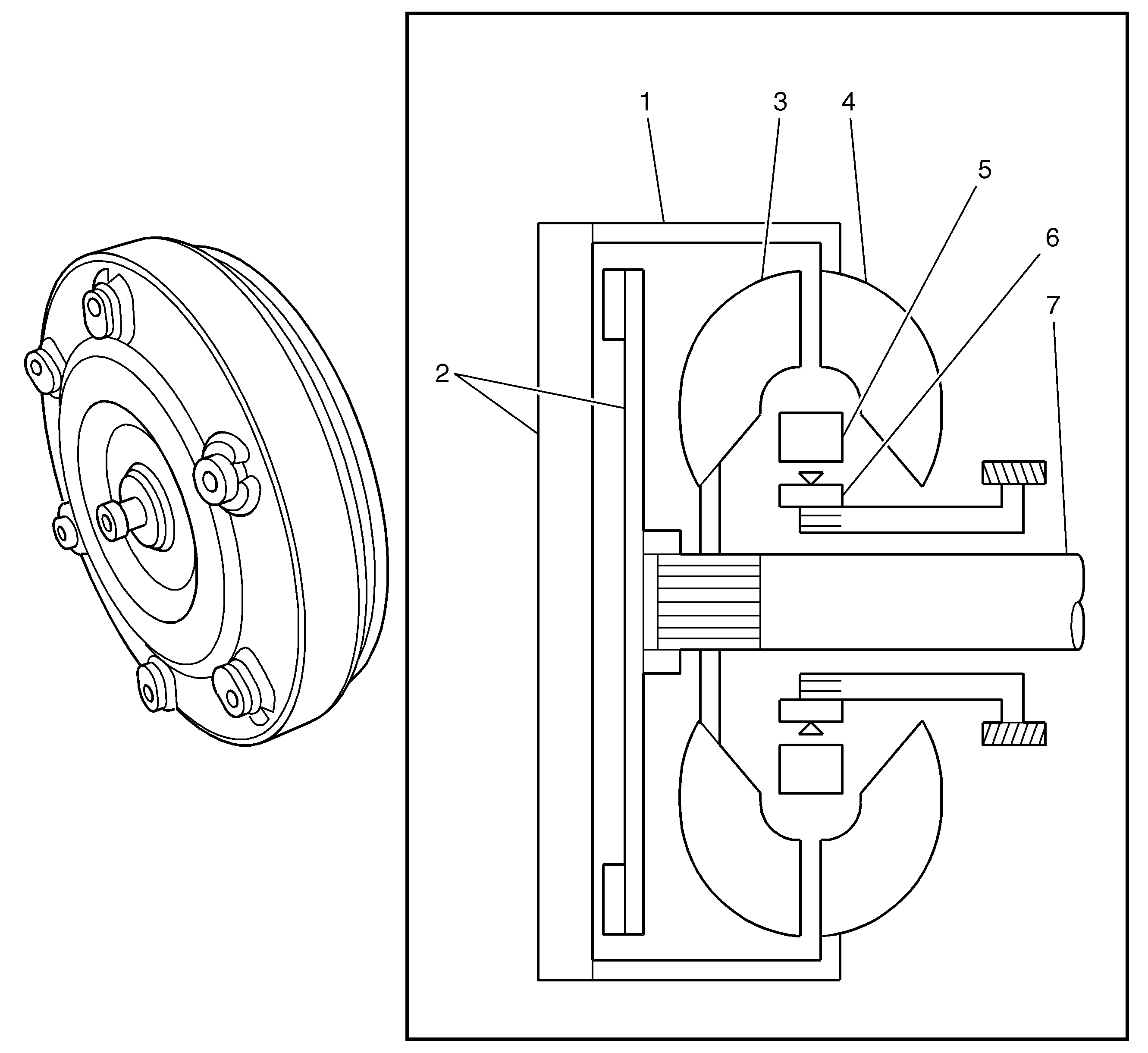
Object Number: 2018878  Size: LF
  1. Torque converter housing
  2. Torque converter clutch
  3. Turbine
  4. Impeller
  5. Stator
  6. Free wheel
  7. Input shaft

Hydraulic


Object Number: 2018881  Size: LF
  1. Torque converter
  2. Valve housing:
  3.  - A solenoid
     - B linear solenoid,
     - C control valve
  4. Clutch, brake
  5. Oil cooler
  6. Oil pump
  7. Planetary gear
  8. Oil pressure
  9. Gearbox oil, inlet
  10. Gearbox oil, return
  11. Operating pressure
  12. Lubrication
  13. Oil flow to pump

Control System

    • Linear solenoids
    • PWM solenoids
    • Speed sensors
    • Temperature sensor
    • Transmission Control Module including gear position sensor
    • Gear shift lever
    • Sport Mode Switch