GM Service Manual Online
For 1990-2009 cars only

Object Number: 2020378  Size: MF

Callout

Component Name

Preliminary Procedure

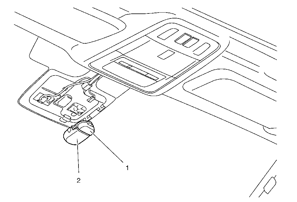
Remove the inside rearview mirror mount plate cover. Refer to Inside Rearview Mirror Mount Plate Cover Replacement

1

Windshield Outside Moisture and Headlamp Automatic Control Ambient Light Sensor Retainer

Tip
Use a small flat-bladed tool to release the locking retainer on the windshield outside moisture and headlamp automatic control ambient light sensor and push the cap upwards.

2

Windshield Outside Moisture and Headlamp Automatic Control Ambient Light Sensor