GM Service Manual Online
For 1990-2009 cars only

Object Number: 2156665  Size: MF

Callout

Component Name

Preliminary Procedure

  1. Remove the liftgate trim finish panel. Refer to LINK.
  2. Use a suitable tool to detach the left and right corner of the rear end spoiler.
  3. From the rear to the end spoiler fascia, apply a double layer of masking tape around the perimeter of the painted surfaces.

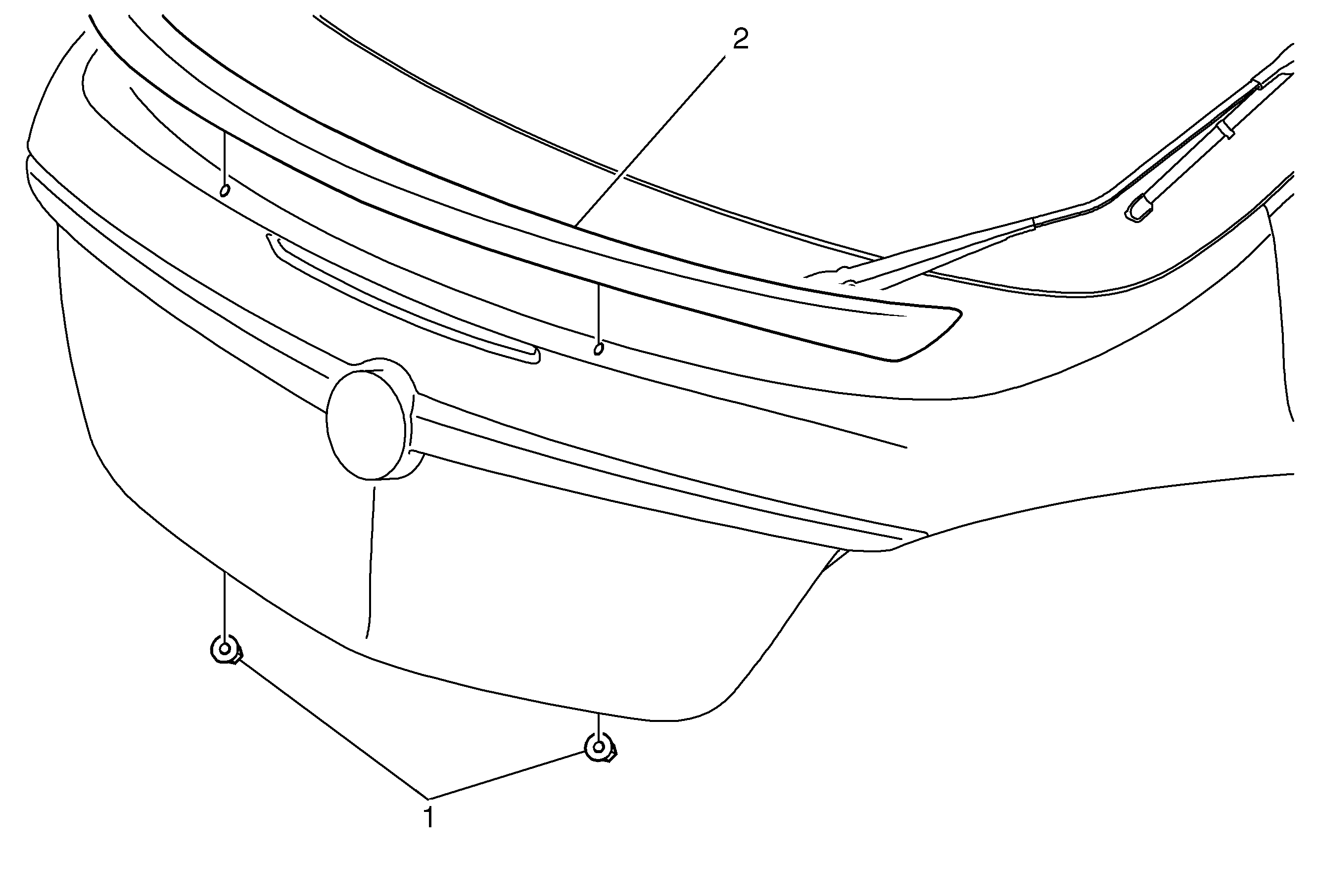
1

Rear End Spoiler Fastener (Qty: 2)

Caution: Refer to Fastener Caution in the Preface section.

Tighten
X N·m (X lb in)

2

Rear End Spoiler