GM Service Manual Online
For 1990-2009 cars only

Special Tools

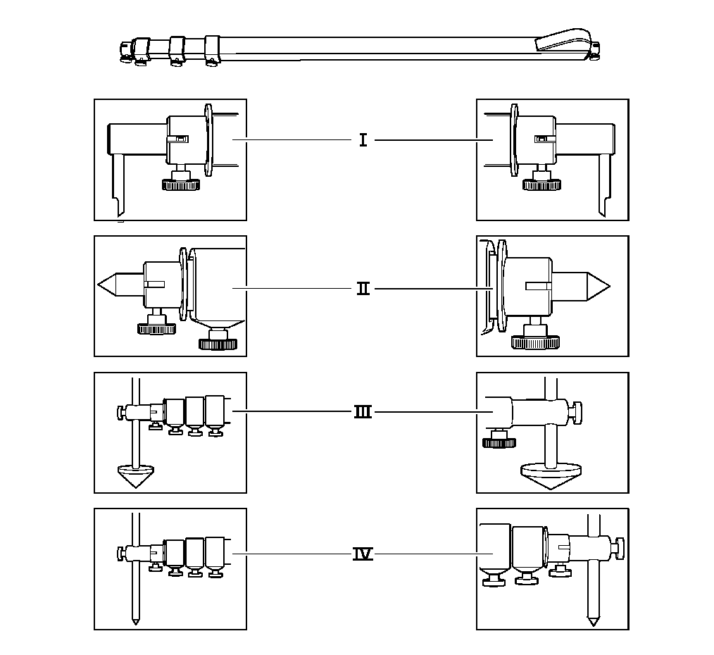
BO-642-A Telescopic Measuring Rod

A quick and thereby economical measuring method is the use a BO-642-A telescopic measuring rod .

The telescopic measuring rod is inserted in the area of the body superstructure.

The underbody is usually assessed using computerised measurement data capture.

Handling of the telescopic measuring rod is remarkably simple.

Replaceable measuring tips make determination of the actual values between different measurement points quick.


Object Number: 2020389  Size: MF

Data on the various measuring tips and the adjustment depth (for III and IV) are given in the relevant magnifying glass in the body dimension chart.

Measurements taken with the telescopic measuring rod have a tolerance of ±2 mm (0.08 in).

Further information if found in the section Body Dimension Chart.