GM Service Manual Online
For 1990-2009 cars only

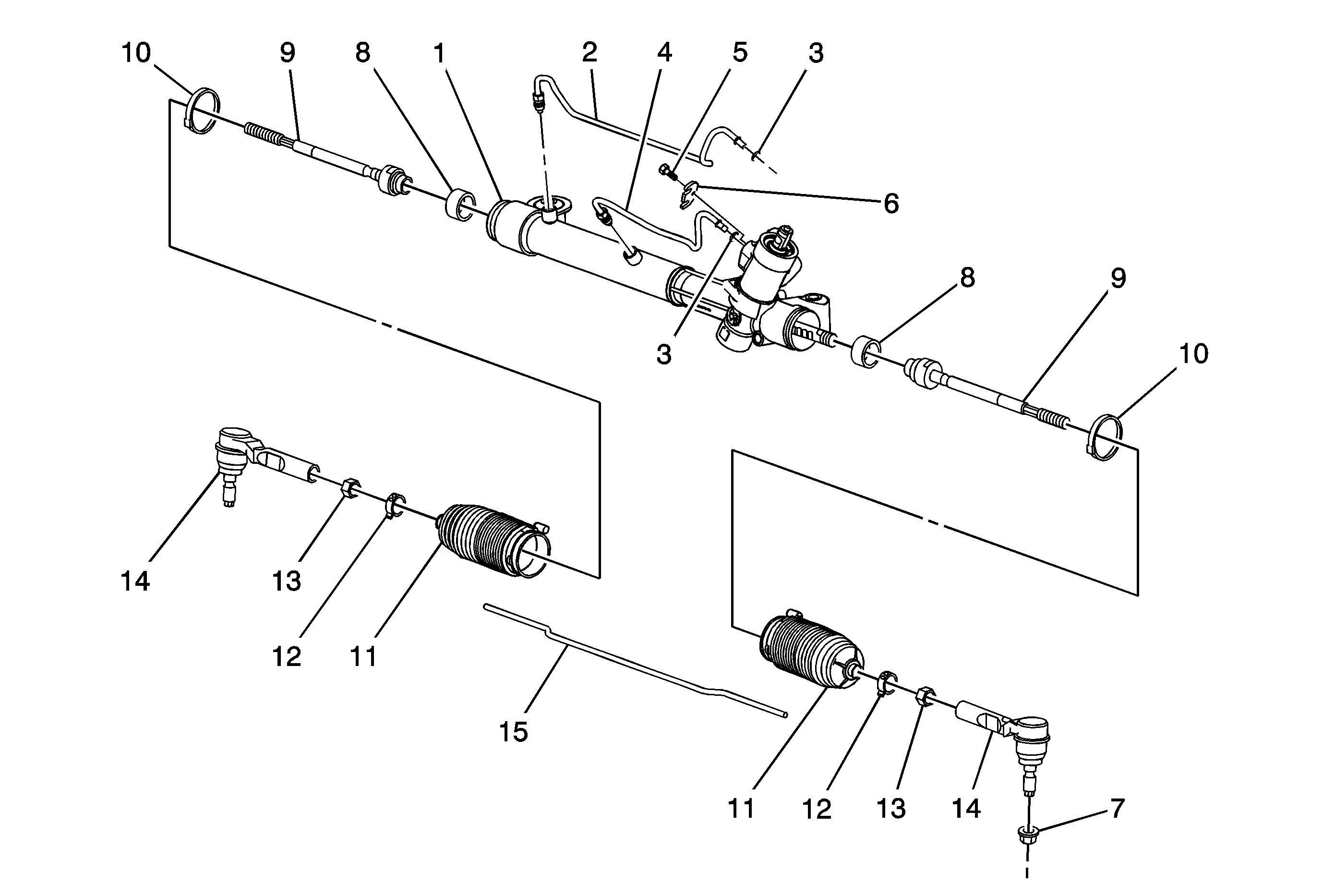
Object Number: 1907530  Size: MF
  1. Steering Gear
  2. Steering Gear Cylinder Pipe
  3. Steering Gear Cylinder Pipe Seal
  4. Steering Gear Cylinder Pipe
  5. Power Steering Gear Inlet Hose Bracket Bolt
  6. Power Steering Gear Inlet Hose Bracket
  7. Rack And Pinion Outer Tie Rod End Nut
  8. Steering Gear Shock Dampener
  9. Steering Gear Inner Tie Rod
  10. Inner Steering Gear Boot Clamp
  11. Steering Gear Boot
  12. Outer Steering Gear Boot Clamp
  13. Steering Gear Inner Tie Rod Nut
  14. Rack And Pinion Outer Tie Rod End
  15. Steering Gear Boot Breather Tube