GM Service Manual Online
For 1990-2009 cars only

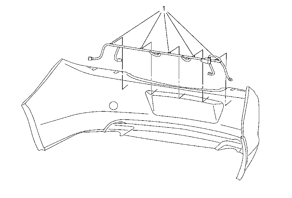
Rear Object Sensor Wiring Harness Replacement 68HB


Object Number: 2156473  Size: MF

Callout

Component Name

Preliminary Procedure

Remove the rear bumper fascia. Refer to Rear Bumper Fascia Replacement.

1

Rear Object Sensor Wiring Harness Retainer (Qty: 5)

2

Rear Object Sensor Wiring Harness

Procedure

Disconnect the rear object sensor wiring harness electrical connector from the rear object sensors.