GM Service Manual Online
For 1990-2009 cars only
Table 1: Adhesive basis (Component A and component B):

Note: Please also note: specifications for welded, brazed and riveted connections!

Basic Bonding Technique

Note: In order to ensure optimal bonding, the assembly components must fit well, the joint flanges must be clean, the prescribed application technique must be followed and working conditions must be good and at the right temperature.

Adhesive is a non-metallic material that joins two assembly components through surface bonding (adhesion) and inner cohesiveness (cohesion). An important element of this process is following the prescribed application technique whether in production or for body repair.

Upon application of the fluid adhesive, the adhesion and cohesion forces are still low. Curing is complete once the adhesive has become solid. The joint withstands loads in accordance with its design.

Good adhesive application (smooth application of adhesive on the surface) on the joint flanges ensures good bonding and adhesion.

Poor adhesive application on the joint flanges leads to poor bonding and adhesion.

Adhesive joint principles


Object Number: 2020529  Size: SH

1

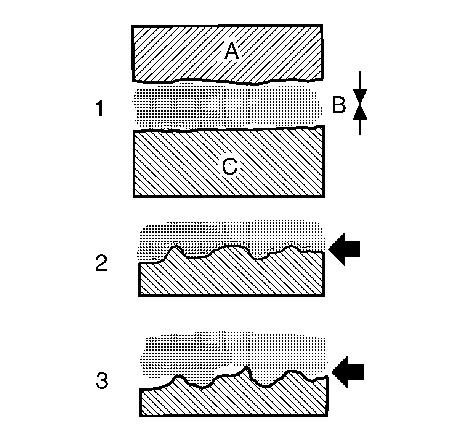
Depiction of adhesive forces

--

--

A chain is formed from:

--

--

A-

Adhesion of the adhesive to the top plat

--

B-

Cohesion within the adhesive layer

--

C-

Adhesion of the adhesive to the bottom plate

2

Depiction of good bonding

--

--

Good coating of assembly components with adhesive

--

3

Depiction of poor bonding

--

--

Poor adhesive coating on assembly component surfaces (for example, due to poor preparation or contamination).

--

Adhesive in the area of connection flanges to the body

Note:  Knowledge of the stress placed on the joint locations is paramount to achieving optimal adhesive joints.

The following applies as a rule of thumb:

  1. Permissible types of stresses on adhesive joints: tensile force, shearing force and compression force.
  2. Peel forces work negatively on the adhesive joint. Use constructive measures to prevent peeling.

Effects of peeling forces


Object Number: 2020530  Size: SH
  1. Depiction of typical unwanted, linear separation of the adhesive layer (peeling).
  2. Remedies:
  3. • Fixing with resistance spot-welds or rivets with a spacing of 150 mm (6 in).
    • Use of waterproof steel rivets, if there is access to the body flange.

Rivet length

Rivet diameter

Clamping area (sum total of sheet thicknesses to be joined together)

Part no.

Catalogue no.

8 mm (0,3 in)

4 mm (0,2 in)

1.5-3.0 mm (0,06-0,1 in)

93184033

1 84 983

9.5 mm (0,4 in)

4 mm (0,2 in)

3.0-5.0 mm (0,1-0,2 in)

93184034

1 84 984

12 mm (0,5 in)

4 mm (0,2 in)

6.5-8.5 mm (0,25-0,33 in)

93174636

1 88 890

Stresses to which components/adhesive joints are subjected


Object Number: 2020531  Size: SH
  1. Peeling stress.
  2. Tensile stress.
  3. Compression stress.
  4. Tensile shearing stress.
  5. Compression shearing stress.

Depiction of flange joints


Object Number: 2020532  Size: SH
  1. Offset flange
  2. T-shaped joint
  3. Bracing (U and L flanges)
  4. Scarf joint (cover plate ground to 30-70° (86-158°F) angle
  5. Double lashings
  6. Combination with different profiles
  7. Offset angle profile
  8. Bracing with 3-layer plate

Preparation of bonding flanges to be connected


Object Number: 2020533  Size: SH
  1. Grind flange
  2. • Remove primer at spot welds using Körnung P100.
    • When assembling with steel rivets, slightly strip primer from the remaining flanges using Körnung P360.
  3. Cleaning
  4. Clean/de-grease bonding surfaces before and after grinding (use cleaner from adhesive kit).

Note: Dirt (X) leads to problems.

Use of structural adhesive systems in production - consequences in service

Choice of adhesives for use in body shells is based on structural calculations and tests. The approved adhesives must be harmonised with the entire manufacturing process.

The following guidelines apply:

    • Short application times.
    • Use of single-component adhesive systems.
    • High hardening temperatures (approx. 180°C) circulating in the drying kilns

The Service department cannot use the adhesives/adhesive systems from Production. Completely new systems must be developed, tested and approved for Service.

Thus, adhesive systems and application techniques will be used that are tailored to repairwork. The bonding technique developed for Service shall be the logical result of a modern, economical, safe joining system for body repair at the dealership.

This is beneficial to our ability to compete in the bodywork repair market. The goal is to further develop and refine work methods in order to generate cost effective solutions and maintain a competitive edge - without sacrificing quality.

Overview of areas in which the adhesive technique is already used for bodywork repair


Object Number: 2020534  Size: SH

Adhesive kit for bodywork repair in Service

We carry the adhesive kit for this purpose in the product range as anti-corrosion adhesive sealing system.

Adhesive kit content

Description

Colour

Container

Part no.

Catalogue number

Storage stability

--

--

--

--

--

(Best-before date is specified on the cartridge)

Anti-corrosion adhesive sealing system (kit)

Blue

310 ml (10,5 oz)

93 160 535

15 05 000

12 months

The anti-corrosion adhesive sealing kit contains a dual component epoxide adhesive.

After hardening, the adhesive has good resistance to tensile shearing, impacts and peeling. The adhesive can be welded with a resistance spot welding machine when wet (observe setting time).

It has excellent bonding properties with properly prepared, clean surfaces (body sheet metal, pre-treated aluminium).

Adhesive basis (Component A and component B):

Component A:

Epoxy resin, colour - blue

Component B:

Hardener (polymer amine), colour - white

Mixture ratio:

A : B = 2 : 1

General handling instructions

    • Observe Safety datasheet/Handling instructions for adhesive kit 93 160 535 / 15 05 000 (www.ifz-berlin.de).
    • Watch information on handling adhesive systems in videos VT-41 and VT 54.
    • Adhesive systems are to be bonded to:
       - Body sheet metal, ground to bare metal.
       - Primer of our metal Service parts, ground primer.
    • WARNING SIO
    • Depending on the installation tolerances of the assembly components, adhesive beads between 0.2 mm and 3 mm (0,007-0,11 in) can be adjusted.
    • Soldering and welding must be done at a safe distance of at least 50 mm (2 in) outside of the adhesive zone (to prevent the adhesive from catching fire or damage to the joint due to burnt adhesive).
    • When installing new body parts, such as taillamp corner inserts, apply the bead of adhesive (diameter - min. 4 mm) (0,2 in) to both the body flange and the new part.
    • For large components, such as the roof, apply the bead of adhesive (diameter - min. 6 mm) (0,2 in) to the new part.
    • Do not work with adhesive at temperatures is below  15 °C  (59°F).
    • Apply and work with the adhesive as quickly as possible.
    • The adhesive is compatible with Opel-approved sealing and painting material.
    • After application, the adhesive system can be handled for up to 2 hours  (at 23 °C)  (73,4°F) in order to join, handle, resistance spot weld or secure fixing rivets to sheet metal parts.

       Note: The higher the ambient temperature, the shorter the handling time.

    • The adhesive cartridge is intended for use in:
       - Manual guns
       - Cordless guns (with infinitely adjustable control)
       - Pneumatic guns (with mechanical plunger)

   Note:  Use of pneumatic guns without plunger could lead to the incorrect mixture of adhesive during application.

Before application, the adhesive components are mixed together in a static mixer in the emulsion tube. The second generation of static mixers, which can be screwed onto the cartridge, have considerable reduced the time needed for adhesive application (see data on time).

Increased durability and corrosion protection.

Better shielding and sealing of the bonded body flange.

    • Forced mixture of adhesive components in an emulsion tube before application (static mixer).
    • Increased durability and corrosion protection of joints.
    • Shielding and sealing of the bonded body flange.
    • Reduction of noise emission and vibrations.
    • Prevention of electrochemical corrosion.
    • Compatible with Opel/Vauxhall-approved sealants and paints.
    • Reduction of the number of spot welds on the joint flanges through use of adhesive as opposed to conventional resistance spot welding without adhesive.
       - On average, the spacing is 150 mm.
       - This spacing also applies when fixing with our special steel rivets.

Time studies were performed to determine the application rate with the adhesive and static mixer. The data in the table is based on application at 21 °C with a pneumatic gun - with mechanical plunger only.

 

Adhesive bead diameter

5 mm (0,2 in)

8 mm (0,3 in)

10 mm (0,4 in

Application time for 1 metre (3 ft)

1/2 minute

1 minute

1 1/2 minutes

Application time for 3 metres (10 ft)

1 minute

2 1/2 minutes

4 minutes

Application time for 5 metres (16 ft)

2 minutes

4 1/2 minutes

6 1/2 minutes

Application time for 7 metres (23 ft)

2 1/2 minutes

6 minutes

8 1/2 minutes

Aids in preventing use of incorrect adhesive mixture

    • Ensure there are equal levels of the two adhesive components (see handling instructions).
    • Note the colour of the adhesive mixture:
       - Light blue (homogeneous) Correct mixture - Continue procedure without interruption.
       - White or dark blue: Incorrect mixture - Remove applied material immediately.
    • Handling instructions
       - Application at room temperature -  21-23°C (70-73°F).
       - Below  15°C (59°F)application is difficult; the viscosity of the adhesive is too high.
       -  15-30°C (59-86°F) is the optimal range for handling.
       - Never heat the adhesive cartridge (heat gun) or place it in hot water.
    • Hardening of the mixed adhesive

Drying temperature:

Handling time of the attached body piece:

at 60 °C (140°F)

30 minutes

at 30 °C (86°F)

~ 1 hour

at 23 °C (73°F)

~ 2 hours

at 13 °C (55°F)

~ 4 to 8 hours

at 3 °C (37°F)

~ 16 to 32 hours

Adhesive kit content 93 160 535 / 15 05 000

1x

Adhesive cartridge with dual component adhesive

 

Component A (resin) ~ 122 ml (4 oz)

 

Component B (hardener) ~ 73 ml (2 oz)

3x

Static mixer, screwable (white)

1x

Cleaner ~ 100 ml (3 oz)

3x

Cleaning cloth (green)

3x

Drying cloth (blue)

1x

Handling instructions

1x

Kit packaging


Object Number: 2020535  Size: SH

Note: The cartridge gun is not included in the kit.

Application notes

Application devices

In the course of our studies, we focused on 3 types of guns for troublefree handing of adhesive:

    • Cordless guns - infinitely adjustable.
    • Manual guns.
    • Pneumatic guns - with mechanical plunger only.

Average adhesive bead length/cartridge capacity

The cartridge contents of anti-corrosion adhesive sealant kit 93160535 / 15 05 000 provide an adhesive bead that is about 3.50 m (11 ft) in length on average, depending on the bead thickness.

The cartridge contents of single-component window adhesive 93165025 / 15 04 815 provide an adhesive bead that is about 3.00 m (10 ft) in length on average, depending on the bead thickness.

Explanation of designations for joining techniques

1. "Seam form" field

2. "Seam quantity" field


Object Number: 2020536  Size: SH
  1. Resistance spot welding (e.g. 9 for quantity).
  2. Plug spot welding, gas-shielded arc welding (e.g. 9 for quantity) slot brazing, gas-shielded brazing (e.g. 9 for quantity).
  3. Quilting seam spot welding/spot brazing with sheet metal overlap, gas-shielded arc welding and gas-shielded brazing (e.g. 9 for quantity).
  4. Full seam, gas-shielded arc welding and gas-shielded brazing.
  5. Full seam, interrupted, gas-shielded arc welding (e.g. 9 for quantity).
  6. Structural metal adhesive (adhesive, part no. 93 160 535).
  7. Rivets (steel rivets, part no. 93 174 636, e.g. 9 for quantity).

3. "Seam length" field


Object Number: 2020537  Size: SH

Example for seam length:

  1. Seam length is always specified with measurement and unit (mm).
  2. The minimum seam length (lower limit) for appling a full seam is always to be set to 15 mm. (0,6 in).
  3. The following apples to plug welds:
  4. • Seam length is not applicable, i.e. the seam length is always matches the shape of the round hole or slot.
    • The hole must be completely filled, i.e. the seam must completely cover the hole.
    • In the event of top bead depression, rewelding is required (thickness of the seam).

4. "Joining method" field


Object Number: 2020538  Size: SH
  1. Resistance spot welding.
  2. MIG/MAG welding.
  3. Gas-shielded MIG brazing.
  4. Structural metal adhesive.
  5. Rivets.