GM Service Manual Online
For 1990-2009 cars only

Exhaust Heat Shield Replacement Diesel


Object Number: 2018752  Size: MF

Callout

Component Name

Preliminary Procedure

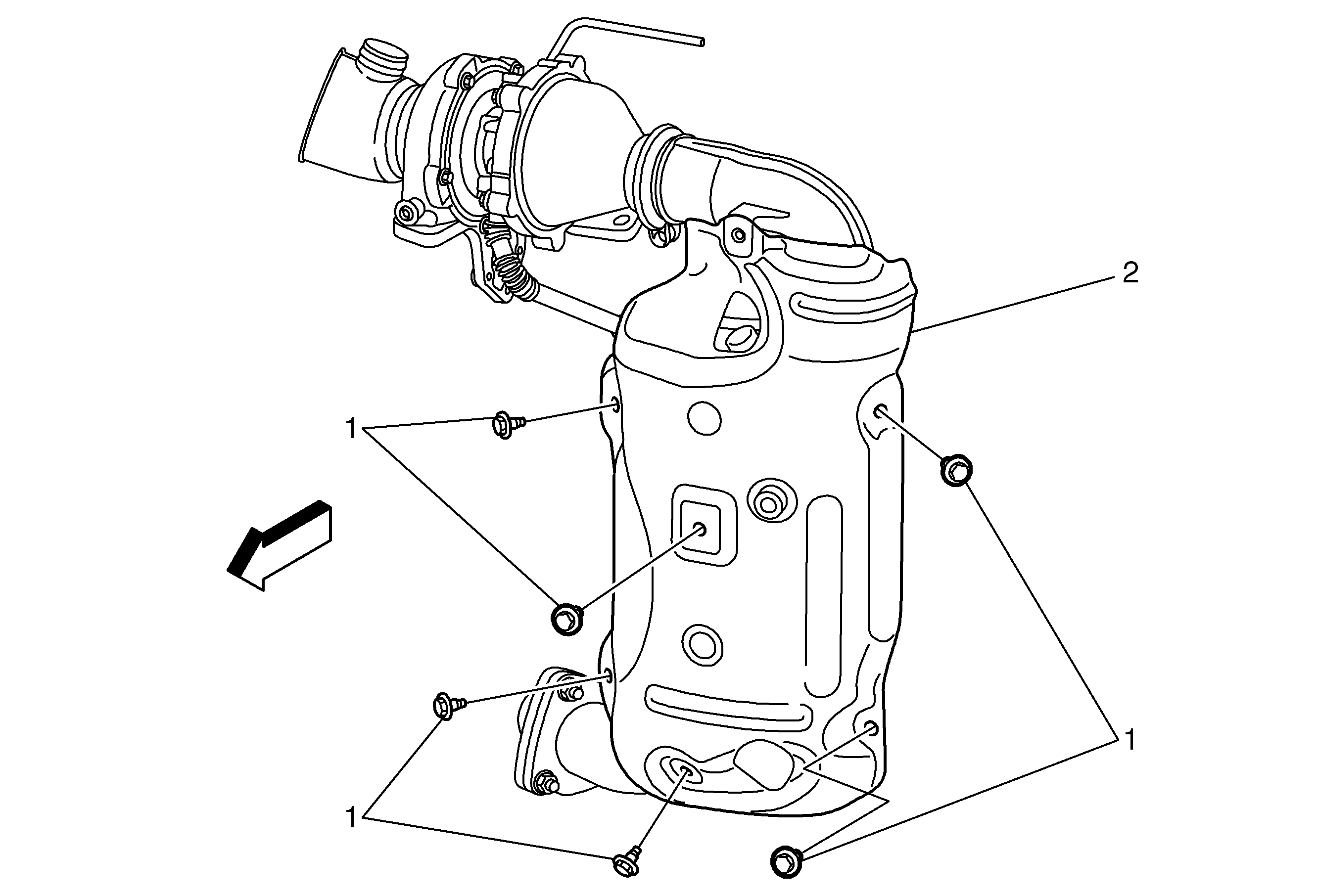
  1. Remove the exhaust manifold heat shield. Refer to Exhaust Manifold Heat Shield Replacement
  2. Remove position 1 exhaust temperature sensor. Refer to Exhaust Temperature Sensor Replacement - Position 1
  3. Remove heated oxygen sensor 1. Refer to Heated Oxygen Sensor 1 Replacement

1

Exhaust Heat Shield Fastener (Qty: 6)

Caution: Refer to Fastener Caution in the Preface section.

Tighten
9 N·m(77 lb in)

2

Exhaust Heat Shield

Exhaust Heat Shield Replacement LDE/A16XER, 2H0/A18XER


Object Number: 2018980  Size: SH

Callout

Component Name

Preliminary Procedure

Remove the exhaust system. Refer to Exhaust System Replacement.

1

Front Exhaust Heat Shield Fastener (Qty: 8)

Caution: Refer to Fastener Caution in the Preface section.

Tighten
1,5N·m (13 lb in)

2

Exhaust Heat Shield