GM Service Manual Online
For 1990-2009 cars only

Object Number: 2020283  Size: MF

Callout

Component Name

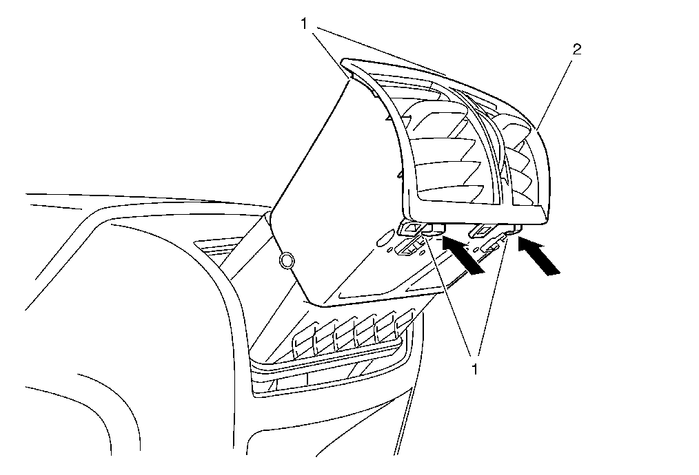
1

Front Floor Console Rear Air Outlet Deflector Housing Retainer (Qty: 4)

Tip
Use a flat-bladed plastic trim tool to release the rear air outlet deflector housing assembly from the front floor console.

2

Front Floor Console Rear Air Outlet Deflector Housing