GM Service Manual Online
For 1990-2009 cars only

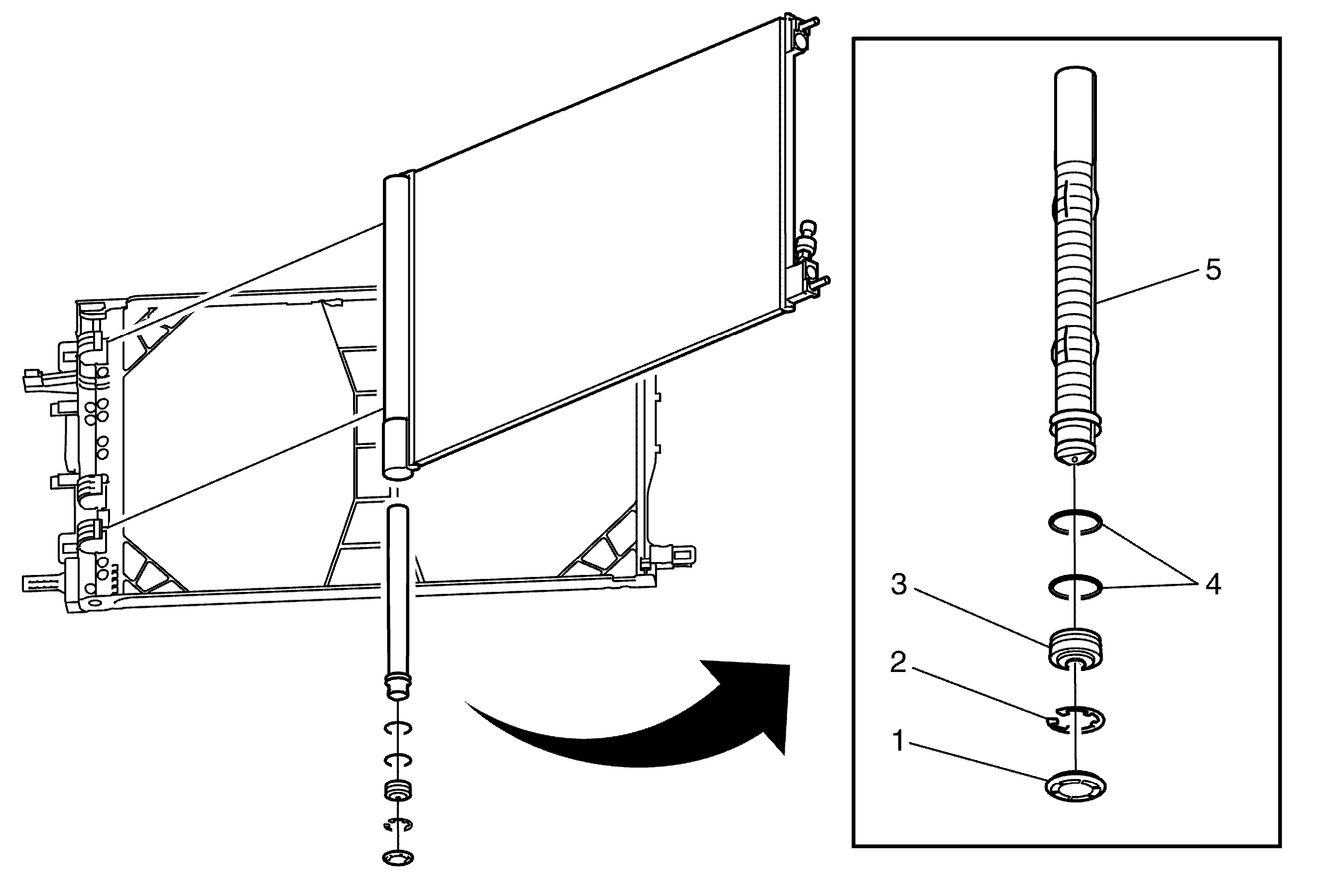
Object Number: 2018638  Size: MF

Callout

Component Name

Preliminary Procedures

Remove the air conditioning condenser. Refer to Air Conditioning Condenser Replacement.

1

Condenser Cap

2

Condenser Snap-Ring

Caution: Refer to Fastener Caution in the Preface section.

Procedure

Remove and discard the snap-ring.

3

Condenser Plug

4

Receiver Dehydrator O-Ring

Procedure

Remove and discard the O-rings.

5

Receiver Dehydrator Assembly