GM Service Manual Online
For 1990-2009 cars only

Engine Coolant Fan Shroud Replacement Diesel

Callout

Component Name

Procedure

Remove the fan shroud. Refer to Engine Coolant Fan Motor Replacement

Tip
To replace the fan shroud see operation Engine Coolant Fan Motor Replacement.

Engine Coolant Fan Shroud Replacement LBW/A28NET


Object Number: 2020315  Size: MF

Callout

Component Name

Preliminary Procedure

Remove the radiator. Refer to Radiator Replacement.

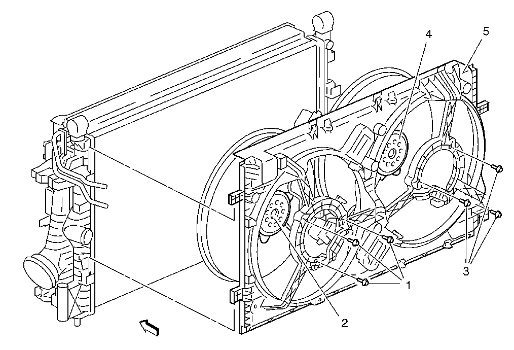
1

Engine Coolant Fan Motor Fastener (Qty: 3)

Procedure

Disconnect the electrical connector of the engine coolant fan motor.

Caution: Refer to Fastener Caution in the Preface section.

Tighten
X N·m (X lb ft)

2

Engine Coolant Fan Motor

3

Engine Coolant Fan Motor Fastener (Qty: 3)

Procedure

Disconnect the electrical connector of the engine coolant fan motor.

Tighten
X N·m (X lb ft)

4

Engine Coolant Fan Motor

5

Engine Coolant Fan Shroud

Engine Coolant Fan Shroud Replacement LDK/A20NHT


Object Number: 2020319  Size: MF

Callout

Component Name

Preliminary Procedure

Remove the radiator. Refer to Radiator Replacement.

1

Engine Coolant Fan Motor Fastener (Qty: 3)

Procedure

Disconnect the electrical connector of the engine coolant fan motor.

Caution: Refer to Fastener Caution in the Preface section.

2

Engine Coolant Fan Motor

3

Engine Coolant Fan Shroud