GM Service Manual Online
For 1990-2009 cars only

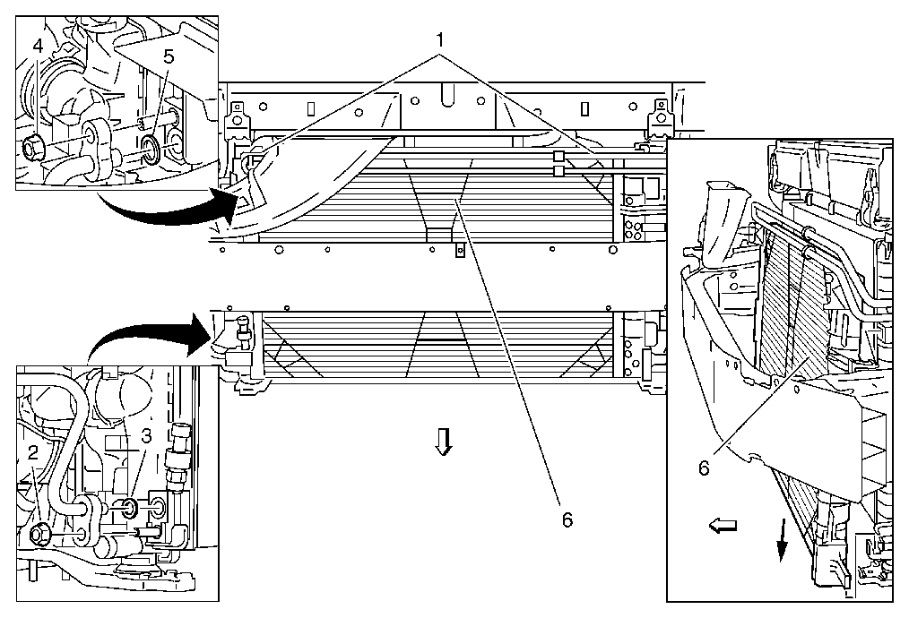
Air Conditioning Condenser Replacement LDE/A16XER, 2H0/A18XER


Object Number: 2020253  Size: MF

Callout

Component Name

Preliminary Procedures

  1. Recover the refrigerant. Refer to Refrigerant Recovery and Recharging.
  2. Remove the front bumper fascia assembly. Refer to Front Bumper Fascia Replacement.
  3. Disconnect the A/C Refrigerant Pressure Sensor electrical connector.

1

Power Steering Fluid Cooling Pipe

Procedure

Loosen the power steering fluid cooling pipe from the A/C Condenser Bracket and secure the pipe with cable strap.

2

A/C Evaporator Hose Fastener

Procedure

Remove the A/C Evaporator Hose from the A/C Condenser and cap hose.

Caution: Refer to Fastener Caution in the Preface section.

Tighten
20 N·m (15 lb ft)

3

Sealing Washer

Procedure

Remove and discard sealing washer. Refer to Sealing Washer Replacement.

4

A/C Compressor and Condenser Hose Fastener

Procedure

Remove the A/C Compressor and Condenser Hose from the A/C Condenser and cap hose.

Tighten
20 N·m (15 lb ft)

5

Sealing Washer

Procedure

Remove and discard sealing washer. Refer to Sealing Washer Replacement.

6

Air Conditioning Condenser Assembly

Procedure

Release both upper condenser support brackets.

Air Conditioning Condenser Replacement LBW/A28NET


Object Number: 2020250  Size: SH

Callout

Component Name

Preliminary Procedures

  1. Recover the refrigerant. Refer to Refrigerant Recovery and Recharging.
  2. Remove the front bumper fascia assembly. Refer to Front Bumper Fascia Replacement.
  3. Remove the Front Bumper Fascia Support - Right Side. Refer to Front Bumper Fascia Support Replacement.
  4. Remove the Air Cleaner Inlet Duct. Refer to Air Cleaner Inlet Duct Replacement.
  5. Disconnect the A/C Refrigerant Pressure Sensor electrical connector.

1

Front Intake Air Duct Splash Shield

2

Radiator Air Upper Baffle

3

Radiator Air Lower Baffle

4

A/C Evaporator Hose Fastener

Procedure

Remove the A/C Evaporator Hose from the A/C Condenser and cap hose.

Caution: Refer to Fastener Caution in the Preface section.

Tighten
20 N·m (15 lb ft)

5

Sealing Washer

Procedure

Remove and discard sealing washer. Refer to Sealing Washer Replacement.

6

A/C Compressor and Condenser Hose Fastener

Procedure

Remove the A/C Compressor and Condenser Hose from the A/C Condenser and cap hose.

Tighten
20 N·m (15 lb ft)

7

Sealing Washer

Procedure

Remove and discard sealing washer. Refer to Sealing Washer Replacement.

8

Air Conditioning Condenser Assembly

Procedure

Release both upper condenser support brackets.

Air Conditioning Condenser Replacement LDK/A20NHT


Object Number: 2020264  Size: SH

Callout

Component Name

Preliminary Procedures

  1. Recover the refrigerant. Refer to Refrigerant Recovery and Recharging.
  2. Remove the front bumper fascia assembly. Refer to Front Bumper Fascia Replacement.
  3. Remove the Front Bumper Fascia Support -Right Side. Refer to Front Bumper Fascia Support Replacement.
  4. Remove the Air Cleaner Inlet Duct. Refer to LINK 137478.
  5. Disconnect the A/C Refrigerant Pressure Sensor electrical connector.

1

Front Intake Air Duct Splash Shield

2

Radiator Air Upper Baffle

3

Radiator Air Lower Baffle

4

A/C Evaporator Hose Fastener

Procedure

Remove the A/C Evaporator Hose from the A/C Condenser and cap hose.

Caution: Refer to Fastener Caution in the Preface section.

Tighten
20 N·m (15 lb ft)

5

Sealing Washer

Procedure

Remove and discard sealing washer. Refer to Sealing Washer Replacement.

6

A/C Compressor and Condenser Hose Fastener

Procedure

Remove the A/C Compressor and Condenser Hose from the A/C Condenser and cap hose.

Tighten
20 N·m (15 lb ft)

7

Sealing Washer

Procedure

Remove and discard sealing washer. Refer to Sealing Washer Replacement.

8

Air Conditioning Condenser Assembly

Procedure

Release both upper condenser support brackets.

Air Conditioning Condenser Replacement Diesel


Object Number: 2018809  Size: MF

Callout

Component Name

Preliminary Procedures

  1. Recover the refrigerant. Refer to Refrigerant Recovery and Recharging
  2. Remove the front fascia. Refer to Front Bumper Fascia Replacement
  3. Remove the pressure sensor. Refer to Air Conditioning (A/C) Refrigerant Pressure Sensor Replacement

1

Liquid Line to Condenser Fasteners (Qty: 2)

Caution: Refer to Fastener Caution in the Preface section.

Tighten
22 N·m(16 lb ft)

2

Condenser Assembly Fasteners (Qty: 2)

3

Air Conditioning Condenser Assembly