GM Service Manual Online
For 1990-2009 cars only
Makes
🢒
Opel
🢒
2009
🢒
Insignia Wagon (Global Epsilon)
🢒
Engine
🢒
Engine Mechanical - 2.8L, 3.0L, 3.2L, or 3.6L
🢒 Crankshaft Rear Oil Seal and Housing Removal
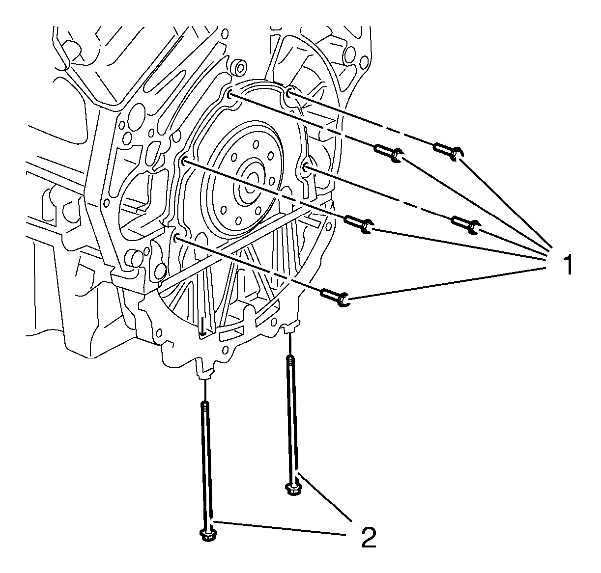
Remove the 5 crankshaft rear oil seal housing bolts (1).
Remove the 2 oil pan bolts (2).
Use the pry points located at the edge of the crankshaft rear oil seal housing to separate the RTV sealant.
Remove the crankshaft rear oil seal housing (1).