GM Service Manual Online
For 1990-2009 cars only

Special Tools

DT-8790982 Ring, Pinion Bearing

For equivalent regional tools, refer to Special Tools.


    Object Number: 2026488  Size: SH
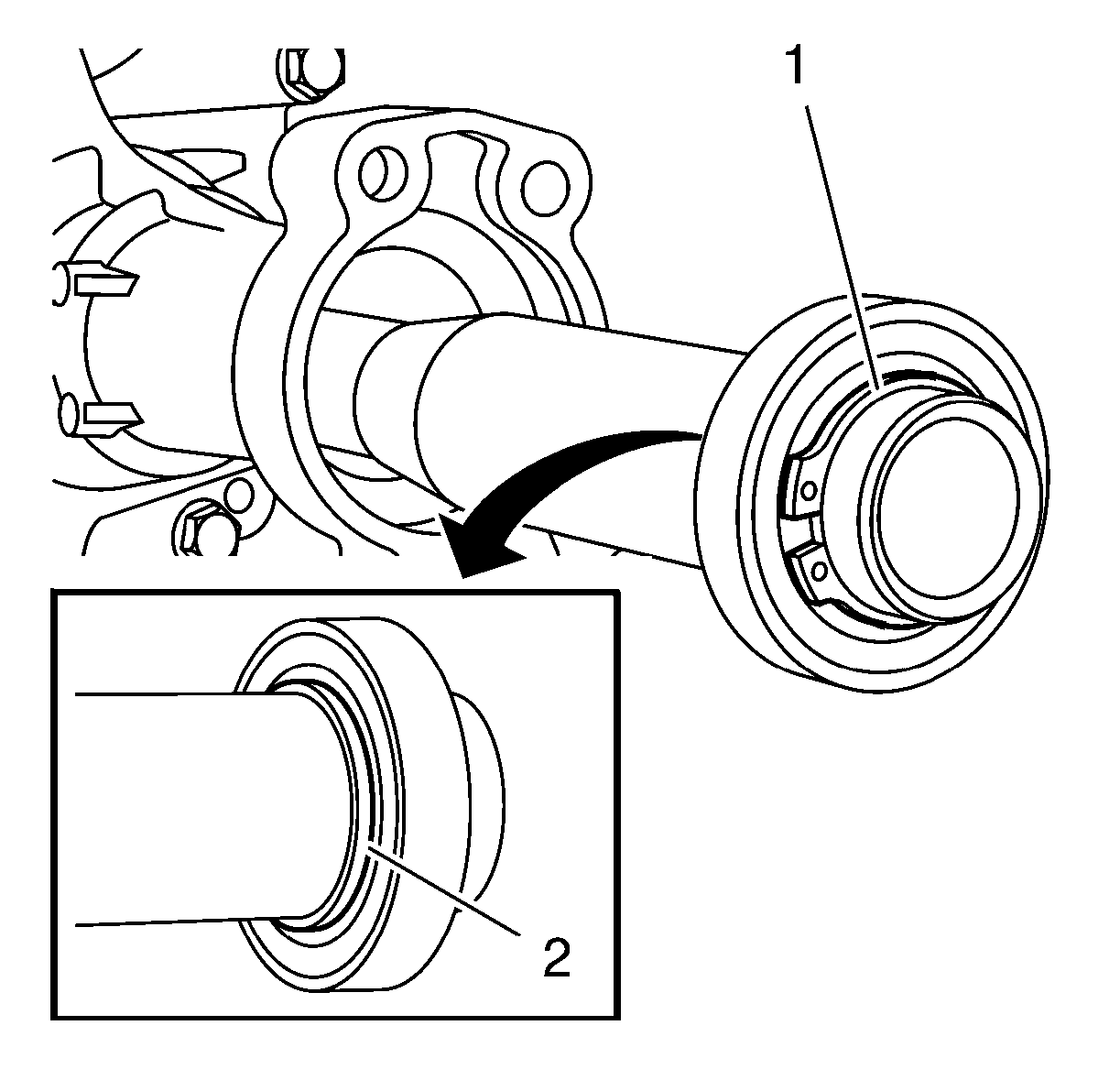
  1. Install the transfer case intermediate gear bearing retaining ring (2).
  2. Press on the intermediate gear bearing to the intermediate shaft, using DT-8790982 ring, pinion bearing and a hydraulic press.
  3. Install the transfer case intermediate gear bearing retaining ring (1).