GM Service Manual Online
For 1990-2009 cars only

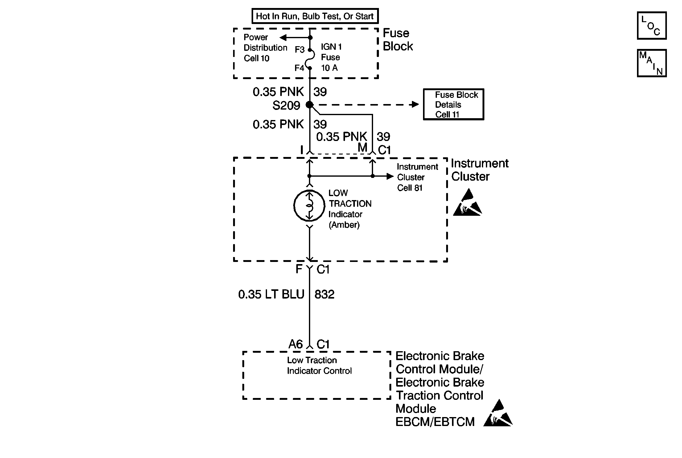
Object Number: 155196  Size: MF
ABS Components
Antilock Brake System Schematics

Circuit Description

DTC C1213 tests the state of the ABS (LOW TRACTION) active indicator. DTC C1213 identifies a situation in which the driver could not be warned of a low traction event by the ABS warning indicator or the ABS warning indicator is always on. The EBCM/EBTCM provides a ground through CKT 832 in order to turn the ABS warning indicator on. If the control line CKT 832 is open or shorted to voltage the ABS indicator will always remain off. If the control line CKT 832 is shorted to ground the ABS active indicator remains on when the ignition is in the RUN position.

This code will is use on basic ABS system and will not show up if vehicle is equipped with TCS (Traction Control System).

Conditions for Setting the DTC

DTC C1213 sets only during one of the following conditions:

    • The three second bulb check
    • The indicator turns on.

A malfunction exists if the EBCM/EBTCM cannot control the ABS active (LOW TRACTION) indicator for two seconds.

Action Taken When the DTC Sets

    • A malfunction DTC stores.
    • The ABS does not disable.

Conditions for Clearing the DTC

    • The condition responsible for setting the DTC no longer exists and the Scan Tool Clear DTC function is used.
    • 100 drive cycles pass with no DTC detected.

Diagnostic Aids

The following conditions may cause an intermittent malfunction:

    • A poor connection
    • Rubbed-through wire insulation
    • A broken wire inside the insulation

Use the Scan Tool Lamp Test function in order to command the indicator on while looking for an intermittent malfunction in the ABS active (LOW TRACTION) indicator circuitry.

Use the enhanced diagnostic function of the Scan Tool in order to measure the frequency of the malfunction. Refer to the Scan Tool manual or Scan Tool Diagnostics located in this section for the procedure.

Thoroughly inspect any circuitry that may be causing the intermittent complaint for the following conditions:

    • Backed out terminals
    • Improper mating
    • Improperly formed or damaged terminals
    • Poor terminal-to-wiring connections
    • Physical damage to the wiring harness

Important: Zero the J 39200 test leads before making any resistance measurements.

Step

Action

Value(s)

Yes

No

1

Was the Diagnostic System Check performed?

--

Go to Step 2

Go to Diagnostic System Check - ABS

2

  1. Turn the ignition switch to the OFF position.
  2. Install a Scan Tool .
  3. Turn the ignition switch to the RUN position (Do not start the engine).
  4. Select Special Functions on the Scan Tool .
  5. Select Lamp Test on the Scan Tool .
  6. Use the Scan Tool in order to turn ON and turn OFF the amber ABS warning indicator.

Can the ABS active indicator (LOW TRACTION) be turned on and off?

--

Go to Step 22

Go to Step 3

3

  1. Turn the ignition switch to the OFF position.
  2. Remove the Scan Tool
  3. Turn the ignition switch to the RUN position (Do not start the engine).

Does the ABS active indicator turn on and stay on?

--

Go to Step 4

Go to Step 7

4

  1. Turn the ignition switch to the OFF position.
  2. Disconnect the 24-way EBCM/EBTCM connector C1.
  3. Turn the ignition switch to the RUN position (Do not start the engine).

Does the ABS active indicator turn on?

--

Go to Step 17

Go to Step 5

5

  1. Turn the ignition switch to the OFF position.
  2. Inspect the 24-way EBCM/EBTCM connector C1 terminal A6 and then the remaining terminals for signs of the following conditions:
  3. • Damage
    • Poor terminal contact
    • Terminal corrosion

Are there signs of poor terminal contact, corrosion, or a damaged terminal?

--

Go to Step 18

Go to Step 6

6

  1. Reconnect the 24-way EBCM/EBTCM harness connector C1.
  2. Reconnect the instrument panel cluster harness connector C1, as needed.
  3. Install a Scan Tool
  4. Turn the ignition switch to the RUN position (Do not start the engine).
  5. Use the Scan Tool in order to read the DTCs.

Is DTC C1213 current?

--

Go to Step 21

Go to Diagnostic System Check - ABS

7

  1. Turn the ignition switch to the OFF position.
  2. Turn the ignition switch to the RUN position (Do not start the engine).
  3. Observe the ABS and/or the TCS indicators.

Do the ABS and or the TCS indicators turn on and then off?

--

Go to Step 8

Go to Step 12

8

  1. Turn the ignition switch to the OFF position.
  2. Disconnect the 24-way EBCM/EBTCM connector C1.
  3. Connect a fused jumper wire (such as a J 36169-A ) with a 3A Fuse between the EBCM/EBTCM harness connector C1 terminal A6 and ground.
  4. Turn the ignition switch to the RUN position (Do not start the engine).

Does the ABS active indicator turn on?

--

Go to Step 5

Go to Step 9

9

  1. Turn the ignition switch to the OFF position.
  2. Remove the jumper wire.
  3. Disconnect the instrument panel cluster harness connector C1.
  4. Use the J 39200 in order to measure the resistance between the 24-way EBCM/EBTCM harness connector C1 terminal A6 and the instrument panel cluster harness connector C1 terminal F.

Is the resistance within the specified range?

0-2ohms

Go to Step 10

Go to Step 19

10

  1. Turn the ignition switch to the RUN position (Do not start the engine).
  2. Use the J 39200 in order to measure the voltage between the 24-way EBCM/EBTCM harness connector C1 terminal A6 and ground.

Is any voltage present at the 24-way EBCM/EBTCM harness connector C1 terminal A6?

--

Go to Step 20

Go to Step 11

11

  1. Inspect the bulb.
  2. If the bulb is OK, replace the cluster.

Is the repair complete?

--

Go to Diagnostic System Check - ABS

--

12

  1. Turn the ignition switch to the OFF position.
  2. Remove the IGN 1 fuse (10A).
  3. Inspect the IGN 1 fuse (10A).

Is the IGN 1 fuse (10A) open?

--

Go to Step 13

Go to Step 15

13

Use the J 39200 in order to measure the resistance between terminal F4 and ground.

Is CKT 39 continuous to ground?

--

Go to Step 14

Go to Step 16

14

Repair the short to ground in CKT 39.

Is the repair complete?

--

Go to Step 16

--

15

Repair the open in CKT 39.

Is the repair complete?

--

Go to Diagnostic System Check - ABS

--

16

Replace the IGN 1 fuse (10A).

Is the repair complete?

--

Go to Diagnostic System Check - ABS

--

17

Repair the short to ground in CKT 832.

Is the repair complete?

--

Go to Diagnostic System Check - ABS

--

18

Repair the 24-way EBCM/EBTCM connector C1.

Is the repair complete?

--

Go to Diagnostic System Check - ABS

--

19

Repair the open or high resistance in CKT 832.

Is the repair complete?

--

Go to Diagnostic System Check - ABS

--

20

Repair the short to voltage in CKT 832.

Is the repair complete?

--

Go to Diagnostic System Check - ABS

--

21

Replace the EBCM/EBTCM.

Is the repair complete?

--

Go to Diagnostic System Check - ABS

--

22

The system is functioning properly at this time. The malfunction may be intermittent or is not present at the time of testing.

Is a concern still present?

--

Go to Diagnostic Aids

Go to Diagnostic System Check - ABS