GM Service Manual Online
For 1990-2009 cars only

Base Brake System

The brake systems use conventional braking under normal operating conditions. The following components are necessary for operation of conventional braking:

    • The brake pedal force
    • The vacuum booster
    • The compact master cylinder

The brake fluid flows through the following areas in order to reach the front wheels:

  1. The master cylinder
  2. The ABS hydraulic modulator
  3. The TCS hydraulic modulator

The brake fluid flows through the following areas in order to reach the rear wheels:

  1. The master cylinder
  2. The ABS hydraulic modulator

ABS Modulator Fluid Flow

Each front channel consists of the following components:

    • A motor
    • A solenoid
    • An ESB
    • A ball screw
    • A piston
    • A check valve

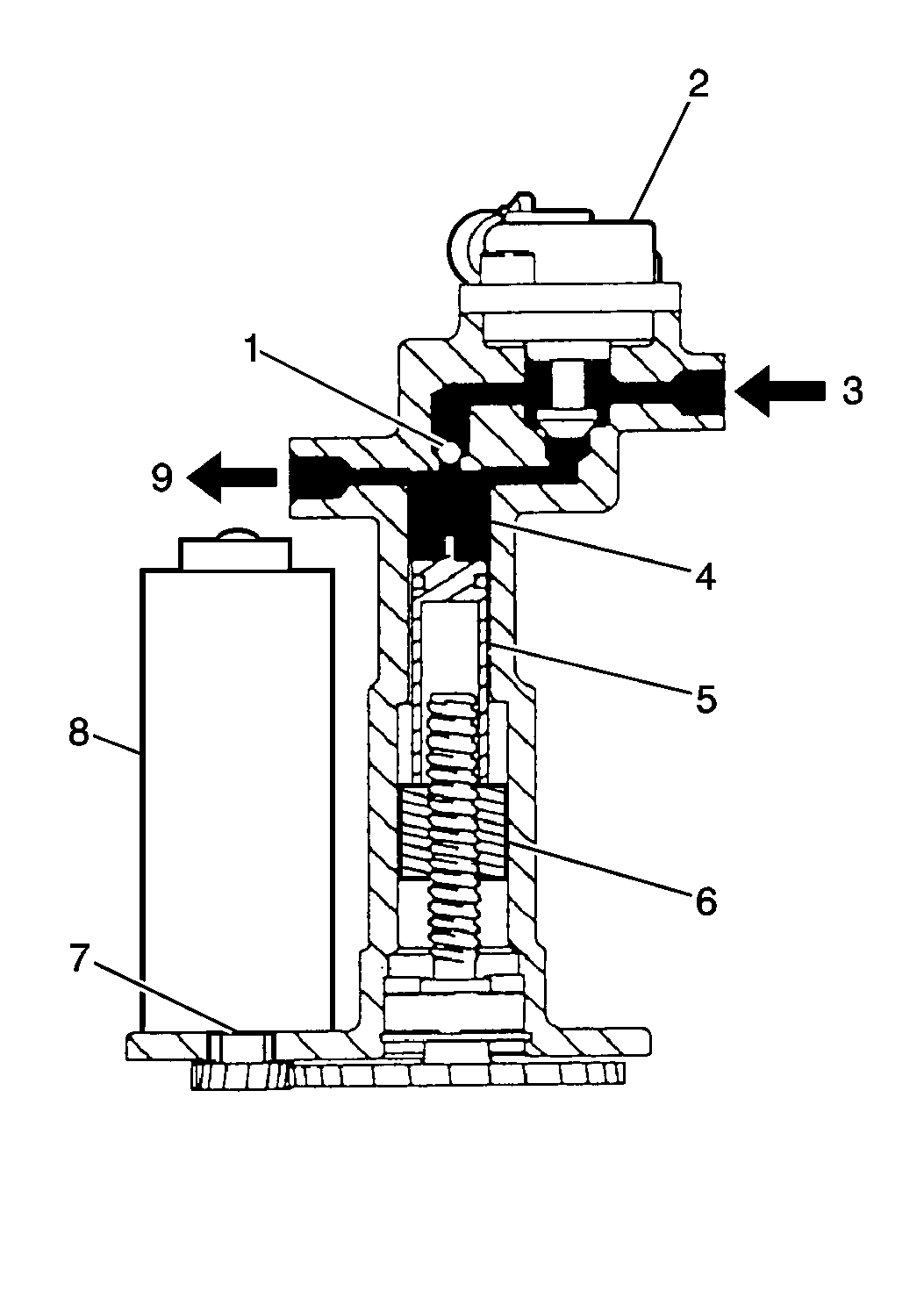
Front Base Braking Mode (Typical)


Object Number: 155178  Size: MH
(1)Check Valve Open
(2)Solenoid Valve Open
(3)Brake Pressure From Master Cylinder
(4)Piston
(5)Ball Screw Nut
(6)Ball Screw Spindle
(7)Expansion Spring Brake (ESB)
(8)Brake Motor Pack (ABS)
(9)Brake Pressure to Front Brake

The following conditions exist under normal operating conditions (base brakes):

    • The piston remains in the highest (home) position.
    • The solenoid remains open (not energized).

The following actions permit the above conditions to exist:

    • The motor turns the ball screw upward which then drives the nut upward.
    • The Expansion Spring Brake (ESB) holds the piston at the utmost position.

The two following paths permit transfer of braking pressure to the TCS modulator:

    • Through the modulator, around the check valve, and out to the TCS modulator
    • Through the modulator, past the normally open solenoid, and out to the TCS modulator

The solenoids in the front circuit provide an alternate brake pressure path to the TCS modulator. If the ABS loses power or malfunction with the ABS piston out of the ABS piston home position, a redundant brake path is available.

Rear ABS Braking Mode (Typical)


Object Number: 155181  Size: MH
(1)Check Valves Closed
(2)Modulated Pressure To Left Hand Rear Brake
(3)Piston Lowered
(4)Expansion Spring Brake (ESB)
(5)Motor Pinion
(6)Yoke On Ball Screw Drives Both Rear Circuit Pistons
(7)Modulation Chamber
(8)Modulated Pressure To Right Hand Rear Brake
(9)Inlet From Pressure Proportioning Valve Right Hand Rear
(10)Inlet From Pressure Proportioning Valve Left Hand Rear

The operation of the rear channels is similar to operation of the front channels except for the following differences:

    • No solenoid exists.
    • The fluid flows directly from the ABS modulator to the rear wheels.

TCS Modulator Fluid Flow

Each TCS channel consists of the following components:

    • A motor
    • A piston
    • A ball screw
    • A spring
    • A poppet valve

TCS Modulator Base Braking Mode (Typical)


Object Number: 155180  Size: MH
(1)Outlet Port (Not Shown) To Front Base Brake Calipers
(2)Inlet Port From ABS Modulator
(3)Poppet Valve (Unseated)
(4)Spring
(5)Piston
(6)Ball Screw
(7)Ball Screw Nut

The following conditions exist during normal operating conditions (base brakes):

    • The motor turns the ball screw.
    • Turning the ball screw drives the nut downward.
    • The piston remains in the downward (home) position.
    • The poppet valve remains unseated.

The brake fluid flows along the following path:

    • Through the inlet port of the TCS modulator
    • Past the unseated poppet valve
    • Through the outlet port of the TCS modulator
    • Out to the front calipers

There are no solenoids or ESBs within the TCS modulator.

Antilock Brake System (ABS)

The ABS VI improves the controllability and the steerability of a vehicle during braking. The ABS VI improves the controllability and steerability by controlling the hydraulic pressure that applies to each wheel brake.

Antilock braking occurs when the following conditions exist:

    • The brake switch closes.
    • A microprocessor (which is located in the EBCM/EBTCM) determines that one or more of the wheels is about to lose traction during braking.

When the above conditions exist, the EBCM/EBTCM allows the ABS brake modulator to change the brake pressure several times per second.

The above action causes the following conditions:

    • The wheels cannot lock.
    • The driver has maximum vehicle control.

The ABS VI cannot perform the following actions:

    • Increase the brake pressure above the master cylinder pressure that the driver applies
    • Apply the brakes by itself

The ABS VI provides the following conditions:

    • Greatly improved braking that enables the driver to maintain steerability and to bring the vehicle to a controlled stop.
    • Effective braking and directional control over a wide range of road surfaces and braking conditions.

If any wheel begin to approach lock-up, the EBCM/EBTCM will control the following components in order to control the brake pressure to the affected wheel:

    • The three motors
    • The two solenoids

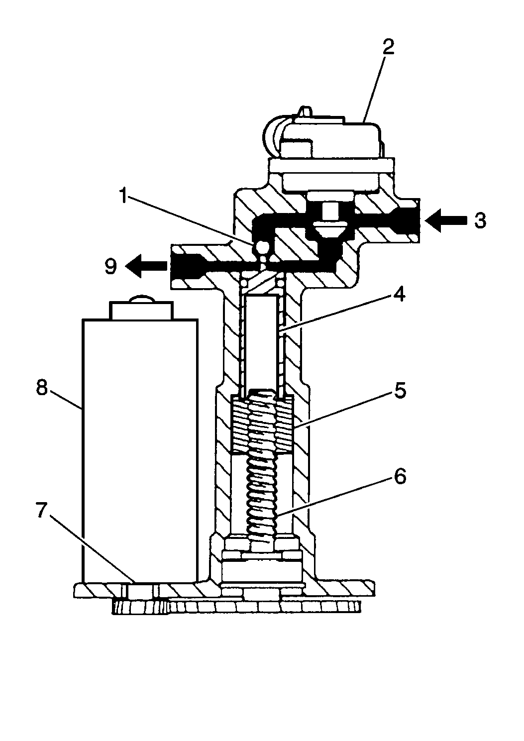
Front ABS Braking Mode (Typical)


Object Number: 155182  Size: MH
(1)Check Valve Closed
(2)Solenoid Valve Closed
(3)Brake Pressure From Brake Master Cylinder
(4)Modulation Chamber
(5)Piston In Modulation Position
(6)Ball Screw In Modulation Position
(7)Expansion Spring Brake
(8)Brake Motor Pack
(9)Brake Pressure To Front Brake

During front wheel ABS operation, the solenoids turn on in order to isolate the brake pressure to the affected wheel(s).

The EBCM/EBTCM then provides controlled current to the motors in order to regulate the following items:

    • The speed
    • The amount of movement

The following actions occur when the EBCM/EBTCM provides controlled current:

    • As the motors move backward, the piston follows the nut downward.
        The above condition permits seating of the check valve.
        The brake pressure to the wheel becomes a function of the controlled volume within the piston chamber.
    • The motor drives the nut further downward in order to reduce brake pressure.
    • The motor drives the nut and the piston upward in order to reapply or increase pressure.

Front Base Braking Mode (Typical)


Object Number: 155178  Size: MH
(1)Check Valve Open
(2)Solenoid Valve Open
(3)Brake Pressure From Master Cylinder
(4)Piston
(5)Ball Screw Nut
(6)Ball Screw Spindle
(7)Expansion Spring Brake (ESB)
(8)Brake Motor Pack (ABS)
(9)Brake Pressure to Front Brake

If ABS was entered during low brake pressure (such as on ice) and a dry surface is encountered during the reapply action, the piston drives all of the way to the top. Driving the piston to the top position causes the following conditions:

    • The check valve unseats.
    • The system returns to base brakes.
        Base brakes will be used until the brake pressure is high enough to cause the wheel to approach lock-up again. Then the ABS cycle will start again.
        The above process may occur in less than one second if the driver presses firmly on the brake pedal.

The total brake pressure during ABS must not exceed the brake pressure that was present when ABS was entered.

Reduced pressure on the brake pedal may cause the wheel brake pressure to exceed the brake pressure at the master cylinder. The following actions result when the above condition occurs:

    • The check valve unseats
    • A small amount of brake fluid is returns to the master cylinder.

The ABS VI cannot increase the brake pressure above the master cylinder pressure that the driver applies.

The ABS VI cannot apply the brakes by itself.

Front ABS Braking Mode (Typical)


Object Number: 155182  Size: MH
(1)Check Valve Closed
(2)Solenoid Valve Closed
(3)Brake Pressure From Brake Master Cylinder
(4)Modulation Chamber
(5)Piston In Modulation Position
(6)Ball Screw In Modulation Position
(7)Expansion Spring Brake
(8)Brake Motor Pack
(9)Brake Pressure To Front Brake

The following actions occur when the ABS is no longer required:

    • The pistons return to their upmost (home) position.
        The ESBs hold the pistons in place.
        Refer to ESB Operation.
    • The solenoids on the front channels simultaneously open. Simultaneous opening of the solenoids provides a redundant braking path.

Rear ABS Braking Mode (Typical)


Object Number: 155181  Size: MH
(1)Check Valves Closed
(2)Modulated Pressure To Left Hand Rear Brake
(3)Piston Lowered
(4)Expansion Spring Brake (ESB)
(5)Motor Pinion
(6)Yoke On Ball Screw Drives Both Rear Circuit Pistons
(7)Modulation Chamber
(8)Modulated Pressure To Right Hand Rear Brake
(9)Inlet From Pressure Proportioning Valve Right Hand Rear
(10)Inlet From Pressure Proportioning Valve Left Hand Rear

The operation of the rear channel is similar to operation of the front channels except for the following actions that exist in the rear channel:

    • No solenoid is used.
    • The same motor controls the pressure of both rear brakes.
    • The rear brake pressures are controlled together.
        If either of the rear wheels begins to lock, brake pressure to both wheels reduces. Reduced brake pressure maximizes vehicle stability.

No rear solenoid exists. The front brakes perform most of the braking.

If an ABS failure that affects the operation of the rear base brake occurs, the following actions will occur:

    • A diagnostic trouble code will store.
    • The EBCM/EBTCM will turn on the following indicators:
       - The amber ABS warning indicator
       - The red BRAKE warning indicator

Traction Control System (TCS)

The Traction Control System (TCS) is an add-on to the ABS VI Antilock Brake System. The TCS provides the capability to control the wheel spin at each driven wheel. Control of the wheel spin improves the ability to maintain vehicle stability and acceleration (drive traction) under the changing road and the vehicle load conditions.

Traction control occurs when the following conditions exist:

    • The EBCM/EBTCM determines that one or more of the drive wheels accelerates too rapidly.
    • The brake switch is not applied.

The EBCM/EBTCM processes the wheel speed sensor data and sends commands to the following components:

    • The Powertrain Control Module (PCM) in order to reduce torque.
    • The TCS modulator in order to apply and release the brakes several times per second.
        The above action reduces the driven wheel speed by a prescribed amount, which provides stability and traction.

The EBCM/EBTCM controls one or both of the TCS motors when the following conditions exist:

    • One or more of the wheels accelerate too rapidly.
    • The brake switch is not applied.

When the above conditions exist the EBCM/EBTCM controls one or both of the TCS motors in order to apply and release brake pressure to the affected wheel.

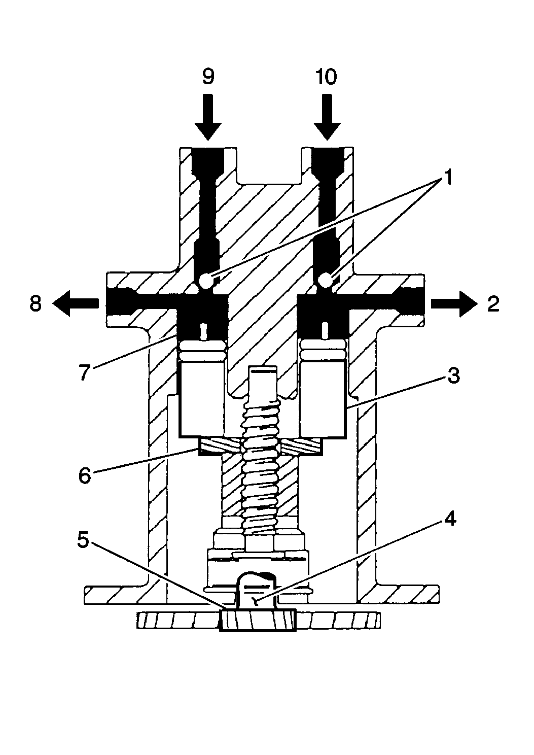
Traction Control Mode (Typical)


Object Number: 155183  Size: MH
(1)Inlet Port From ABS Modulator
(2)Outlet Port (Not Shown) To Front Base Brake Calipers
(3)Poppet Valve (Seated)
(4)Spring
(5)Piston
(6)Ball Screw Nut
(7)Ball Screw

During TCS operation the ball screws and the pistons drive upward from their home positions. The driving process seats the poppet valve which in turn isolates the master cylinder. When the above conditions exist the brake pressure to the wheel is a function of the controlled volume within the piston chamber. Bi-directional motors drive the ball screws and the pistons. Driving the ball screws and the pistons permits pressure to apply to, hold on, or release from the wheels.

The base brakes and the ABS take precedence over the TCS under all conditions. The TCS cannot be entered if the base brakes or the ABS are operating.

If the brake switch activates and calls for base brake operation or ABS operation during TCS operation, the TCS modulator assembly will automatically return the TCS ball screws and the pistons to their home positions.

The applied brake pressure from the master cylinder can overcome the poppet valve spring. Overcoming the poppet valve spring applies brake pressure to the wheels immediately, while the TCS ball screws and pistons return to their home positions.

The PCM portion of the traction control system uses the following controls:

    • The PCM fuel control
    • The PCM ignition control

The PCM uses the above controls in order to reduce engine torque. The reduction in torque limits slippage of the drive wheels during acceleration.

One or both of the following actions reduces the torque:

    • Retarding the spark timing
    • Turning off up to three of the fuel injectors

TCS Thermal Shut-Down Mode

The temperature of the brake lining may rise to a high temperature during prolonged TCS operation. Excessive temperatures may increase the rate at which the lining wears. The TCS system includes a brake thermal model. The brake thermal model estimates the brake temperatures during braking and TCS operation in order to prevent excessive brake lining wear.

The following actions will occur when the temperature becomes high:

    • The TCS system will disable before the brake linings become too hot.
    • The TCS indicator will turn ON.
    • The TCS will remain disabled until the brake linings cool to the proper temperature. When the brake linings are sufficiently cool, the TCS will automatically re-enable.

The TCS does not normally disable during a traction event. It will disable, however, if the TCS reaches the maximum temperature threshold.

TCS Inhibited Operation

The TCS will disable when any of the following conditions exists:

    • The TCS switch is in the OFF position.
    • The EBCM/EBTCM senses a valid brake switch input.
    • The park brake engages.
    • The catalytic converter temperature rises above the normal operating range.
    • The intake air temperature is outside of the operating range.
    • The TCS thermal shut-down mode is in effect.
    • The PCM sets a DTC that causes the CHECK ENGINE indicator to turn on.
    • The EBCM/EBTCM sets one of the following DTCs:
       - A wheel speed sensor DTC
       - The TCS DTC
       - DTC C1275 (Serial Data Communication link malfunction)

TCS Switch Operation

The operator of the vehicle can turn the TCS off and on with a momentary switch. The TCS switch is located on the instrumental panel and is identified as TCS.

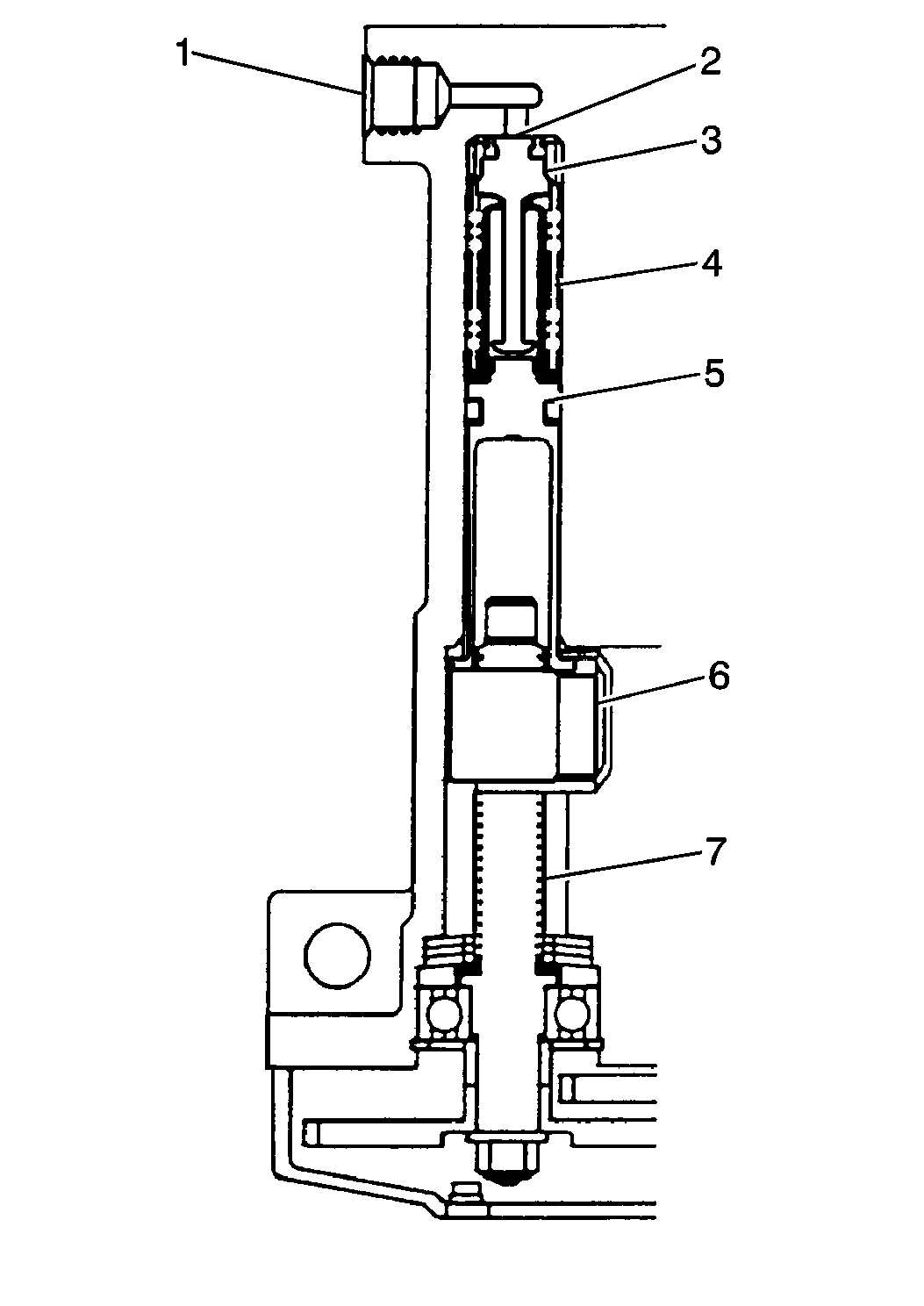
ESB Operation


Object Number: 155184  Size: MH
(1)Circlip
(2)Motor Pinon
(3)Pinion Drive Dog
(3)Pinion Drive Dog
(4)Expansion Spring Brake (ESB)
(4)Expansion Spring Brake (ESB)
(5)Motor Drive Dog
(5)Motor Drive Dog
(6)Motor Shaft
(7)Steel Sleeve
(8)Pinion Dog Expands Springs and Locks Against Sleeve
(9)Pinion Stopped From Turning Clockwise
(10)Motor Drive Dog Releases Spring Brake (Spring Leg Beneath Pinion Dog And Drives Pinion)
(11)Motor Drives Counter Clockwise
(12)Motor Drive Dog Releases
(13)Motor Drives Clockwise

The Expansion Spring Brake (ESB) holds the piston in the upmost (home) position of the piston.

An ESB is a spring that is retained in a housing at a close tolerance. One end of the spring touches the motor drive dog. The other end of the spring touches the pinion drive dog.

During normal braking, brake pressure exists at the top of the piston. The pressure applies a downward force. The downward force applies a counterclockwise torque to the motor pinion. The motor pinion tries to rotate the spring counterclockwise. The counterclockwise torque expands the spring outward within the housing. Outward expansion of the spring within the housing prevents gear rotation.

The following actions occur when the motor is on and tries to drive the ball screw nut:

    • The end of the ESB that touches the motor drive dog rotates inward.
    • The spring contracts in the spring housing.
    • The motor rotates the modulator gear.

The most common application of this principle is in window crank mechanisms. A small amount of force on the crank handle will cause the window to move upward or downward, but the weight of the window (or any pressure on the window) does not cause the window to move downward. In the ESB, the brake pressure at the top of the pistons corresponds to the weight of the window. The motor corresponds to the window crank handle.

System - Self Test (Initialization)

The EBCM/EBTCM performs self-diagnostics during initialization.

The EBCM/EBTCM also verifies correct operation of the following components during initialization:

    • The motor
    • The modulator
    • The solenoid
    • The relay
    • The indicators

The EBCM/EBTCM inspects the wheel speed sensor circuitry for the following conditions during initialization:

    • Open circuits
    • Shorts to the ground
    • Shorts to voltage

If the EBCM/EBTCM detects a malfunction in itself or in other ABS VI components, the EBCM/EBTCM will perform the following actions:

    • Stores a Diagnostic Trouble Code (DTC)
    • Turns on one or more of the following indicators, if applicable:
       - The amber ABS warning indicator
       - The TCS indicator
       - The red BRAKE warning indicator

The following indicators will remain on for approximately 3 seconds with the key in the RUN position:

    • The amber ABS warning indicator
    • The TCS indicator
    • The LOW TRACTION indicator
    • The red BRAKE warning indicator

The following indicators will turn on during cranking and remain on for approximately 3 seconds after the engine starts:

    • The amber ABS warning indicator
    • The TCS indicator
    • The LOW TRACTION indicator
    • The red BRAKE warning indicator

The initialization performs during engine cranking and engine starting. A slight mechanical noise may be heard during the system initialization. This noise is normal.

If the brake pedal depresses when the engine starts the system will not initialize. The system will initialize when one of the following actions occurs:

    • The pressure leaves the brake pedal
    • The vehicle attains a speed of 5 km/h (3 mph).

If brake pedal pressure interrupts the system initialization a slight movement in the brake pedal may exist.

Normal/Indicator System Operation

The standard brake system uses a single red BRAKE warning indicator, which is located in the instrument panel cluster.

The antilock brake system uses the following indicators:

    • The red BRAKE warning indicator
    • An amber ABS warning indicator
    • An amber ABS/TCS active indicator (LOW TRACTION)

The TCS uses the following indicators:

    • The red BRAKE warning indicator
    • An amber TCS indicator
        The TCS indicator is powered through a lamp driver module (LDM).
    • An amber LOW TRACTION indicator

The following indicators will turn on for approximately 3 seconds and then turn off when the ignition is turned to the RUN position:

    • The amber ABS warning indicator
    • The amber TCS indicator
    • The amber LOW TRACTION indicator
    • The red BRAKE warning indicator

The following components turn on and remain on while the engine cranks:

    • The amber ABS warning indicator
    • The amber TCS indicator
    • The amber LOW TRACTION indicator
    • The red BRAKE warning indicator

The following components will turn on for approximately 3 seconds after the engine starts:

    • The amber ABS warning indicator
    • The amber TCS indicator
    • The amber LOW TRACTION indicator
    • The red BRAKE warning indicator

Any time when the EBCM/EBTCM determines that the vehicle has entered a braking event that requires the ABS the amber LOW TRACTION indicator will turn on. The amber LOW TRACTION indicator turns on in order to indicate that the ABS is active. The amber LOW TRACTION indicator will remain on for approximately 3 to 4 seconds after the TCS event is completed.

Any time when the EBCM/EBTCM determines that the vehicle has entered an event that requires TCS, the amber LOW TRACTION indicator will turn on. The amber LOW TRACTION indicator turns on to indicate that TCS is active. The amber LOW TRACTION indicator will remain on for approximately 3 to 4 seconds after the TCS event is completed.

Refer to Warning Indicators in this section for further information about the operation of the following components:

    • The ABS warning indicator
    • The TCS indicator
    • The LOW TRACTION indicator
    • The BRAKE warning indicator

Tires and ABS/TCS

Spare Tire

The ABS/TCS will operate normally if the compact spare that is supplied with the vehicle is used. The EBCM/EBTCM software compensates for the smaller tire. However, increased stopping distances may be necessary because of the reduced tire contact area and tread depth on the compact spare tires.

If the compact spare tire is used on the front axle the TCS will cycle and limit acceleration for approximately the first 15 seconds of driving after each engine start. After this time the smaller tire will not affect the operation of the TCS.

Replacement Tires

Tire size is important for proper performance of the ABS VI/TCS.

All replacement tires should be of the same size load range and construction as the original tires.

Replace the tires in axle sets.

Make sure that all replacement tires have the same TPC (Tire Performance Criteria) specification number. The use of any other tire size or type may affect ABS operation.

Refer to in Suspension for more information.