GM Service Manual Online
For 1990-2009 cars only

Removal Procedure

  1. Remove the cruise control module from the mounting bracket. Refer to Cruise Control Module Replacement .

  2. Object Number: 388893  Size: MH
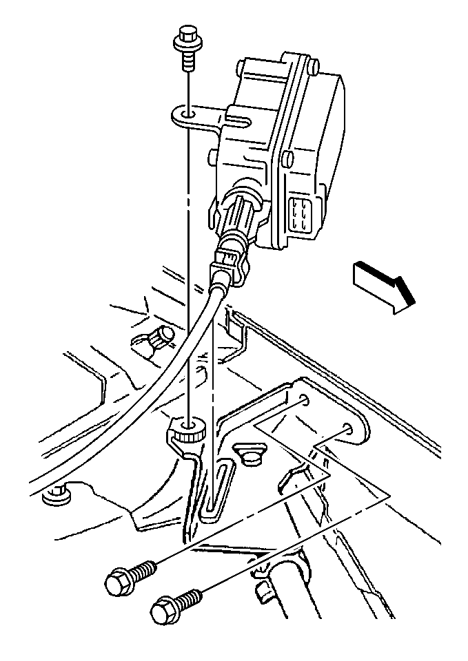
  3. Remove the inner fender bolts from the cruise control module mounting bracket.

  4. Object Number: 388892  Size: MH
  5. Perform the following steps in order to remove the mounting bracket:
  6. 3.1. Rotate the bracket up.
    3.2. Lift the bracket off of the upper diagonal brace.

Installation Procedure


    Object Number: 388892  Size: MH
  1. Perform the following steps in order to install the cruise control mounting bracket:
  2. 1.1. Push down on the upper diagonal brace.
    1.2. Rotate the bracket down, to the previously installed position.

    Notice: Use the correct fastener in the correct location. Replacement fasteners must be the correct part number for that application. Fasteners requiring replacement or fasteners requiring the use of thread locking compound or sealant are identified in the service procedure. Do not use paints, lubricants, or corrosion inhibitors on fasteners or fastener joint surfaces unless specified. These coatings affect fastener torque and joint clamping force and may damage the fastener. Use the correct tightening sequence and specifications when installing fasteners in order to avoid damage to parts and systems.


    Object Number: 388893  Size: MH
  3. Install the inner fender bolts to the cruise control mounting bracket.
  4. Tighten
    Tighten the bolts to 6 N·m (53 lb in).

  5. Install the cruise control module to the mounting bracket. Refer to Cruise Control Module Replacement .