GM Service Manual Online
For 1990-2009 cars only
Makes
🢒
Opel
🢒
1999
🢒
Sintra
🢒 Cell 10: EBCM, EBTCM, Battery
Cell 10: EBCM, EBTCM, Battery
Cell 10: EBCM, EBTCM, Battery
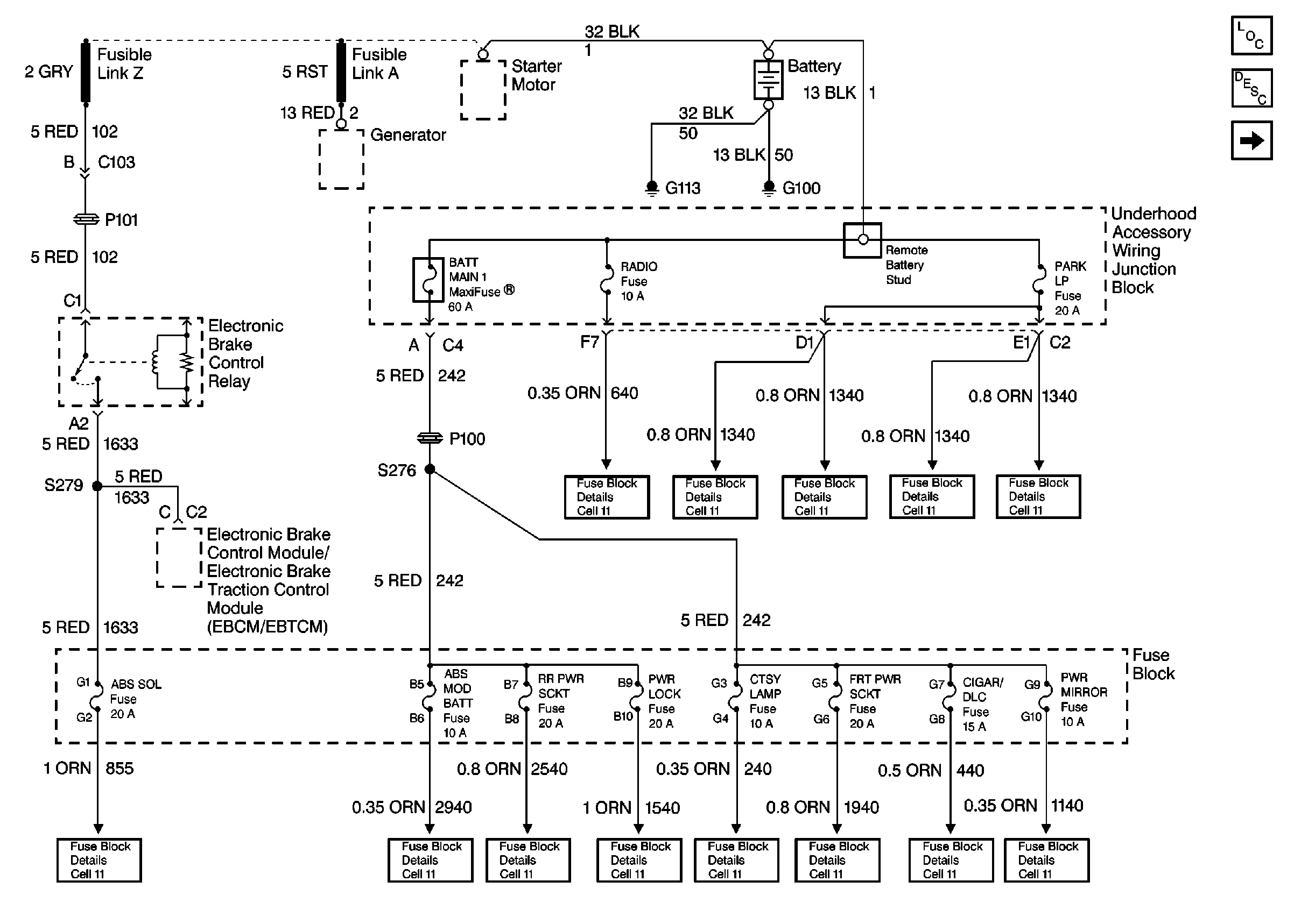
Power and Grounding Components
Cell 10: Fuse Block, Underhood Accessory Wiring Junction Block
Cell 11: ABS MOD BATT, Hazard, PWR Lock, RR PWR SCKT and Stop Lamp Fuses
Cell 11: ABS MOD BATT, Hazard, PWR Lock, RR PWR SCKT and Stop Lamp Fuses
Cell 11: ABS MOD BATT, Hazard, PWR Lock, RR PWR SCKT and Stop Lamp Fuses
Cell 11: Cigar/DLC, CTSY Lamp, ELC, FRT PWR SCKT, PWR Mirror and RR Defog Fuses
Cell 11: Cigar/DLC, CTSY Lamp, ELC, FRT PWR SCKT, PWR Mirror and RR Defog Fuses
Cell 11: Cigar/DLC, CTSY Lamp, ELC, FRT PWR SCKT, PWR Mirror and RR Defog Fuses
Cell 11: Cigar/DLC, CTSY Lamp, ELC, FRT PWR SCKT, PWR Mirror and RR Defog Fuses
Cell 11: ABS SOL, ELEC PRNDL, and SWC Backlight Fuses
Cell 11: UH: Radio Fuse
Cell 11: UH: ALT Sense, B/U Lamp, ECM Sense, Fog LP, Fuel Pump, Horn and Park LP Fuses
Cell 11: UH: ALT Sense, B/U Lamp, ECM Sense, Fog LP, Fuel Pump, Horn and Park LP Fuses
Cell 11: UH: ALT Sense, B/U Lamp, ECM Sense, Fog LP, Fuel Pump, Horn and Park LP Fuses
Cell 11: UH: ALT Sense, B/U Lamp, ECM Sense, Fog LP, Fuel Pump, Horn and Park LP Fuses